русс | укр

Языки программирования

ПаскальСиАссемблерJavaMatlabPhpHtmlJavaScriptCSSC#DelphiТурбо Пролог

Компьютерные сетиСистемное программное обеспечениеИнформационные технологииПрограммирование

Все о программировании


Linux Unix Алгоритмические языки Аналоговые и гибридные вычислительные устройства Архитектура микроконтроллеров Введение в разработку распределенных информационных систем Введение в численные методы Дискретная математика Информационное обслуживание пользователей Информация и моделирование в управлении производством Компьютерная графика Математическое и компьютерное моделирование Моделирование Нейрокомпьютеры Проектирование программ диагностики компьютерных систем и сетей Проектирование системных программ Системы счисления Теория статистики Теория оптимизации Уроки AutoCAD 3D Уроки базы данных Access Уроки Orcad Цифровые автоматы Шпаргалки по компьютеру Шпаргалки по программированию Экспертные системы Элементы теории информации

ПРОЕКЦИИ С ЧИСЛОВЫМИ ОТМЕТКАМИ. ТОЧКА, ПРЯМАЯ ЛИНИЯ.


Дата добавления: 2013-12-23; просмотров: 9620; Нарушение авторских прав


 

2.1. СУЩНОСТЬ МЕТОДА. ПРОЕКЦИИ ТОЧЕК НА ПЛАНЕ.

В прямоугольных проекциях изображенный предмет проецируют на две и более плоскостей проекций. Но если вертикальные размеры изображаемого предмета существенно невелики по сравнению с горизонтальными (длиной и шириной), то построение фронтальной проекции затруднено, а практическое ее использование неудобно. В таком случае пользуются особым методом построения изображений, называемым методом проекций с числовыми отметками. Наибольшее применение этот метод нашел в решении задач при горном и геологоразведочном производстве.

Сущность метода проекций с числовыми отметками заключается в следующем. Изображаемый предмет прямоугольно проецируют только на одну горизонтально расположенную плоскость проекций П0, называемую плоскостью нулевого уровня. На чертеже в этом случае отображаются только два его измерения: длина и ширина. Третье измерение – высота изображаемого предмета – выражается числами, определяющими расстояние от точек предмета до плоскости проекций. Условимся в дальнейшем эти числа называть числовыми отметками. Плоскость проекций П0, относительно которой ориентируют точки пространства, называют основной или плоскостью нулевого уровня. В решении географических, геодезических и геологических задач за такую плоскость принимают уровень воды моря и океана. В России все абсолютные высоты отсчитываются от нуля Кронштадтского футштока. Изображение в проекциях с числовыми отметками называется планом.

Для полного определения пространственного расположения изображенных на чертеже точек необходимо наличие масштаба (масштаб всегда указывается на чертеже) и указания линейной единицы, в которой выражены числовые отметки.

На рис.2.1, а изображены точки A, B и C. Основания перпендикуляров, опущенных из этих точек на плоскость П0, являются их проекциями на эту плоскость. Проекция каждой точки определяет две координаты точки в пространстве: по оси x и по оси y. Третья координата по оси z – высота точки – определяется числом. Точка A находится над П0 и отстоит от нее на расстояние 3 ед. длины. Точка B находится под плоскостью П0 на расстоянии 2 ед. длины. Эти числа указаны около проекций точек A и B. Числовые отметки точек, расположенных ниже плоскости П0 , имеют отрицательный знак (В-2). Точка C, принадлежащая плоскости нулевого уровня, имеет нулевую отметку (C0). На рис.2.1, б дан план, на котором показаны проекции точек A, B и C с их числовыми отметками.



Рис. 2.1

 

В решении практических задач геодезии, а также маркшейдерии возможен случай перехода от одной плоскости проекций к другой: новую плоскость проекций располагают параллельно П0, но выше или ниже ее (рис 2.2). Расположение точек в пространстве остается неизменным, поэтому положение их проекций не изменяется, изменяются только отметки точек. Если новую плоскость расположить выше первоначальной, то положительные отметки всех точек уменьшатся на n ед. (на рис 2.2 на 2 ед.), а отрицательные - увеличатся на n ед. (на рис 2.2 на 2 ед.). Если плоскость проекций расположить ниже, то отрицательные отметки всех точек уменьшатся на n ед., а положительные - увеличатся на n ед. (на рис 2.2 на 3 ед.). Числовая отметка, выражающая удаление точки от плоскости проекций, называется абсолютной, от произвольно взятой плоскости проекций – условной.

Рис. 2.2

 

2.2. КЛАССИФИКАЦИЯ ПРЯМЫХ И СПОСОБЫ ЗАДАНИЯ ПРЯМОЙ НА ПЛАНЕ.

 

В основу классификации прямых берут их расположение относительно плоскости проекций. Получают три вида прямых: наклонные, горизонтальные и вертикальные.

Наклонные прямые. Наклонная прямая m (рис. 2.3, а) не параллельна и не перпендикулярна к плоскости проекций и может быть определена: 1) двумя точками – m1В4), рис 2.3, б; 2) точкой B, направлением наклона (на плане показана стрелкой) и величиной угла наклона к плоскости проекций П0m4Ð400) (рис. 2.3., в). Определитель прямой условимся указывать в скобках.

Под определителем прямой будем понимать совокупность условий, необходимых и достаточных для ее одинакового задания. На рис. 2.3, б прямая m задана на плане двумя указанными способами.

Рис. 2.3

 

У наклонной прямой различают два направления: направление падения и противоположное ему направление восстания. Каждое из направлений с северным направлением меридиана составляет на плане угол, который носит название азимута. Угол b (азимут) отсчитывают по ходу часовой стрелки (рис. 2.3, в).

В горно-геологической практике, помимо перечисленных выше двух способов, используется задание прямой ее элементами залегания: точкой, азимутом падения и углом наклона прямой к плоскости проекций, который носит название угла падения прямой. Под азимутом падения понимают правый угол, составленный на плане северным направлением меридиана и направлением падения прямой. Определитель прямой записывается в следующем порядке (рис. 2.3): m4 аз. пад. СЗ 3280 Ð400). Кроме угловой величины азимута (для большей ясности) указывают и азимутальную четверть (СВ, ЮВ, ЮЗ, СЗ), в которой этот угол находится. На плане проекция отрезка наклонной прямой m меньше его наклонной длины: ½А1В4½<½АВ½.

Горизонтальная прямая. Прямая h (C2D2) параллельна плоскости проекций (рис. 2.4, а). Такую прямую называют горизонтальной. Горизонтальная прямая проходит через точки, расположенные на одной и той же высоте. Поэтому на чертеже (рис. 2.4, а) такую прямую можно задать проекцией с указанием высоты, на которой она проходит, - h2.

Рис. 2.4

У горизонтальной прямой различают два направления, которые носят название направлений простирания. На плане с северным направлением меридиан они составляют углы, которые называют азимутами простирания. Под азимутом простирания понимают правый угол, составленный на плане северным направлением меридиана и одним из направлений простирания прямой. Второе направление простирания образует азимут, величина которого больше первого на 1800. Определитель горизонтальной прямой записывается в следующем порядке: h (D2 аз. пр. ). Отрезок горизонтальной прямой проецируется без искажения: ½C2D2½=½CD½, так как a=00, cos00=1.

Вертикальная прямая. Прямая t (M1N4), перпендикулярная к основной плоскости проекций, показана на том же рис. 2.4, а. Такую прямую называют вертикальной. Проекция вертикальной прямой вырождается на плане в точку (рис. 2.4, б). Проекции точек M и N, принадлежащих вертикальной прямой, совпадают: M1ºN4. Точки, проекции которых на плане совпадают, называются конкурирующими.

Истинную длину отрезка вертикальной прямой можно определить аналитически как разность числовых отметок его концов: ½NM½=4-1=3 м.

 

2.3. ОПРЕДЕЛЕНИЕ ИСТИНОЙ ДЛИНЫ ОТРЕЗКА И УГЛА ПАДЕНИЯ ПРЯМОЙ.

 

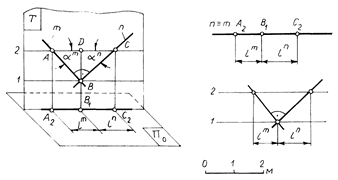
Истинную длину отрезка наклонной прямой n, а также угол ее падения можно определить построением ее профиля (рис. 2.5). Через прямую n проводят вспомогательную вертикальную плоскость T, которую в дальнейшем условимся называть плоскостью профиля прямой (рис. 2.5, а). Плоскость профиля совмещают с плоскостью чертежа наложением ее на свободное от построений место (рис. 2.5, б). Построенная проекция отрезка (профиль отрезка) равна его истинной длине. Угол a, составленный профилем отрезка и линией горизонта, является углом падения прямой n.

Рис. 2.5

 

Построение профиля прямой n сводится к построению ее вертикальной проекции и проводится в следующем порядке:

1) на свободном месте чертежа наносят линию вертикального масштаба (при решении метрических задач вертикальный масштаб берут равным горизонтальному - рис. 2.5, б);

2) на произвольно выбранном горизонте (в рассматриваемом примере на горизонте 0 метров) отмечают положение горизонтальных проекций заданных точек А и В, соблюдая равенство: ½А0В0½=½А1В3,5½. Точки А0 и В0 условимся в дальнейшем называть основаниями точек;

3) через основания точек проводят линии вертикальной связи до пересечения их с горизонтами 1 и 3,5 в точках А и В. Точки А и В определяют профиль прямой n. Угол a, составленный профилем прямой n и линией горизонта, определяет наклон прямой к плоскости проекций. Отрезок АВ определяет истинное расстояние между точками А и В.

В практике решения горно-геологических задач построенное изображение носит название профиля разреза, выполненного плоскостью T по направлению прямой n.

На рис. 2.6 дан пример построения профиля прямой d, заданной на плане точкой R, направлением падения и углом падения 30° (рис. 2.6, а). Построение профиля и в этом случае начинают с проведения масштабной вертикальной линии (рис. 2.6, б). На горизонте 4,5 метров отмечают точку R, через которую проводят профиль прямой d, пересекающий линию горизонта под углом 30°.

Рис. 2.6

 

По профилю прямой можно построить на плане проекцию точки С, принадлежащую прямой d и удаленной от точки R на расстояние 4,2 м, а также построить проекцию точки Е с заданной числовой отметкой. Решение задачи в первом случае:

1) на профиле прямой d, отложив от точки R длину 4,2 м, отмечают точку С;

2) определяют основание – С° и высотную отметку точки – 2,6 м;

3) строят проекцию точки C на плане, исходя из равенства:½R0C0½=½R4,5C2,6½.

Во втором случае проекцию точки с отметкой 3,5 м определяют проведением линии соответствующего горизонта до пересечения ее с профилем прямой в точке Е. Построив основание Е0, строят проекцию точки Е на плане: ½R0E0½=½R4,5E3,5½.

На рис. 2.7 рассматривается другой метод построения профиля прямой m, заданной на плане точками A и B. Вертикальную плоскость T (плоскость профиля прямой) вращением вокруг линии пересечения ее с плоскостью проекций совмещают с плоскостью чертежа (рис. 2.7, а). На плане построение профиля прямой проводят в следующем порядке: через точки А1 и В3 перпендикулярно к проекции прямой m проводят линии проекционных связей, на которых в масштабе плана откладываются высоты точек A и B. Точки 0 и 0 определяют профиль прямой m. Профиль отрезка равен его истинной длине ½½=½AB½ (рис. 2.7, б).

Рис. 2.7

 

Профиль прямой можно строить, совмещая плоскость T с любой горизонтальной плоскостью. В этом случае плоскость Т вращается вокруг линии пересечения ее с горизонтальной плоскостью П1. Решение задачи на плане сводится к построению прямоугольной трапеции , либо прямоугольного треугольника , один из катетов которого равен длине проекции отрезка, а второй – разности высот его концов.

 

2.4.УКЛОН И ЗАЛОЖЕНИЕ ПРЯМОЙ. ИНТЕРПОЛИРОВАНИЕ ПРЯМОЙ.

 

На рис. 2.8изображен отрезок прямой m, наклоненной к плоскости проекций под углом a. Однако наклон прямой к плоскости П0 может быть выражен не только величиной угла падения, но и другими величинами – уклоном, обозначаемым буквой i, а также заложением прямой, обозначаемым буквой l. Уклон прямой равен тангенсу угла падения

i = tga .

Если на чертеже требуется указать уклон, то он записывается над проекцией прямой в виде десятичной дроби. Если разность отметок точек А и В принять равной единице, то длину проекции отрезка ½АВ½ называют заложением прямой l

Разность числовых отметок двух точек наклонной прямой, приравненную к единице, условимся называть высотой сечения H. Таким образом, длина проекции отрезка прямой m, соответствующая заданной высоте сечения, называется заложением.

 

Рис. 2.8

Из сказанного следует, что уклон и заложение прямой являются величинами обратными друг другу: i = 1/l. Отложив на проекции прямой m в сторону падения и восстания отрезки, равные l, определяют точки D, C,…,отметки которых будут иметь постоянную высотную разность, равную 2м. Как видно из рис. 2.8, б, с увеличением угла a заложение прямой уменьшается и наоборот, am > an, но lm < ln; ld > ln; ad < an. У вертикальных прямых заложение равно 0, а у горизонтальных - ¥. Следовательно, уклон и заложение - величины, характеризующие пространственное расположение относительно плоскости П0 только наклонных прямых.

Определение на проекции прямой точек, отметки которых имеют постоянную разность, называют интерполированием (градуированием) прямой. Интерполирование прямой на плане сводится к определению заложения прямой, соответствующего заданной высоте сечения. Если прямая задана двумя точками, то длина отрезка, соединяющего их проекции, будет заложением прямой для высоты сечения, равной разности числовых отметок этих точек. Так, на рис. 2.9проекция отрезка АВ наклонной прямой n является заложением l, соответствующим высоте сечения 3 м. Пользуясь им можно строить проекции точек прямой, разность отметок у которых равна 3. При построении проекций точек, разность отметок у которых была бы равна другой величине, например 1 м, проекцию отрезка необходимо разделить на три равные части. Для этого через точку B8 под произвольным углом q к проекции отрезка проводят вспомогательную прямую, на которой откладывают три произвольных, но равных отрезка (разность числовых отметок точек А и В). Точку III соединяют с точкой А5 прямой линией. Из остальных точек проводят прямые, параллельные отрезку III - А5, до пересечения их с проекцией прямой n. Полученные точки пересечения и являются искомыми. Отрезок l¢ является заложением прямой n, соответствующим высоте сечения 1 м. На рис. 2.9 отрезки D2A5 и B8C11 также имеют заложение l = 3 м.

Рис. 2.9

 

На рис.2.10 дан другой способ интерполирования прямой m, заданной на плане точкой A и углом падения 30° (рис.2.10. а). Заложение прямой m определяют построением масштаба заложения, геометрическая сущность которого заключается в следующем:

1) с учетом масштаба плана проводят две горизонтальные прямые – горизонтали плоскости профиля Т, проходящей через данную прямую m. Расстояние между горизонталями должно соответствовать заданной высоте сечения; в данном случае его берут равным 1 м;

2) строят профиль прямой m, пересекающий горизонтали масштаба заложения под углом 30°. Отрезок l является заложением прямой m (рис.2.10, б). Отметки построенных точек на проекции прямой указывают с учетом направления ее падения.

Рис. 2.10

 

Этим способом можно интерполировать любую линию, в том числе и кривую, если представляется возможность построить ее профиль. На рис.2.11 дан пример интерполирования дуги окружности радиуса R, расположенной в вертикальной плоскости T (плоскость профиля кривой). Как и в случае с прямой линией,

Рис. 2.11

строят масштаб заложения кривой. Пересечение профиля n с горизонталями определяют на проекции кривой точки, разность отметок которых соответствует заданной высоте сечения – 1 м. Из рис.2.11 видно, что заложение не является постоянной величиной.

 

2.5. ВЗАИМНОЕ РАСПОЛОЖЕНИЕ ДВУХ ПРЯМЫХ ЛИНИЙ.

 

Различают три случая взаимного расположения двух прямых в пространстве: пересекающиеся, параллельные и скрещивающиеся.

Вопрос о взаимном расположении двух прямых сводится к определению или взаимного расположения их проекций, величин углов падения (заложений) и направлений падения, или взаимного расположения двух точек, принадлежащих данным прямым.

Пересекающиеся прямые. Пересекающиеся прямые имеют общую точку (рис.2.12). Следовательно, на плане проекции таких прямых пересекаются, причем точка пересечения имеет одинаковую отметку. Отметку общей для прямых точки определяют либо интерполированием прямых (рис.2.13), либо построением их профилей (рис.2.14).

Рис. 2.12

Рис. 2.13

Рис. 2.14

Решая задачу первым способом, построение выполняют в следующем порядке: прямую а интерполируют делением отрезка M4N8 на четыре равных части, а прямую в интерполируют с помощью масштаба заложений. Отметка искомой точки А и в одном, и в другом случаях равна 5,5 м, следовательно, точка А является общей для прямых a и b. На рис.2.14 дан другой способ решения задачи. Построив профиль прямых m и n, определяют отметку искомой точки С. В обоих случаях она равна 1,8 м. В целях сокращения количества построений плоскость профиля прямой m совмещают с плоскостью профиля прямой n. При построении профилей прямых расстояние между основаниями точек А и В берут произвольным. В решении графических задач рассмотренный вид построения профилей носит название сводного разреза.

Параллельные прямые. У параллельных прямых m и n углы падения равны (рис.2.15): Ðam = Ðan. Равенство углов определяет равенство заложений: lm = ln. Плоскость профиля прямой m параллельна плоскости профиля прямой n. Следовательно, у параллельных прямых проекции параллельны, заложения равны (углы падения равны), направления падения совпадают: пад.I, т. е. параллельные прямые имеют одинаковые элементы залегания.

Рис.2.15

Скрещивающиеся прямые. Прямые не пересекающиеся и не параллельные между собой, называются скрещивающимися. Возможны три случая расположения двух скрещивающихся прямых (рис.2.16):

1) проекции прямых m и n пересекаются, но точка пересечения имеет разные числовые отметки, она является проекцией конкурирующих точек А и В, расположенных на одном и том же проецирующем луче (рис.2.16, а);

2) проекции прямых а и b параллельны, но углы падения не равны: Ðaa ¹ Ðab; заложения также не равны: la ¹ lb (рис.2.16, б);

3) проекции прямых d и t параллельны, заложения равны, но направления падения не совпадают: пад.D(рис.2.16, в).

Рис. 2.16

 

На рис.2.17 взаимное расположение прямых m15Ð20°) и n12,5Ð35°) определяется построением профиля сводного разреза, из которого следует, что точка пересечения проекций прямых является проекцией двух различных точек пространства, через которые проходят прямые m и n. Высота точки С не равна высоте точки D. Следовательно, прямые m и n скрещиваются, причем прямая m проходит над прямой n. Отметим еще один признак, пользуясь которым можно отличать пересекающиеся прямые от скрещивающихся: прямые линии, соединяющие точки с одинаковыми отметками, и в случае пересекающихся прямых a и b взаимно параллельны (рис.2.18, а), в случае скрещивающихся прямых m и n не параллельны друг другу (рис.2.18, б).

Рис. 2.17

 

Взаимно перпендикулярные прямые. Линейный угол, образованный двумя пересекающимися прямыми, проецируется без искажения, если обе стороны угла параллельны плоскости проекций. Однако прямой угол проецируется без искажения и том случае, если только одна из его сторон параллельна плоскости проекций. На рис.2.19 изображен прямой угол АВС, стороны которого параллельны плоскости П0. Он проецируется без искажения, т. е. ÐА2В2С2 = ÐАВС. Отметим на проецирующем луче АА2 произвольную точку D и соединим ее с точкой В. Полученный угол DBC – тоже прямой, так как отрезок ВС перпендикулярен к плоскости АВВ2А2. Точки D и A лежат на одном перпендикуляре к плоскости П0,

Рис. 2.18

 

Рис.2.19

Рис. 2.20

 

следовательно, проекции углов ABC и DBC совпадут. Отсюда следует, что ÐD1B2C2 = ÐA2B2C2 = 900. Это свойство прямого угла дает возможность строить на плане проекции двух взаимно перпендикулярных прямых, одна из которых является горизонталью.

 
 

На рис.2.20 дан пример построения на плане проекций двух взаимно перпендикулярных прямых, лежащих в одной вертикальной плоскости T. Проекции прямых m и n на плане совпадают m º n. Сумма углов падения таких перпендикулярных прямых равна 900: Ðam + Ðan = 900. Заложение прямой m обратно пропорционально заложению прямой n: lm = H/ln. Это следует из прямоугольного треугольника ABC, в котором=; |BD|2=|AD|×|DC| = lm × ln. Если |BD| принять за единицу, соответствующую выбранной высоте сечения, то уравнение примет вид: 1 = lm × ln, откуда lm = 1/ln. Как видно из чертежа, падения у прямых m и n направленные в противоположные стороны: пад.D.

 



<== предыдущая лекция | следующая лекция ==>
ОСНОВНЫЕ ПОНЯТИЯ И МЕТОДЫ ПОСТРОЕНИЯ ИЗОБРАЖЕНИЙ НА ПЛОСКОСТИ | ПРОЕКЦИИ С ЧИСЛОВЫМИ ОТМЕТКАМИ. ПЛОСКОСТЬ.


Карта сайта Карта сайта укр


Уроки php mysql Программирование

Онлайн система счисления Калькулятор онлайн обычный Инженерный калькулятор онлайн Замена русских букв на английские для вебмастеров Замена русских букв на английские

Аппаратное и программное обеспечение Графика и компьютерная сфера Интегрированная геоинформационная система Интернет Компьютер Комплектующие компьютера Лекции Методы и средства измерений неэлектрических величин Обслуживание компьютерных и периферийных устройств Операционные системы Параллельное программирование Проектирование электронных средств Периферийные устройства Полезные ресурсы для программистов Программы для программистов Статьи для программистов Cтруктура и организация данных


 


Не нашли то, что искали? Google вам в помощь!

 
 

© life-prog.ru При использовании материалов прямая ссылка на сайт обязательна.

Генерация страницы за: 0.356 сек.