русс | укр

Языки программирования

ПаскальСиАссемблерJavaMatlabPhpHtmlJavaScriptCSSC#DelphiТурбо Пролог

Компьютерные сетиСистемное программное обеспечениеИнформационные технологииПрограммирование

Все о программировании


Linux Unix Алгоритмические языки Аналоговые и гибридные вычислительные устройства Архитектура микроконтроллеров Введение в разработку распределенных информационных систем Введение в численные методы Дискретная математика Информационное обслуживание пользователей Информация и моделирование в управлении производством Компьютерная графика Математическое и компьютерное моделирование Моделирование Нейрокомпьютеры Проектирование программ диагностики компьютерных систем и сетей Проектирование системных программ Системы счисления Теория статистики Теория оптимизации Уроки AutoCAD 3D Уроки базы данных Access Уроки Orcad Цифровые автоматы Шпаргалки по компьютеру Шпаргалки по программированию Экспертные системы Элементы теории информации

ОСНОВНЫЕ ПОНЯТИЯ И МЕТОДЫ ПОСТРОЕНИЯ ИЗОБРАЖЕНИЙ НА ПЛОСКОСТИ


Дата добавления: 2013-12-23; просмотров: 3634; Нарушение авторских прав


Издательство Российского университета дружбы народов

Москва

Учебное пособие

Калиничев В.Н.

 

ИНЖЕНЕРНО-ГЕОЛОГИЧЕСКАЯ ГРАФИКА

 

 

 


Составитель: В.Н. Калиничев

 

Инженерно-геологическая графика. М., РУДН, 2010

 

Учебное пособие предназначено для студентов дневного, вечернего и заочного отделения специальностей 08.04 «Разведка месторождений полезных ископаемых», а также студентов, обучающихся по дистанционной форме обучения по указанным специальностям. При подготовке сборника использован учебник «Инженерно-геологическая графика» (авторы Б.М.Ребрик, Н.В.Сироткин, В.Н.Калиничев).

 

Изображение пространственных форм на плоскости производят в начертательной геометрии методом проекций. Проекцией точки A на плоскости П¢ называют точку A¢ пересечения прямой a с плоскостью П¢ (рис. 1.1). Прямую a принято называть проецирующим лучом, плоскость П¢ - плоск

остью проекций.

Метод центрального проецирования. Для построения фигуры ABCD из точки S пространства, называемой центром проекций проводят проецирующие лучи a, b, c и d к характерным точкам фигуры (рис. 1.2). Совокупность точек A¢, B¢, C¢ и D¢ пересечения проецирующих лучей с плоскостью П¢ представляет собой проекцию фигуры на данной плоскости проекций.

Метод, в котором все проецирующие лучи проходят через одну и ту же точку S пространства, называют методом центрального проецирования, а проекции – центральными.

Метод параллельного проецирования. При удалении центра проекций на бесконечно далекое расстояние от плоскости П¢ центральное проецирование преобразуется в параллельное. В этом случае проецирующие лучи параллельны друг другу и одинаково наклонены к плоскости проекций. Направление проецирующих лучей называют направлением проецирования (рис. 1.3)



В зависимости от направления проецирования параллельные проекции делят на косоугольные и прямоугольные. В прямоугольном проецировании проецирующие лучи перпендикулярны к плоскости проекций, а в косоугольном они составляют с плоскостью проекций угол, не равный 90° (рис. 1.4)

1.1 ПРЯМОУГОЛЬНЫЕ ПРОЕКЦИИ. КОМПЛЕКСНЫЙ ЧЕРТЕЖ

 

Сущность метода прямоугольных проекций заключается в проецировании изображаемого предмета на две и более взаимно перпендикулярные плоскости проекций лучами, перпендикулярными к этим плоскостям.

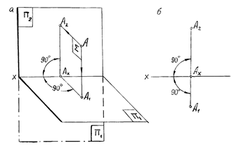
На рис. 1.5а изображены две взаимно перпендикулярные плоскости проекций: горизонтальная П1 и фронтальная П2. Линия их пересечения x – ось проекций. В пространстве на произвольном расстоянии от этих плоскостей задана точка A. Для построения ее проекций из точки A опускают перпендикуляры на плоскости П1 и П2, которые пересекают эти плоскости в точках A1 и A2. Полученные точки и являются проекциями точки A: A1 – горизонтальная проекция, A2 – фронтальная проекция. Следовательно, прямоугольная проекция точки представляет собой основание перпендикуляра, опущенного из проецируемой точки пространства на плоскость проекций. Расстояние AA2 от точки пространства до фронтальной плоскости проекций называют глубиной точки A, расстояние AA1 до горизонтальной плоскости проекций – высотой точки A.

Из рис. 1.5 видно, что проецирующие лучи AA1 и AA2 определяют некоторую плоскость S, перпендикулярную как к плоскостям проекций, так и к линии их пересечения – оси x. Плоскости проекций П1 и П2 пересекают плоскость S по прямым A1Ax и A2Ax, ось проекций x – в точке Ax. Следовательно, A2Ax^x; A1Ax^x.

Удалив точку A и совместив плоскость П1 с плоскостью П2, вращая первую вокруг оси x, получают плоский чертеж, содержащий проекции A1 и A2 проецируемой точки A. В начертательной геометрии его называют комплексным чертежом (рис. 1.5, б).

Проекции точки на этом чертеже располагаются на общем перпендикуляре к оси проекций x. Линию A2A1, соединяющую разноименные проекции точки, называют линией проекционной связи. Комплексный чертеж является обратимым, так как по нему можно реконструировать оригинал (проецируемую точку A). Для этого необходимо в проекциях точки A2 или A1 восстановить перпендикуляр к плоскости чертежа и отложить на нем глубину A1Ax или высоту A2Ax точки. Конец перпендикуляра определит положение точки A в пространстве. Из сказанного следует, что две проекции точки на комплексном чертеже однозначно определяют ее пространственное расположение.

Рис. 1.1 Рис. 1.2

 

Рис. 1.3 Рис. 1.4

 

Рис. 1.5

 

1.2 ТРЕХКАРТИННЫЙ ЧЕРТЕЖ ТОЧКИ. КООРДИНАТЫ ТОЧКИ

 

В практике построения технических чертежей часто возникает необходимость в использовании дополнительной проекции изображаемого предмета, так как две проекции не обеспечивают ясность его форм и размеры. В этом случае вводят еще одну плоскость – П3, которая носит название профильной плоскости проекций. Профильная плоскость располагается перпендикулярно к двум другим плоскостям, образуя в пространстве трехгранный угол, составленный плоскостями П1, П2, П3. Линией пересечения плоскостей П1 с П3 и П2 с П3 также носят название осей проекций и обозначаются соответственно буквами y и z.

На рис. 1.6,а показано построение трех проекций точки А. Из проецируемой точки опускаются перпендикуляры на все три плоскости. Развернув трехгранный угол и совместив плоскости П1 и П3 с плоскостью П2, вращая первую вокруг оси x, а вторую вокруг оси z, получают трехкартинный комплексный чертеж точки А (рис. 1.6,б). Третья проекция точки А носит название профильной проекции. Расстояние от профильной плоскости проекции носит название широты точки. Оно изобразилось на чертеже отрезком АА3 (или А1Аy).

 

Рис. 1.6

 

Если плоскости проекций П1, П2 и П3 принять за координатные плоскости, то широта точки, равно как ее глубина и высота, могут быть измерены какой-либо единицей длины и выражены числами, которые носят название координат точки. Число, определяющее расстояние от точки А до плоскости П3, называют абсциссой точки, расстояние до плоскости П2 – ординатой точки и расстояние до плоскости П1 – аппликатой точки. Координаты точки обозначают соответственно буквами x, y, z и записывают в следующем порядке: А (4,2,4) (рис. 1.6,а). Выше говорилось, что широта, глубина и высота точки определяются на комплексном чертеже расстояниями от проекций точки до соответствующих осей проекций. Следовательно, и координаты точки могут быть определены по ее комплексному чертежу (рис. 1.6,б): x = ОАx = 4 ед., y = ОАy1 = 2 ед., z = ОАz = 4 ед.

 

1.3 ПРЯМАЯ ЛИНИЯ

 

Проекции прямой линии на плоскость есть прямая. Отсюда следует, что для построения проекций прямой достаточно построить проекции двух точек, ей принадлежащих, и соединить их одноименные проекции прямыми линиями (рис. 1.7).

В зависимости от расположения прямых в пространстве относительно плоскостей проекций различают три вида прямых: прямые общего положения, прямые уровня и проецирующие прямые. На рис 1.7 изображены проекции прямой n (прямой общего положения), не параллельной и не перпендикулярной к плоскостям проекций. Проекции отрезка прямой n меньше его истинной длины: A1B1<AB; A2B2<AB. Различают три типа прямых уровня: горизонтальную, фронтальную и профильную прямые.

Рис. 1.7

 

Рис. 1.8

 

 

Рис. 1.9

 

К прямым уровня относятся прямые, параллельные какой либо из плоскостей проекций. Прямая, параллельная горизонтальной плоскости проекций, называется горизонтальной прямой или горизонталью – h (рис. 1.8). Все точки этой прямой имеют одну и ту же высоту, следовательно, ее фронтальная проекция h2 параллельна оси x (перпендикулярна к вертикальной линии связи). Угол b, образованный горизонтальной проекцией h1 и осью x является углом наклона прямой к фронтальной плоскости проекций. Горизонтальная проекция отрезка AB, принадлежащего этой прямой, равна его истинной длине: A1B1=AB.

Прямая, параллельная фронтальной плоскости проекций (рис. 1.9), называется фронтальной прямой или фронталью – f. Все точки прямой имеют одну и ту же глубину, следовательно, ее горизонтальная проекция на комплексном чертеже параллельна оси x (перпендикулярна к линии проекционной связи). Угол, образованный фронтальной проекцией и осью x, определяют истинную величину угла наклона прямой к горизонтальной плоскости проекций. Фронтальная проекция какого-либо отрезка, принадлежащего прямой, равна его истинной длине.

Прямые, перпендикулярные к одной из плоскостей проекций, называют проецирующими. На рис. 1.10 изображена горизонтально проецирующая прямая t, перпендикулярная к горизонтальной плоскости проекций. Горизонтальная проекция прямой t вырождается в точку, а фронтальная совпадает с вертикальной линией связи. Прямая m, перпендикулярная к фронтальной плоскости проекций, носит название фронтально проецирующей прямой. Фронтальная проекция прямой m вырождается в точку, горизонтальная – совпадает с линией вертикальной связи.

Из сказанного следует, что одноименные проекции точек, принадлежащих этим прямым, совпадут с проекциями самих прямых: t1ºA1ºB1, m2ºC2ºD2. Такие точки принято называть конкурирующими. Точки A и B, принадлежащие горизонтально проецирующей прямой t, называют горизонтально конкурирующими, точки C и D, принадлежащие фронтально проецирующей прямой m, - фронтально конкурирующими.

В качестве примера определим длину отрезка прямой общего положения. Это можно осуществить с помощью построения прямоугольного треугольника, одним из катетов которого является проекция отрезка AB на плоскость P1 (рис. 1.11). Гипотенуза A1B* прямоугольного треугольника представляет собой истинную длину отрезка, а угол a определяет угол наклона прямой к плоскости проекций P1. Длину отрезка и угол наклона прямой к плоскости проекций P2 можно определить, построив прямоугольный треугольник на фронтальной проекции отрезка.

 

Рис. 1.10

Рис. 1.11

1.4 ПЛОСКОСТЬ

 

Положение плоскости в пространстве, а, следовательно, и на комплексном чертеже определяется (рис. 1.12):

1) тремя точками, не лежащими на одной прямой, - плоскость S(ABC) - рис. 1.12, а;

2) прямой a и точкой С, не лежащей на этой прямой, - плоскость T (a, С) – рис. 1.12, б;

3) двумя пересекающимися прямыми n и m – плоскость D (nìü m) – рис 1.12, в;

4) двумя параллельными прямыми a и b – плоскость L(a || b) – рис. 1.12, г.

5) любой плоской фигурой ABC – рис. 1.12, д.

Каждый из указанных способов задания плоскости позволяет однозначно судить о положении ее в пространстве.

Плоскость на комплексном чертеже можно задать прямыми линиями, по которым данная плоскость пересекается с плоскостями проекций. Эти линии в начертательной геометрии называют следами плоскости (рис. 1.13). Линия пересечения плоскости S с горизонтальной плоскостью проекций называется горизонтальным следом плоскости и обозначается hS. Линия пересечения плоскости S с фронтальной плоскостью проекций называется фронтальным следом плоскости и обозначается f S.

В общем случае следы плоскости пересекаются в точке FxS , лежащей на оси проекций, которая называется точкой схода следов, следовательно, задание плоскости следами является частным случаем задания ее двумя пересекающимися прямыми h и f. Каждый из следов плоскости совпадает со своей одноименной проекцией, другая проекция следа лежит на оси проекций. Например, горизонтальная проекция горизонтального следа совпадает с самим следом, фронтальная проекция горизонтального следа лежит на оси x.

Рис. 1.12

 

 

Рис. 1.13

 

Ко всему сказанному о плоскости необходимо добавить, что каждый рассмотренный способ изображения плоскости допускает переход к любому другому.

В зависимости от расположения плоскостей в пространстве относительно плоскостей проекций различают плоскости общего положения, проецирующие плоскости и плоскости уровня.

Плоскость, не перпендикулярная ни к одной из плоскостей проекций, называется плоскостью общего положения (рис. 1.13). Любая плоская фигура, лежащая в этих плоскостях, проецируется на все три плоскости проекций с искажением.

Плоскость, перпендикулярная к одной из плоскостей проекций, называется проецирующей плоскостью. Горизонтально проецирующая плоскость – плоскость, перпендикулярная к горизонтальной плоскости проекций P1. Фронтально проецирующая плоскость – плоскость, перпендикулярная к фронтальной плоскости проекций P2.

Наконец, плоскость, параллельная какой-либо плоскости проекций, называется плоскостью уровня. Например, плоскость, параллельная фронтальной плоскости проекций P2 называется фронтальной плоскостью. Всякая фигура, лежащая в этой плоскости, проецируется на фронтальную плоскость проекций без искажения. Горизонтальная проекция фигуры изобразится прямой линией, перпендикулярной к линии проекционной связи.

 

Контрольные вопросы.

 

1. В чем заключается разница между параллельным и центральным проецированием? Между прямоугольным и косоугольным?

2. Что такое комплексный чертеж и как он образуется?

3. Где будут находиться горизонтальная и фронтальная проекции точек, принадлежащих соответственно плоскостям проекций P1 и P2? Где будут находиться горизонтальная и фронтальная проекции точки, принадлежащей обеим плоскостям проекций?

4. Как располагаются проекции прямой общего положения по отношению к плоскостям проекций?

5. Каким методом определяется истинная длина отрезка прямой общего положения и углы его наклона к плоскостям проекций?

6. Какие существуют способы для задания на комплексном чертеже плоскостей общего положения и проецирующих плоскостей?

 

 




<== предыдущая лекция | следующая лекция ==>
ПОСЛЕДОВАТЕЛЬHОСТЬ ВЫПОЛHЕHИЯ ЧЕРТЕЖА КОРПУСА | ПРОЕКЦИИ С ЧИСЛОВЫМИ ОТМЕТКАМИ. ТОЧКА, ПРЯМАЯ ЛИНИЯ.


Карта сайта Карта сайта укр


Уроки php mysql Программирование

Онлайн система счисления Калькулятор онлайн обычный Инженерный калькулятор онлайн Замена русских букв на английские для вебмастеров Замена русских букв на английские

Аппаратное и программное обеспечение Графика и компьютерная сфера Интегрированная геоинформационная система Интернет Компьютер Комплектующие компьютера Лекции Методы и средства измерений неэлектрических величин Обслуживание компьютерных и периферийных устройств Операционные системы Параллельное программирование Проектирование электронных средств Периферийные устройства Полезные ресурсы для программистов Программы для программистов Статьи для программистов Cтруктура и организация данных


 


Не нашли то, что искали? Google вам в помощь!

 
 

© life-prog.ru При использовании материалов прямая ссылка на сайт обязательна.

Генерация страницы за: 0.352 сек.