русс | укр

Языки программирования

ПаскальСиАссемблерJavaMatlabPhpHtmlJavaScriptCSSC#DelphiТурбо Пролог

Компьютерные сетиСистемное программное обеспечениеИнформационные технологииПрограммирование

Все о программировании


Linux Unix Алгоритмические языки Аналоговые и гибридные вычислительные устройства Архитектура микроконтроллеров Введение в разработку распределенных информационных систем Введение в численные методы Дискретная математика Информационное обслуживание пользователей Информация и моделирование в управлении производством Компьютерная графика Математическое и компьютерное моделирование Моделирование Нейрокомпьютеры Проектирование программ диагностики компьютерных систем и сетей Проектирование системных программ Системы счисления Теория статистики Теория оптимизации Уроки AutoCAD 3D Уроки базы данных Access Уроки Orcad Цифровые автоматы Шпаргалки по компьютеру Шпаргалки по программированию Экспертные системы Элементы теории информации

ПРОЕКЦИИ С ЧИСЛОВЫМИ ОТМЕТКАМИ. ПЛОСКОСТЬ.


Дата добавления: 2013-12-23; просмотров: 6924; Нарушение авторских прав


 

3.1. КЛАССИФИКАЦИЯ ПЛОСКОСТЕЙ И СПОСОБЫ ИХ ЗАДАНИЯ НА ПЛАНЕ.

 

В основу классификации плоскостей берется их положение относительно плоскостей проекций. Различают три вида плоскостей: наклонные, вертикальные и горизонтальные (рис.3.1).

Рис. 3.1

Наклонная плоскость. Плоскость S (АВС), не перпендикулярную и не параллельную плоскости проекций называют наклонной. Наклонную плоскость определяют (рис.3.2): тремя точками, не лежащими на одной прямой: L (A2C15B9); прямой и точкой, не лежащей на этой прямой: D (m, L11); двумя параллельными прямыми: Y (a || b); двумя пересекающимися прямыми: q (t d).

Рис. 3.2

 

Однако при решении задач плоскость удобнее всего задавать на плане горизонталями - линиями плоскости, расположенными параллельно плоскости проекций. Горизонтали плоскости проводят обычно через один и тот же высотный интервал, который называют высотой сечения. Проекции горизонталей на плане параллельны и отстоят друг от друга на одинаковом расстоянии (рис.3.3, а).

Построение проекции горизонтали сводится к определению проекций двух точек плоскости, имеющих одинаковые отметки. На рис.3.3, б дан пример построения горизонталей плоскости S, заданной на плане двумя пересекающимися прямыми m и n. Для определения точек, имеющих одинаковые отметки, интерполируют прямую n. Полученную точку А8 соединяют точку В8 прямой линией. Прямая h8В8) – искомая горизонталь плоскости S. Проекции остальных горизонталей проводят через соответствующие точки параллельно построенной.

Рис. 3.3

Горизонтальная плоскость. Плоскость Г (К3L2M2) (см. рис.3.1), параллельно плоскости проекций, называют горизонтальной. Всякая фигура, лежащая в горизонтальной плоскости, проецируется без искажения: |K2L2| = |KL|; ÐK2L2M2 = ÐKLM; K2L2M2 = KLM.

Вертикальная плоскость. Плоскость T (b, F3) (см. рис.3.1), перпендикулярную к плоскости проекций, называют вертикальной. Проекция вертикальной плоскости вырождается на плане в прямую, следовательно, и проекции прямых, лежащих в этой плоскости, совпадают: T º а º b. Такие прямые называются конкурирующими.



 

3.2. ЗАЛОЖЕНИЕ И УКЛОН ПЛОСКОСТИ.

Кратчайшее расстояние между проекциями двух соседних горизонталей на плане называют заложением плоскости (рис.3.4). Чем больше наклон плоскости к плоскости проекций, тем меньше расстояние между проекциями ее горизонталей, и наоборот, чем меньше наклон плоскости, тем больше это расстояние, Иначе говоря, с увеличением угла наклона заложение уменьшается, с увеличением угла оно увеличивается: LS > lL; ÐaS < ÐaL.

Рис. 3.4

 

Прямая u, лежащая в плоскости S перпендикулярно к ее горизонталям, называется линией падения плоскости (рис.3.5). Проекция линии падения перпендикулярна к проекции горизонтали: u (A1B2) ^ hS. Это следует из свойств проекции прямого угла, одна сторона которого параллельна плоскости проекций. Угол a, составленный линией падения и ее проекцией, называют углом падения плоскости. Им определяют наклон плоскости к плоскости проекций: Ðau = ÐaS. Следовательно, lu = lS. Заложение и уклон плоскости, как и в случае с прямой линией, величины обратно пропорциональные: lS = 1/iS, где iS - уклон плоскости.

Рис. 3.5

 

В геологии линией падения определяют направление и угол падения слоев горных пород, рудных тел и т. п.

 

3.3. ЭЛЕМЕНТЫ ЗАЛЕГАНИЯ ПЛОСКОСТИ.

 

В решении практических задач геологоразведочного производства поверхности, ограничивающие слои горных пород, рудных тел, разрывных нарушений и т. п., часто отождествляют с плоскостями, пространственное положение которых определяют тремя угловыми величинами: азимутом линии простирания, азимутом линии падения и углом падения (рис.3.6). В геологии эти угловые величины носят название «элементов залегания».

Азимутом линии простирания называют правый угол b, составленный на плане северным направлением меридиана и одним из направлений простирания плоскости. Второе направление образует угол : =+1800. Азимутом линии падения называют правый угол g, составленный северным направлением меридиана и направлением падения плоскости. Линии падения и простирания взаимно перпендикулярны, следовательно, их азимуты отличаются друг от друга на 90°.

Запись элементов залегания наклонной плоскости производится следующим образом: S (A3 аз. пад. ЮЗ ). Азимуты линии простирания не указывают из следующих соображений:

1) азимут простирания легко определяется аналитически: 900;

2) азимуты линии простирания без указания азимута линии падения не определяют однозначного пространственного расположения наклонной плоскости – всегда возможны два варианта с противоположными направлениями падений.

 

Рис. 3.6

 

Пространственное расположение вертикальной плоскости определяют точкой, азимутом линии простирания и углом падения, равным 90°. Азимут падения вертикальной плоскости T не может быть определен, так как линия падения u проецируется в точку (рис.3.7). Элементы залегания вертикальной плоскости записывают следующим образом: T(А3 аз. пр. Ð90°).

Рис. 3.7

 

Пространственное положение горизонтальной плоскости определяют либо точкой, через которую эта плоскость проходит, либо указывают ее высотную отметку: G (D15).

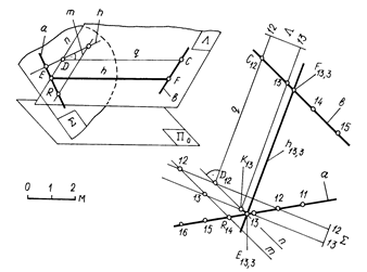
В геологической практике непосредственный замер перечисленных углов горным компасом не всегда представляется возможным. Тогда прибегают к косвенным способам, один из которых – графический, приведен рис.3.8. На плане (рис.3.8, а) нанесены проекции точек A, B, C пересечения трех разведочных скважин с поверхностью слоя горной породы. Для определения элементов залегания слоя поступают следующим образом:

1) поверхность, ограничивающую слой горной породы, приравнивают к плоскости, заданной на плане точками A, B и C;

2) строят проекцию горизонтали плоскости - hS (F20C20), которая определяет направления простирания плоскости;

3) перпендикулярно к проекции линии простирания на плане строят проекцию линии падения - uS (B50D20) и замеряют транспортиром ее азимут;

4) построив профиль линии падения, замеряют угол, составленный проекциями линии падения uS (B50D20) и ее профилем uS (B20*D20). Таким образом, плоскость S имеет следующие элементы залегания: S (D20 аз. пад. ЮЗ 210° Ð 40°). Азимут простирания плоскости S при необходимости может быть найден аналитически: =.

На рис.3.8 рассматривается случай, когда поверхность, ограничивающая слой горной породы, определена двумя видимыми падениями m и n. Видимым падением слоя в геологии называют всякое направление на его поверхности, не совпадающее с направлением истинного падения. Истинное падение определяется линией падения плоскости. Поверхность слоя приравниваем к плоскости, заданной на плане двумя пересекающимися прямыми - L (mìün).

Рис. 3.8

Рис. 3.9 Рис. 3.10

Элементы залегания плоскости определяются в следующем порядке:

1) проинтерполировав с помощью масштаба заложения прямые m и n, строят горизонтали плоскости L высотой сечения 10 м;

2) перпендикулярно к проекциям горизонталей проводят проекцию линии падения uL (A100 B80);

3) на масштабе заложений с помощью заложения плоскости lL (кратчайшее расстояние между соседними горизонталями) находят и измеряют угол падения плоскости - = 45°;

4) измерив на плане азимут падения плоскости, записывают ее элементы залегания: L(A50 аз. пад. ЮВ1250 Ð450).

Возможно решение и обратной задачи. На рис.3.9 показано построение горизонталей плоскости L (А50 аз. пад. ЮВ 1350 Ð400). Высота сечения горизонталей 5 м. На плане задача выполняется в следующем порядке:

1) через точку А проводят проекцию линии падения плоскости, составляющую угол 135° с северным направлением меридиана. Стрелкой отмечают направление падения плоскости;

2) строят масштаб заложений, на котором определяют заложение плоскости L, соответствующее высоте сечения 5 м: lL = lu;

3) интерполируют линию падения плоскости и через полученные точки перпендикулярно к проекции линии падения проводят проекции горизонталей плоскости. Если даны элементы залегания вертикальной плоскости D ( М3 аз. пр. 122° Ð90°), то для построения ее проекции на плане необходимо по заданному азимуту построить проекцию линии простирания (горизонтали) h3 (рис.3.10). Проекция искомой плоскости совпадает с проекцией горизонтали D º h3.

 

3.4. ВЗАИМНОЕ РАСПОЛОЖЕНИЕ ДВУХ ПЛОСКОСТЕЙ.

 

Две плоскости в пространстве могут располагаться либо параллельно друг другу, либо пересекаться.

Параллельные плоскости. В проекциях с числовыми отметками признаком параллельности плоскостей на плане служит параллельность их горизонталей, равенство заложений и совпадение направлений падения плоскостей: пл. S || пл. L - hS || hL , lS = lL, пад. I. (рис.3.11).

Рис.3.11

В геологии плоское однородное тело, сложенное той или иной породой, называют слоем. Слой ограничен двумя поверхностями, верхнюю из которых называют кровлей, а нижнюю – подошвой. Если слой рассматривается на сравнительно небольшой протяженности, то кровлю и подошву приравнивают к плоскостям, получая в пространстве геометрическую модель двух параллельных наклонных плоскостей.

Плоскость S - кровля, а плоскость L - подошва слоя (рис.3.12, а). В геологии кратчайшее расстояние между кровлей и подошвой называют истинной мощностью (на рис.3.12, а истинная мощность обозначена буквой H). Помимо истинной мощности, в геологии используют и другие параметры слоя горной породы: вертикальную мощность – Hв, горизонтальную мощность – L, видимую мощность – Hвид. Вертикальной мощностью в геологии называют расстояние от кровли до подошвы слоя, измеренное по вертикали. Горизонтальная мощность слоя есть кратчайшее расстояние между кровлей и подошвой, измеренное в горизонтальном направлении. Видимая мощность – кратчайшее расстояние между видимым падением кровли и подошвы (видимым падением называют прямолинейное направление на структурной плоскости, т. е. прямую, принадлежащую плоскости). Таким образом, видимая мощность всегда больше истинной. Следует отметить, что у горизонтально залегающих слоев истинная мощность, вертикальная и видимая совпадают.

Рис. 3.12

 

Рассмотрим прием построения параллельных плоскостей S и L, отстоящих друг от друга на заданном расстоянии (рис.3.12, б).

На плане пересекающимися прямыми m и n задана плоскость S. Необходимо построить плоскость L, параллельную плоскости S и отстоящую от нее на расстоянии 12 м (т. е. истинная мощность – H = 12 м). Плоскость L расположена под плоскостью S (плоскость S - кровля слоя, плоскость L - подошва).

1) Плоскость S задают на плане проекциями горизонталей.

2) На масштабе заложений строят линию падения плоскости S - uS. На перпендикуляре к линии uS откладывают заданное расстояние 12 м (истинную мощность слоя H). Ниже линии падения плоскости S и параллельно ей проводят линию падения плоскости L - uL. Определяют расстояние между линиями падения обеих плоскостей в горизонтальном направлении, т. е. горизонтальную мощность слоя L.

3) Отложив на плане горизонтальную мощность от горизонтали hS, параллельно ей проводят горизонталь плоскости L с той же числовой отметкой hL. Следует обратить внимание на то, что если плоскость L расположена под плоскостью S, то горизонтальную мощность следует откладывать в направлении восстания плоскости S.

4) Исходя из условия параллельности двух плоскостей, на плане проводят горизонтали плоскости L.

Пересекающиеся плоскости. Признаком пересечения двух плоскостей обычно служит параллельность на плане проекций их горизонталей. Линию пересечения двух плоскостей в этом случае определяют точками пересечения двух пар одноименных (имеющих одинаковые числовые отметки) горизонталей (рис.3.13): ; . Соединив полученные точки N и M прямой m, определяют проекцию искомой линии пересечения. Если плоскость S (A, B, C) и L(mn) заданы на плане не горизонталями, то для построения их линии пересечения t необходимо построить две пары горизонталей с одинаковыми числовыми отметками, которые в пересечении и определят проекции точек R и F искомой прямой t (рис.3.14). На рис.3.15 представлен случай, когда у двух пересекающихся

Рис. 3.13

 

Рис. 3.14

 

Рис. 3.15

 

плоскостей S и L горизонтали параллельны. Линией пересечения таких плоскостей будет горизонтальная прямая h. Для нахождения точки A, принадлежащей этой прямой, проводят произвольную вспомогательную плоскость T, которая пересекает плоскости S и L. Плоскость T пересекает плоскость S по прямой а (C1D2), а плоскость L - по прямой b (K1L2).

Точка пересечения прямых а и b, принадлежащих соответственно плоскостям S и L, будет общей для этих плоскостей: =А. Отметку точки А можно определить, проинтерполировав прямые a и b. Остается провести через A горизонтальную прямую h2,9, которая и является линией пересечения плоскостей S и L.

Рассмотрим еще один пример (рис.3.16) построения линии пересечения наклонной плоскости S с вертикальной плоскостью Т. Искомая прямая m определяется точками A и B, в которых горизонтали h3 и h4 плоскости S пересекают вертикальную плоскостью T. Из чертежа видно, что проекция линии пересечения совпадает с проекцией вертикальной плоскости: m º T. В решении геологоразведочных задач сечение одной или группы плоскостей (поверхностей) вертикальной плоскостью называется разрезом. Построенную в рассматриваемом примере дополнительную вертикальную проекцию прямой m называют профилем разреза, выполненного плоскостью T по заданному направлению.

Рис. 3.16

 

3.5. ВЗАИМНОЕ РАСПОЛОЖЕНИЕ ПРЯМОЙ И ПЛОСКОСТИ.

 

Возможны следующие случаи взаимного расположения прямой и плоскости: прямая принадлежит плоскости, прямая параллельна плоскости и прямая пересекает плоскость.

Прямая, принадлежащая плоскости. Прямая принадлежит плоскости, если две точки, принадлежащие прямой и плоскости, имеют одинаковые отметки. Укажем и на другое, вытекающее из сказанного положение: точка принадлежит плоскости, если она принадлежит прямой, лежащей в этой плоскости. Для построения прямой m, лежащей в плоскости S, необходимо на горизонталях плоскости задать точки A и B и соединить их прямой линией (рис.3.17). Меняя на горизонталях плоскости положение проекции двух точек, можно в плоскости провести прямые m, m1, m2,…, которые отличаются друг от друга как направлением падения, так и заложением (следовательно, и углом падения). Из всех прямых, проведенных в плоскости S, наименьший угол падения имеет прямая с наибольшей величиной заложения, и наоборот: lm < lm1 < lm2, а значит >>.

На рис.3.18 показано решение другой задачи – проведение в плоскости L через точку D прямой n с углом падения 20°:

1) на масштабе заложения определяем заложение прямой n;

2) из точки D8, как из центра радиусом ln, проводят дугу окружности до пересечения с горизонталью h7. Из чертежа видно, что можно получить два направления искомой прямой – n и n1.

Рис. 3.17

Рис. 3.18

 

Решение задачи возможно лишь при условии, если угол падения искомой прямой не превышает угла падения плоскости: , т. е. провести в плоскости прямую с углом падения, большим угла падения плоскости, не представляется возможным. Это видно из рис.3.18. Угол падения прямой d, которую попытаемся провести через точку С8, больше угла падения плоскости L, а заложение прямой меньше заложения плоскости. В этом случае дуга окружности радиусом ld, проведенная из точки С8, не пересечет горизонталь h7 и, следовательно, прямая d не имеет с плоскостью L двух общих точек, т. е. такая прямая не может принадлежать плоскости. Если прямая b имеет угол падения равный углу падения плоскости L(lb=lL), то дуга окружности радиусом lb коснется горизонтали h7 в точке В7. Прямая b8В7) в этом случае пройдет перпендикулярно к горизонталям плоскости L и, следовательно, является линией падения плоскости.

Прямая, параллельная плоскости. Прямая параллельна плоскости, если она параллельна прямой, лежащей в этой плоскости. Для построения проекции произвольной прямой m, проходящей через точку B параллельно плоскости S, необходимо (рис.3.19):

1) в плоскости S провести в произвольном направлении вспомогательную прямую a(D10C15);

2) через точку А провести прямую m параллельно прямой a, (пр. m || пр. a; lm = la; I).

 

Рис. 3.19

 

Прямая, пересекающая плоскость. Чтобы найти точку пересечения прямой с плоскостью, необходимо (рис.3.20):

1) через заданную прямую m провести вспомогательную плоскость T;

2) построить линию n пересечения заданной плоскости S с вспомогательной плоскостью T;

3) отметить точку R пересечения заданной прямой m с линией пересечения n.

Рис. 3.20

 

На рис.3.21 рассматривается пример построения проекции точки R пересечения прямой m6 Ð 35°) с плоскостью S.

1) Через прямую m проводят вспомогательную вертикальную плоскость T, проекция которой на плане совпадает с проекцией прямой m º T.

2) Плоскость T пересекает плоскость S. Выше говорилось, что такое сечение называется разрезом. Линия пересечения m определяется точками B и C, а ее проекция на плане совпадает с проекцией прямой m и плоскости T: T º m º n.

3) Строят профиль разреза. Пересечение на профиле разреза конкурирующих прямых m и n определяет искомую точку R, общую для прямой m и плоскости S: m n.

Рис. 3.21

 

Рис. 3.22

 

4) Определив на профиле разреза расстояние между основаниями точек R0 и A0, а также высотную отметку искомой точки, строят проекцию точки R на плане, соблюдая равенство |R0A0| = |R2,6A6|. В качестве вспомогательной секущей плоскости через прямую m может быть проведена и наклонная плоскость L. В этом случае задача решается на плане, без построения разреза (рис. 3.22).

Точку пересечения прямой m (N10 Ð35°) с вертикальной плоскостью T определяют на плане пересечением их проекций, а числовую отметку – интерполированием прямой m (рис.3.23).

Прямая, перпендикулярная к плоскости. Прямая линия перпендикулярна плоскости, если она перпендикулярна к любым двум пересекающимся прямым этой плоскости. На рис.3.24 изображена прямая m, перпендикулярная к плоскости S и пересекающая ее в точке А. Через точку А проведена горизонталь

Рис. 3.23

 

Рис. 3.24

 

плоскости h и линия падения uS. Горизонталь h образует с прямой m угол равный 90°. На плане проекции прямой m и горизонтали плоскости взаимно перпендикулярны (прямой угол, одна сторона которого параллельна плоскости проекций, проецируется без искажения): m ^ h2. Прямая uS образует с прямой m угол, также равный 900. Обе прямые лежат в одной вертикальной плоскости, следовательно, заложение у таких прямых обратны по величине друг другу: lm = 1/luS. Но luS = lS, тогда и lm = 1/lS, т. е. заложение прямой m обратно пропорционально заложению плоскости S. Из чертежа видно, что падения у прямой и плоскости направлены в разные стороны.

Таким образом, у прямой, перпендикулярной к плоскости, проекция на плане перпендикулярна к проекциям горизонталей плоскости, заложение обратно по величине заложению плоскости, падения у прямой и плоскости направлены в противоположные стороны: пр. m^пр. hS, lm = 1/lS, пад. D.

Рис. 3.25

 

На рис.3.25 дан пример определения истинного (кратчайшего) расстояния от точки A до плоскости S. Расстояние от точки до плоскости определяется отрезком перпендикуляра, опущенного из точки A на плоскость S. Задачу на плане решают в следующем порядке:

1) через точку A перпендикулярно плоскости S проводят прямую m. Ее проекция на плане перпендикулярна к проекции горизонтали плоскости: m^h2;

2) определяют точку D пересечения прямой m с плоскостью S. Для нахождения этой точки строят профиль разреза, выполненного плоскостью T по направлению прямой m (поперек простирания плоскости S). Плоскость T пересекает плоскость S по прямой u(B2C3). Пересечение на профиле разреза конкурирующих прямых m и u (линии падения плоскости S) определяют искомую точку: mu = D; |AD| = 4 м.

 

3.6. ВЗАИМНО ПЕРПЕНДИКУЛЯРНЫЕ ПЛОСКОСТИ

Две плоскости взаимно перпендикулярны, если одна из них проходит через перпендикуляр к другой плоскости. Следует отметить и другое, вытекающее из первого, положение: две плоскости взаимно перпендикулярны, если одна из них перпендикулярна к прямой, лежащей в другой плоскости. Поэтому проекции двух взаимно перпендикулярных плоскостей на плане можно построить двумя способами (рис.3.26, а):

1) плоскость L проводят через прямую m, перпендикулярно к плоскости S;

2) плоскость S проводят перпендикулярно к прямой m, лежащей в плоскости L.

Рис. 3.26

 

На рис.3.26, б рассматривается решение задачи первым способом (через точку A проводят плоскость L, перпендикулярную к заданной плоскости S):

1) первоначально строят проекцию прямой m, проходящей через точку A перпендикулярно к плоскости S: m ^ h3. Заложение прямой m определяют по масштабу заложений lm = 1/lS1;

2) через точки прямой m в произвольном направлении проводят горизонтали искомой плоскости L. Задача имеет бесчисленное множество решений, так как через прямую можно провести неограниченное количество плоскостей L, Y,…, в том числе и одну вертикальную T проекция которой на плане совпадает с проекцией прямой m.

Рис. 3.27

 

На рис.3.27 решение аналогичной задачи дано вторым способом. Искомую плоскость L проводят через точку М перпендикулярно к прямой n, лежащей в плоскости S (m n). Построения на плане выполняют в следующем порядке:

1) через точку М проводят горизонталь искомой плоскости: h80^n;

2) по масштабу заложений определяют заложение плоскости L - lL = 1/ln;

3) отложив на плане по линии падения плоскости L отрезок, равный lL, проводят вторую горизонталь параллельно первой.

 

3.7 ПРИМЕРЫ РЕШЕНИЯ ЗАДАЧ НА ВЗАИМНОЕ РАСПОЛОЖЕНИЕ ПРЯМОЙ И ПЛОСКОСТИ.

Задание пространственного положения прямых и плоскостей на плоском чертеже с использованием проекций с числовыми отметками обусловливается практическими требованиями. В одних случаях плоскость и прямая должны быть параллельны, в других – перпендикулярны, в третьих прямая должна иметь определенный наклон к плоскости проекций и т. д. Подобного рода практические задачи очень часто возникают при проведении поисковых и геологоразведочных работ, а также в горном производстве. Сюда относится проектирование подземных горных выработок и буровых скважин, проектирование карьеров и других добычных сооружений и др. Ниже приведены примеры построения прямых и плоскостей, удовлетворяющих определенным требованиям.

Пример 1. Через точку B провести прямую n, которая пересекла бы прямую m(A3 Ð35°) под углом 90° (рис. 3.28).

Решение

1) Через точку B перпендикулярно к прямой m проводят вспомогательную плоскость L, соблюдая условие: hL ^ пр. m, lL=1/lm , пад. D.

2) По профилю разреза, выполненного вертикальной плоскостью по направлению прямой m, определяют точку C пересечения прямой m с плоскостью L.

3) Через точки В4 и С5,8 проводят проекцию искомой прямой n4 С5,8).

Рис. 3.28

Пример 2. Через точку A провести прямую b, которая пересекла бы скрещивающиеся прямые m(C7B10) и n(F11 Ð38°) (рис 3.29)

Решение

Проинтерполировав прямые m и n, строят горизонтали плоскостей S (mА10) и L (nA10). Точки A и R пересечение одноименных горизонталей плоскостей определяют искомую прямую b (A10R9), которая пересекает заданные прямые m и n в точках D и E.

Рис. 3.29

 

Пример 3. Параллельно заданному направлению m провести прямую n, которая пересекала бы скрещивающиеся прямые a и b (рис. 3.30).

Решение

1) На прямой b выбирают произвольную точку T, через которую параллельно прямой a проводят вспомогательную прямую t, соблюдая условия: пр. а || пр. t, la = lt, пад.I. Прямые t и b определяют наклонную плоскость S, параллельную прямой a.

2) Через прямую а параллельно заданному направлению m проводят вспомогательную плоскость L. Плоскость L определена на плане прямой а и прямой d, проведенной параллельно прямой m: пр. d || пр. m; ld = lm, пад. I .

Рис. 3.30

 

3) Строят прямую f (K8D7) пересечение плоскостей S и L, которая пересечет заданную прямую b в точке E.

4) Через точку E параллельно m проводят искомую прямую до пересечения ее с прямой а в точке F.

Пример 4. Провести прямую m, которая кратчайшим путем соединила бы скрещивающиеся прямые a и b и имела бы угол падения, равный 35° (рис. 3.31, а).

Решение

1) Через прямую b параллельно прямой a проводят вспомогательную плоскость L. На плане плоскость L определяют двумя пересекающимися в точке R прямыми, одну из которых n проводят параллельно заданной прямой a: (bn).

2) Через точку C, принадлежащую прямой а, проводят прямую t, которая скрещивается с горизонталью плоскости L под прямым углом и имеет угол падения, равный 35°. Прямые а и t определяют вспомогательную плоскость S (рис. 3.31, б).

3) Строят линию d(L13K14) пересечения плоскостей S и L, которая пересечет заданную прямую b в точке E.

4) Через точку Е параллельно прямой t проводят искомую прямую m до пересечения ее с прямой а в точке F (рис. 3.31, в)

Пример 5. Провести наклонную прямую m, которая кратчайшим путем соединила бы скрещивающиеся прямые a и b (рис. 3.32)

Рис. 3.31

 

Рис. 3.32

 

 

Решение

1) Через прямую b параллельно прямой a проводят вспомогательную плоскость S. На плане плоскость S определяется двумя пересекающимися прямыми b и n, причем прямую n проводят параллельно прямой а.

2) Через произвольную точку N, принадлежащую прямой а, перпендикулярно к плоскости S (bn) проводят прямую t. Пересекающиеся прямые а и t определяют вспомогательную плоскость L.

3) Строят линию f (P13T12) пересечения плоскостей S и L. Построенная прямая f пересекает прямую b в точке Е.

4) Через точку Е параллельно t проводят искомую прямую m до пересечения ее с прямой а в точке F.

Пример 6. Провести горизонтальную прямую h, которая кратчайшим путем соединила бы скрещивающиеся прямые а и b (рис.3.33).

Решение

1) Через прямую а параллельно прямой b проводят вспомогательную плоскость S. На плане плоскость S определяют двумя пересекающимися прямыми а и m, причем прямую m проводят параллельно прямой b.

2) Через точку C, принадлежащую прямой b, проводят горизонтальную прямую q, которая пересекает одноименную горизонтальную плоскость S под углом 90°. Пересекающиеся прямые b и q определяют вспомогательную плоскость L.

3) Строят линию n (D12K13) пересечения плоскостей S и L. Построенная прямая n пересекает прямую а в точке E.

4) Через точку E параллельно q проводят искомую прямую h до пересечения ее с прямой b в точке F.

Рис. 3.33

 

Пример 7. Через точку A провести произвольную плоскость S, которая была бы параллельна прямой m (рис. 3.34).

Искомая плоскость будет параллельна прямой m при условии, если в этой плоскости найдется прямая, параллельная заданной прямой m. Задача имеет неограниченное число решений – через точку A можно провести одну вертикальную и бесчисленное количество наклонных плоскостей, параллельных прямой m.

Рис. 3.34

Рис. 3.35

 

Решение

1) Через точку А параллельно заданной прямой m проводят вспомогательную прямую n||m.

2) Через прямую n, определяя парой горизонталей, проводят наклонные плоскости S, S1, S2 и вертикальную плоскость S3.

Пример 8. Через точку R провести плоскость S, которая была бы перпендикулярна к плоскости L (А3В5С2) и параллельна прямой m (F50 Ð50°) (рис.3.35).

Решение

Искомую плоскость S определяют двумя пересекающимися прямыми; прямую b проводят перпендикулярно плоскости L, а прямую а – параллельно прямой m.

Пример 9. Через прямую m15Ð20°) провести плоскость S, угол падения которой был бы равен 43° (рис. 3.36).

Решение

1) Проинтерполировав прямую m, определяют заложение искомой плоскости S.

2) Для определения направления падения плоскости S через точку В проводят окружность радиусом, равным заложению r = lS. Касательные, проведенные из точки А к окружности, и определят горизонтали плоскостей S и S1.

Рис. 3.36

 

Контрольные вопросы

1. Какие существуют способы задания наклонной плоскости на плане?

2. Как будет проецироваться на плане фигура, лежащая в вертикальной плоскости?

3. Почему в запись элементов залегания наклонной плоскости входит азимут падения, а не азимут простирания?

4. Как должны быть расположены стороны квадрата, лежащего в на­клонной плоскости, чтобы он проецировался ромбом?

5. Определяется ли плоскость однозначно прямой линией, если эта прямая является линией ее падения?

6. Каковы признаки параллельности двух плоскостей на плане?

7. В каких пределах может меняться угол падения плоскости, перпен­дикулярной к заданной плоскости L?

8. Укажите алгоритм решения задачи на пересечение прямой и плоскости.

9. Какой должна быть вспомогательная секущая плоскость Δ, чтобы определить линию пересечения двух плоскостей S и L, у которых парал­лельны горизонтали? Какой линией в пространстве будет линия их пересе­чения?

10. Как провести плоскость Σ через прямую т параллельно заданной прямой n?

11. Укажите алгоритм решения задачи на определение расстояния от точки до наклонной прямой.

 

 



<== предыдущая лекция | следующая лекция ==>
ПРОЕКЦИИ С ЧИСЛОВЫМИ ОТМЕТКАМИ. ТОЧКА, ПРЯМАЯ ЛИНИЯ. | ПРОЕКЦИИ С ЧИСЛОВЫМИ ОТМЕТКАМИ. МЕТОДЫ ПРЕОБРАЗОВАНИЯ ЧЕРТЕЖА


Карта сайта Карта сайта укр


Уроки php mysql Программирование

Онлайн система счисления Калькулятор онлайн обычный Инженерный калькулятор онлайн Замена русских букв на английские для вебмастеров Замена русских букв на английские

Аппаратное и программное обеспечение Графика и компьютерная сфера Интегрированная геоинформационная система Интернет Компьютер Комплектующие компьютера Лекции Методы и средства измерений неэлектрических величин Обслуживание компьютерных и периферийных устройств Операционные системы Параллельное программирование Проектирование электронных средств Периферийные устройства Полезные ресурсы для программистов Программы для программистов Статьи для программистов Cтруктура и организация данных


 


Не нашли то, что искали? Google вам в помощь!

 
 

© life-prog.ru При использовании материалов прямая ссылка на сайт обязательна.

Генерация страницы за: 2.028 сек.