русс | укр

Языки программирования

ПаскальСиАссемблерJavaMatlabPhpHtmlJavaScriptCSSC#DelphiТурбо Пролог

Компьютерные сетиСистемное программное обеспечениеИнформационные технологииПрограммирование

Все о программировании


Linux Unix Алгоритмические языки Аналоговые и гибридные вычислительные устройства Архитектура микроконтроллеров Введение в разработку распределенных информационных систем Введение в численные методы Дискретная математика Информационное обслуживание пользователей Информация и моделирование в управлении производством Компьютерная графика Математическое и компьютерное моделирование Моделирование Нейрокомпьютеры Проектирование программ диагностики компьютерных систем и сетей Проектирование системных программ Системы счисления Теория статистики Теория оптимизации Уроки AutoCAD 3D Уроки базы данных Access Уроки Orcad Цифровые автоматы Шпаргалки по компьютеру Шпаргалки по программированию Экспертные системы Элементы теории информации

Цифровые КП четвертого класса


Дата добавления: 2014-11-27; просмотров: 1661; Нарушение авторских прав


В настоящее время структуры четвертого класса цифровых КП находят широкое примене­ние благодаря удобствам увеличения емкости поля путем простого добавления S/T-ступеней, выполненых в виде универсальных ИМС.

 

 

Рис.3.11. Базовая структура КП четвертого класса = 1)

 

Основу S/T-ступени составляют коммутационные элементы или модули (более подробно об этом было рассказано в гл. 2). При проектировании ЦАТС неболь­шой емкости их КП может быть построено с исполь­зованием одного звена S/T-ступени, содержащей в свою очередь один модуль (емкостью обычно от 8/8 до 32/32 входящих/исходящих ИКМ линий). Структура такого цифрового КП показана на рис. 3.11.

Покажем в общем виде принцип работы коммута­ционной схемы при установлении соединения. Для это­го рассмотрим структурную схему цифрового КП типа S/T (рис. 3.12). Сигналы, поступающие по входящим ИКМ линиям на вход коммутационной схемы, преобразуются в модуле приема к виду, необходимому для передачи по внутренним шинам схемы (последовательно-параллельное преобразование, преобразование кода, раз­биение кодовых слов и др.). Преобразованное содержимое каждого временного интервала приема записывается в схемы речевого ЗУ S/T-ступени в ячейку памяти, адрес которой указывается модулем управления записью (на схеме не показан). Как правило, в цифровых КП четвертого класса применяется метод последовательной записи, поэтому модуль управ­ления записью представляет собой обычный счетчик. Таким образом, в ячейках памяти ре­чевого ЗУ S/T-ступени записывается вся информация, принятая за один цикл приема по всем входящим ИКМ линиям, т.е. содержимое всех временных каналов приема.

В управляющем ЗУ для каждого временного интервала всех исходящих ИКМ линий име­ется своя ячейка памяти, которая заполняется информацией, поступающей из устройства управления (УУ) схемой коммутации. На основании команд, полученных от других блоков (после анализа полученных номеров вызывающего и вызываемого абонентов), УУ определяет коммутируемые временные интервалы приема и передачи. После этого выдаются данные, оп­ределяющие запись в ячейку управляющего ЗУ, соответствующую необходимому КИ переда­чи, номера выбранного для коммутации с ним КИ приема (т.е. адреса, указывающего на ячей­ку речевого ЗУ, в которой записано кодовое слово заданной входящей ИКМ линии).



 

Рис. 3.12.Структурная схема цифрового КП типа S/T

 

Содержимое ячеек памяти управляющего ЗУ считывается поочередно. При этом считы­вание информации в каждую исходящую ИКМ линию происходит в строго определенный момент времени, в течение которого содержимое управляющего ЗУ определяет, информация какого временного канала приема переключается на данный временной интервал передачи. Кодовая последовательность временного интервала приема, считанная из речевого ЗУ, пере­дается на модуль передачи, где преобразуется из последовательной формы в параллельную и размещается в выбранном временном интервале передачи. Этот процесс повторяется до тех пор, пока УУ не запишет в управляющее ЗУ данные для установления нового соединения.

Запись и считывание кодовых слов в модуль приема, речевое ЗУ и модуль передачи разнесены во времени таким образом, что блокировок при записи/считывании не возникает.

а) б)

Рис. 3.13.Полнодоступное (а) и неполнодоступное (б) построение S/T-ступени

 

Для увеличения емкости КП типа S/T емкость ступени увеличивалась за счет объедине­ния в одной структуре S/T-ступени нескольких коммутационных модулей (КМ), условно раз­битых на строки и столбцы. Для упрощения структуры ступени управление коммутацион­ными модулями также организовалось по строкам и столбцам. Для различных примене­ний такие структуры могли строиться по полнодоступной (рис. 3.13, а) и неполнодоступной (рис. 3.13, б) схемах.

Использование неполнодоступной схемы было связано с малой интенсивностью нагрузки между абонентами в пределах одной абонентской ступени, что позволяло упростить ее струк­туру. Однако, в этом случае для сохранения возможности установления соединения любого входа схемы с любым выходом внутри КП предусматриваются внутристанционные промежу­точные линии, обеспечивающие внутристанционное соединение. Тогда схематично цифровое КП будет иметь вид: для внутристанционного соединения — S/T, для исходящего (входящего) соединения - (S/T)x2 (рис. 3.14).

 

Рис. 3.14.Установление внутристанционного соединения

 

 

Первые цифровые КП четвертого класса создавались с использованием ИМС средней степени интеграции и содержали одно-два звена пространственно-временной коммутации. Трудности синхронизации и значительные величины времени задержки сигналов не позво­ляли строить поля большой емкости путем простого наращивания числа S/Т-ступеней. Поскольку процесс коммутации в многозвенных цифровых КП предполагает задержки сиг­налов, которые на цифровых станциях могут быть довольно значительными, то это приво­дит к необходимости применения дополнительных эхоподавляющих устройств и ограниче­нию числа звеньев в их КП. Задержки при передаче сигналов в цифровых телефонных стан­циях должны быть сведены к возможному минимуму. Значения времени задержки передачи в обоих направлениях для международной и транзитной цифровых телефонных станций, коммутирующих разные типы цепей, приведены в табл. 3.2.

Таблица 3.2. Типовое время задержки в цифровых АТС

 

 

Тип коммутируемой цепи Время задержки, мкс
среднее предельное
Цифровая - цифровая
Цифровая - аналоговая

 

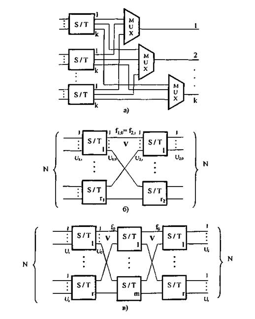
Значительные изменения в этом направлении произошли в начале 80-х г.г., когда были созданы специализированные БИС, реализующие функцию S/T-ступени. При этом исполь­зовались различные способы соединения таких интегральных схем. Один из способов, кон­структивно заложенный в БИС, был показан в главе 2 для элементов ECI. Другой простой способ, основанный на параллельном соединении таких элементов, показан на рис. 3.15а).

При таком соединении емкость поля ограничивается в основном скоростью работы мульти­плексоров, которые соединяют исходящие ИКМ линии.

Примеры построения многозвенных КП показаны на рис. 3.15, б) и в). На рис. 3.15б по­казано двухзвенное цифровое КП. Максимальная емкость такого поля равна п f, где п - чис­ло входящих (или исходящих) ИКМ линий в одной БИС S/T-ступени.

Однако двухзвенные неблокируемые КП четвертого класса не получили практического распространения, так как емкость любого поля не превышает емкости однозвенных структур.

Трехзвенное цифровое КП четвертого класса (рис. 3.15, в) является базовым, на основе которого строятся многозвенные КП. Далее предполагается, что все используемые в схеме БИС идентичны, т.е. имеют одинаковое количество входных и выходных линий.

 

Рис. 3.15. Примеры цифровых КП, построенных на БИС S/T-ступеней

 

Можно получить k-звенное цифровое КП четвертого класса итерационно из базового трехзвенного поля путем замены среднего звена на трехзвенное поле. Используя этот метод, можно получить цифровые КП четвертого класса с нечетным числом звеньев (например, 5-, 7-звенные и т.д.). В качестве примера можно привести цифровое КП транзитной АТС большой емкости системы PROTEL UT, общая схема которой приведена на рис. 3.16.

Цифровые КП МЗ и R2 построены на элементах ECI (см. раздел 2.4). Общая схема циф­рового КП транзитной АТС семейства UT имеет вид (5/7)х5. Использование БИС элементов ECI позволило упростить монтаж КП и увеличить его емкость за счет многозвенности с со­блюдением необходимых временных задержек сигнала в коммутационном поле.

Если базовое поле и трехзвенное поле для замены являются неблокируемыми, то ре­зультирующее А-звенное поле тоже будет неблокируемым (что следует из свойств коммута­ционных схем Клоза).

 

 

Рис 3.16.Структура цифрового КП АТС Protel UT

 

Для рассматриваемых цифровых КП существует зависимость между емкостью (N) циф­рового коммутационного поля и числом звеньев в поле

И в заключение отметим, что исходя из финансовых оценок, применение многозвенных структур цифровых КП четвертого класса становится экономически выгодно при емкости поля свыше 5000 канальных интервалов (рис. 3.17).

О 103 104 105 Емкость поля

Рис. 3.17. Стоимостное сравнение однозвенных (1) и многозвенных (2) цифровых КП четвертого класса, построенных на БИС S/T-ступеней



<== предыдущая лекция | следующая лекция ==>
Цифровые КП третьего класса | Кольцевые цифровые КП


Карта сайта Карта сайта укр


Уроки php mysql Программирование

Онлайн система счисления Калькулятор онлайн обычный Инженерный калькулятор онлайн Замена русских букв на английские для вебмастеров Замена русских букв на английские

Аппаратное и программное обеспечение Графика и компьютерная сфера Интегрированная геоинформационная система Интернет Компьютер Комплектующие компьютера Лекции Методы и средства измерений неэлектрических величин Обслуживание компьютерных и периферийных устройств Операционные системы Параллельное программирование Проектирование электронных средств Периферийные устройства Полезные ресурсы для программистов Программы для программистов Статьи для программистов Cтруктура и организация данных


 


Не нашли то, что искали? Google вам в помощь!

 
 

© life-prog.ru При использовании материалов прямая ссылка на сайт обязательна.

Генерация страницы за: 0.274 сек.