русс | укр

Языки программирования

ПаскальСиАссемблерJavaMatlabPhpHtmlJavaScriptCSSC#DelphiТурбо Пролог

Компьютерные сетиСистемное программное обеспечениеИнформационные технологииПрограммирование

Все о программировании


Linux Unix Алгоритмические языки Аналоговые и гибридные вычислительные устройства Архитектура микроконтроллеров Введение в разработку распределенных информационных систем Введение в численные методы Дискретная математика Информационное обслуживание пользователей Информация и моделирование в управлении производством Компьютерная графика Математическое и компьютерное моделирование Моделирование Нейрокомпьютеры Проектирование программ диагностики компьютерных систем и сетей Проектирование системных программ Системы счисления Теория статистики Теория оптимизации Уроки AutoCAD 3D Уроки базы данных Access Уроки Orcad Цифровые автоматы Шпаргалки по компьютеру Шпаргалки по программированию Экспертные системы Элементы теории информации

Кольцевые цифровые КП


Дата добавления: 2014-11-27; просмотров: 1487; Нарушение авторских прав


В настоящее время кольцевые цифровые коммутационные поля не получили широкого рас­пространения, хотя в период их возникновения им предсказывались хорошие перспективы. Впервые цифровое КП такой структуры было реализовано в цифровой АТС ITT1240 (США). Впоследствии технология была закуплена компанией Alcatel, которая на ее основе создала станцию 1000 S12 (по сути являющуюся модернизацией ITT1240). Поэтому по­строение КП кольцевого типа рассмотрим на примере этих станций.

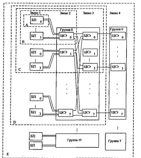
Структура многозвенного КП системы ITT1240 представлена на рис. 3.18. Каждое звено этого поля образуют кольцевые ЦКЭ. Как видно из рисунка, цифровое КП состоит из бло­ков подключения (БП) и блока групповой коммутации (БГК).

Один БП состоит из двух ЦКЭ. Количество БП и ступеней в БГК (не более трех) зависит от числа подключенных оконечных модулей (ОМ). Количество плоскостей (не более четырех) зависит от средней нагрузки, создаваемой ОМ, и от заданного качества обслуживания.

Все ОМ подключаются к БП через оконечные интерфейсы своих управляющих уст­ройств. Каждый ОМ связан трактом (на прием и на передачу) с двумя ЦКЭ БП, образую­щими первую ступень коммутации. Следовательно, на выходе ОМ имеются 60 дуплексных ИКМ канальных интервалов.

12 портов ЦКЭ могут быть использованы для подключения ОМ, а 4 порта служат для подключения к БГК. Каждый ЦКЭ соединяется парой ИКМ линий (линия на передачу и ли­ния на прием) с каждой плоскостью БГК. При максимальной емкости цифрового КП имеются 512 БП и 4 плоскости с тремя звеньями коммутации. Структура БГК показана на рис. 3.19.

 

Рис. 3.18.Построение кольцевого КП АТС ITT1240

 

Рис. 3.19. Структурная схема БГК

 

Рис. 3.20. Расширение кольцевого КП ITT 1240


Цифровое КП ITT1240 обеспечивает возможность получения нескольких градаций емкости за счет добавления одного или нескольких ЦКЭ. Способ расширения цифрового КП показан на рис. 3.20. Как видно из рисунка, поле минимальной конфигурации содер­жит один БП без БГК (на рис. 3.20 такая конфигурация обозначена буквой А). В этом слу­чае для подключения ОМ можно использовать 12 портов каждого ЦКЭ, а 4 порта остают­ся незадействованными и предназначены для будущего расширения поля. Конфигурация поля А позволяет построить АТС с семью ОМ абонентских линий (в каждый модуль включаются 60 абонентских линий) и одним ОМ соединительных линий на 30 линий (4 оставшихся порта используются для подключения вспомогательных управляющих уст­ройств и других цепей).



При превышении указанных емкостей необходимо добавить новый БП в сочетании с одним ЦКЭ второго звена в каждой плоскости (конфигурация В). В этом случае можно под­ключить до четырех БП (т.е. максимальная емкость конфигурации поля В позволяет строить АТС в 4 раза большей емкости, чем при конфигурации А).

Следующий шаг наращивания емкости заключается в добавлении одного ЦКЭ звена 2 и четырех ЦКЭ звена 3. Такая структура дополняется до тех пор, пока не образуется полный групповой блок с восьмью ЦКЭ ступени 2 и восемью ЦКЭ ступени 3 (конфигурация D). При этой конфигурации емкость АТС будет в 8 раз больше, чем при структуре В.

Если число выходов из БП больше числа входов БГК, то добавляются второй БГК и ЦКЭ ступени 4 (конфигурация Е). По мере увеличения числа БГК пропускная способность цифрового КП поддерживается на должном уровне путем добавления ЦКЭ ступени 4 и вве­дения дополнительных плоскостей коммутации (до четырех).

Конфигурация Е содержит четыре плоскости БГК, в каждой плоскости - 320 ЦКЭ. Сту­пень 1 образована 512 парами ЦКЭ. Отсюда полностью оборудованное цифровое КП состо­ит из 2304 ЦКЭ. Это обеспечивает возможность подключения свыше 60 тыс. соединитель­ных линий или более 100 тыс. абонентских линий.

Для установления соединения между двумя ОМ через цифровое КП управляющее уст­ройство исходящего модуля вырабатывает последовательность команд SELECT (выбор). Каждая команда устанавливает соединение в одном ЦКЭ. Прямой и обратный пути уста­навливаются через разные ЦКЭ.

Каждый ОМ имеет свой сетевой адрес, состоящий из четырех цифр - ABCD. По цифре А БП подсоединяется к одному из 12 связанных с ним ОМ; цифра В используется ЦКЭ зве­на 2 каждой плоскости для возможного соединения с БП; по цифре С ЦКЭ звена 3 в каждой плоскости осуществляет соединение с одним из восьми ЦКЭ звена 2; цифра D используется ЦКЭ звена 4 в каждой плоскости для соединения с ЦКЭ звена 3. Каждый из 64 ЦКЭ звена 4 в каждой плоскости имеет возможность соединения дуплексной линии ИКМ-30 с 16 груп­пами третьего звена.

Для установления соединения требуются свободный поиск (любой канальный интервал в любой ИКМ линии внутри поля) от начальной точки вплоть до точки разворота и обуслов­ленный поиск (любой канальный интервал в заданной ИКМ линии, ведущей к выходу из по­ля) от заданной точки в направлении приемного ОМ.

Наиболее длинный соединительный путь проходит от интерфейса передающего ОМ че­рез один из ЦКЭ БП, один ЦКЭ звена 2 в одной из 4 плоскостей, один из 8 элементов звена 3 и, наконец, через один ЦКЭ из 64 элементов звена 4. Затем устанавливается обратный со­единительный путь через звенья 3, 2 и /. Общее число доступных для свободного поиска промежуточных путей начинается с 60 путей на выходе интерфейса ОМ и возрастает до 7680 (4 плоскости х 64 ЦКЭ х 30 канальных интервалов) в месте расположения точки разворота.

После достижения точки разворота производится обусловленный поиск любого из 30 канальных интервалов конкретного ЦКЭ звена 3, любого из 30 канальных интервалов кон­кретного ЦКЭ звена 2, любого из 30 канальных интервалов заданного ЦКЭ блока подклю­чения звена / и любого из 30 канальных интервалов конкретного интерфейса приемного ОМ.

Для установления соединения требуются четыре типа сетевых команд (рис. 3.21). Первая команда, обозначенная X, используется в БП в режиме свободного поиска для выбора одной из четырех возможных плоскостей. Вторая команда У - применяется в режиме свободного поиска в звеньях 2 и 3 внутри выбранной плоскости. Третья команда, помеченная буквой N, служит для обусловленного поиска соединительного пути в звеньях 3 и 4. Команда N - сложная, состоит из команд «Выбор заданного порта» и адресных цифр ACD. Четвертая команда NZ (также сложная) используется для обусловленного поиска в звене 2.

Для примера рассмотрим алгоритм, используемый для выработки последовательности команд при установлении соединения между двумя любыми оконечными терминалами. На рис. 3.21 показаны интерфейсы двух ОМ. Исходящий терминал имеет адрес 6-2-3-1, входящий - 1 -3-2-12.

Для соединения требуется последовательность семи команд (соединение устанавливается через все звенья цифрового КП). Команды: X - выбирается любой нз исходящих портов 8-11 звена 1, Y - выбирается любой из исходящих портов 8-15 звена 2, Y - выбирается любой из исходящих портов звена 3, 12 - выбирается двенадцатая группа (любой КИ промежуточной линии), 3 - выбирается третий ЦКЭ в звене 2 двенадцатой группы, 3Z - выбирается третий или седьмой ЦКЭ в БП (любой КИ промежуточной линии), 1 - выбирается интерфейс входящего терминала (любой КИ промежуточной линии).

Реализация алгоритма установления соединения начинается со сравнения адресов исхо­дящего и входящего терминалов. Сравнение начинается со старших разрядов (D). Если зна­ки D различны, это означает, что для установления соединения надо использовать звено 4 цифрового КП. Следовательно, до звена 4 будет использоваться режим свободного поиска, для чего управляющее устройство исходящего модуля генерирует такую последователь­ность команд: команду X - для выбора коммутационной плоскости и две команды Y - для достижения звена 4. Затем потребуются команды для режима обусловленного поиска: ко­манда занятия любого канального интервала в определенной ИКМ линии, связывающей ЦКЭ звеньев 4 и 3 (команда N{); команда занятия любого канального интервала в заданной линии между звеньями 5 и 2 (команда N2); команда занятия любого канального интервала определенной ИКМ линии между звеньями 2 и / (команда NZ) и, наконец, команда N заня­тия любого канального интервала в одном из заданных ЦКЭ БП (ЦКЭ А или ЦКЭ /1+4) (на­помним, что каждый ОМ имеет доступ к двум ЦКЭ БП).

 

Рис. 3.21. Пример установления соединительного пути

 

Для рассматриваемого примера семь команд имеют вид: X-Y-Y-12-3-3-Z. Эти семь ко­манд передаются во временном канальном интервале, отведенном для исходящего термина­ла в ОМ, в следующих друг за другом семи циклах. Как только блок подключения прини­мает команду X, он выбирает путь для входа в одну из плоскостей (ИКМ линию и каналь­ный интервал в ней). В следующем цикле управляющее устройство исходящего ОМ посы­лает первую из двух команд Y. Поскольку блок подключения к началу этого второго цикла уже выбран и был установлен соединительный путь к звену 2 (по команде X), первая из двух команд Y передается в ЦКЭ звена 2. Под воздействием этой команды ЦКЭ звена 2 на­ходит и устанавливает соединительный путь к звену 3. Вторая команда Y в третьем цикле передается в ЦКЭ звена 3, ЦКЭ находит и устанавливает соединительный путь к ЦКЭ звена 4. Затем цикл за циклом устанавливается обратный соединительный путь через цифровое КП к входящему терминалу во входящем ОМ. Следует заметить, что управляющее устрой­ство исходящего ОМ не ожидает подтверждения успешной попытки соединения через каж­дое звено коммутации. Однако при поступлении отрицательного подтверждения управ­ляющее устройство ОМ начинает следующую попытку установления соединительного пути в цифровом КП.

При установлении соединения между двумя терминалами с сетевыми адресами 6-2-3-1 и 1-3-3-1 реализация алгоритма установления соединения вновь начинается со сравнения ад­ресов исходящего и входящего терминалов. В адресах цифры D совпадают (D = 1). Это оз­начает, что звено 4 не требуется для установления соединения. Следующие цифры тоже совпадают (С = 1). Значит, и звено 3 не понадобится для установления соединения. При сравнении адресов В оказывается, что они разные. Таким образом, режим свободного поис­ка будет осуществляться в звеньях 1 и 2. Следовательно, для установления соединения по­требуется один ЦКЭ БП, один ЦКЭ звена 2 одной из плоскостей, затем еще один ЦКЭ из БП.

Соединение в каждом цифровом КП удерживается в течение всего времени разговора. При поступлении в разговорный тракт последовательных меток «освобождение» все ЦКЭ последовательно освобождаются

Цифровое КП системы ITT1240 является почти неблокируемым при нагрузке на линию, встречающейся на практике. Только при одной из 1500 попыток установить соединение при нагрузке на канальный интервал 0,5 Эрл требуется повторная попытка установления соеди­нения, и только при одной из 2 млн. попыток - третья. В цифровом КП максимальной емко­сти (60 тыс. соединительных или свыше 100 тыс. абонентских линий) при нагрузке 0,5 Эрл на канальный интервал 99% соединений имеют максимальное время задержки менее 500 мс; среднее время запаздывания составляет 370 мс. При 20%-й перегрузке максимальное время запаздывания 99% соединений составляет 560 мс.

В заключение отметим характерные особенности цифрового КП системы ITT1240:

1) управляющая информация в цифровом КП передается внутри временного канального интервала совместно с речевой информацией;

2)в основе цифрового КП лежит стандартный ЦКЭ (кольцевая коммутационная схема). Увеличение емкости цифрового КП осуществляется не за счет повышения скорости переда­чи информации внутри кольца, а с помощью многозвенного включения ЦКЭ. Тактовая час­тота работы цифрового КП равна в этом случае тактовой частоте ЦКЭ;

3)процесс установления соединения через цифровое КП системы ITT1240 организован так, что в зависимости от места включения терминалов в ОМ соединительный путь уста­навливается через разное число звеньев поля (а не через все поле вне зависимости от места включения терминалов, как это осуществляется в полях других типов).



<== предыдущая лекция | следующая лекция ==>
Цифровые КП четвертого класса | Особенности функционирования и сравнительные характеристики цифровых КП


Карта сайта Карта сайта укр


Уроки php mysql Программирование

Онлайн система счисления Калькулятор онлайн обычный Инженерный калькулятор онлайн Замена русских букв на английские для вебмастеров Замена русских букв на английские

Аппаратное и программное обеспечение Графика и компьютерная сфера Интегрированная геоинформационная система Интернет Компьютер Комплектующие компьютера Лекции Методы и средства измерений неэлектрических величин Обслуживание компьютерных и периферийных устройств Операционные системы Параллельное программирование Проектирование электронных средств Периферийные устройства Полезные ресурсы для программистов Программы для программистов Статьи для программистов Cтруктура и организация данных


 


Не нашли то, что искали? Google вам в помощь!

 
 

© life-prog.ru При использовании материалов прямая ссылка на сайт обязательна.

Генерация страницы за: 0.143 сек.