русс | укр

Языки программирования

ПаскальСиАссемблерJavaMatlabPhpHtmlJavaScriptCSSC#DelphiТурбо Пролог

Компьютерные сетиСистемное программное обеспечениеИнформационные технологииПрограммирование

Все о программировании


Linux Unix Алгоритмические языки Аналоговые и гибридные вычислительные устройства Архитектура микроконтроллеров Введение в разработку распределенных информационных систем Введение в численные методы Дискретная математика Информационное обслуживание пользователей Информация и моделирование в управлении производством Компьютерная графика Математическое и компьютерное моделирование Моделирование Нейрокомпьютеры Проектирование программ диагностики компьютерных систем и сетей Проектирование системных программ Системы счисления Теория статистики Теория оптимизации Уроки AutoCAD 3D Уроки базы данных Access Уроки Orcad Цифровые автоматы Шпаргалки по компьютеру Шпаргалки по программированию Экспертные системы Элементы теории информации

Цифровые КП третьего класса


Дата добавления: 2014-11-27; просмотров: 1826; Нарушение авторских прав


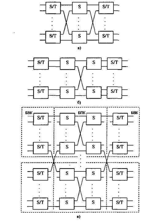
Структуры цифровых КП третьего класса появились в конце 70-х годов благодаря возмож­ности создания соответствующих интегральных схем. Поля этого класса являются в извест­ной мере универсальными поскольку позволяют однотипно строить системы коммутации практически для всего диапазона емкостей: малой, средней и большой. При этом наращива­ние емкости происходит, в основном, за счет увеличения количества звеньев пространст­венной коммутации, переходя от более простых структур S/T-S-S/T (рис. 3.10, а) к более сложным S/T-S-S-S/T (рис. 3.10, б) и S/T-S-S-S-S/T, поскольку увеличение емкости самой S-ступени является более дорогим решением. Часто при проектировании коммутационного поля ступени временной и пространственной коммутации объединяются в соответствую­щие блоки: блок временной коммутации (БВК) и блок пространственной коммутации (БПК). Тогда наращивание емкости КП происходит путем простого добавления определен­ного количества БВК и БПК (рис. 3.10, в).

К цифровым АТС, использующим КП данного класса, относятся системы МТ20/25 (Франция), System X (DSS) (Великобритания), EWSD (Германия), GDT5 ЕАХ (США), DTS-11 (Япония) и ряд других, на основе которых можно строить местные, междугородные и тран­зитные станции.

Установление соединения через коммутационное поле происходит по схожему алго­ритму с КП второго класса. Если обобщить сказанное в предыдущих главах, то процесс коммутации состоит из последовательности следующих операций:

- изменение кода передачи, состоящее в переходе от принципа кодирования, согласо­ванного с линейным трактом (например, HDB3), к кодированию, согласованному с внутренними электронными цепями АТС (двоичному);

- последовательно-параллельное преобразование сигналов;

- синхронизация сигналов в соответствии с сигналами, полученными от тактового ге­нератора станции;



- задержка информации, полученной по входящим каналам, на время, определяемое временным моментом внутристанционной обработки;

- соединение выхода входящей ступени пространственно-временной коммутации через пространственный коммутатор с входом исходящей ступени пространственно-временной коммутации;

- переход от временного момента внутристанционной обработки к моменту, соответст­вующему определенному КИ исходящего тракта ИКМ;

- преобразование отсчетов речи из параллельного кода в последовательную форму;

- переход от принципа кодирования, согласованного с внутренними цепями АТС к ко­дированию, согласованному с линейным трактом.

Рис. 3.10. Структуры полей третьего класса

В некоторых случаях в системах третьего класса для увеличения быстродействия логи­ческих элементов ^-ступени и устранения межсимвольной интерференции ступень про­странственной коммутации разделялась на две части (матрицы), одна из которых была предназначена для работы с циклами четных временных канальных интервалов, другая - с циклами нечетных.

Кроме этого, довольно часто при создании КП третьего класса организуется непосред­ственное соединение части групп входящих временных коммутаторов с группой исходя­щих, минуя ступень пространственной коммутации, для чего организуются специальные внутренние соединительные линии. Это позволяет использовать S-ступень меньшей емко­сти и, соответственно, стоимости. Более того, при построении КП малой и средней емкости (до 16 384 КИ) удавалось строить структуры, в которых вообще отсутствовала ступень про­странственной коммутации. В этом случае БВК соединялись между собой непосредственно. Такие решения имеют практически все крупные производители цифровых АТС. Подобные цифровые КП, в общем случае, следует относить уже к четвертому классу, хотя создавались они обычно на универсальных схемах средней степени интеграции (СИС), которые исполь­зовались для коммутационных полей 3-го класса.

Однако, при использовании таких интегральных схем не удавалось получить цифровые КП большой емкости, состоящие только из S/T-ступеней. Положение изменилось с создани­ем специализированных БИС, функционально реализующих S/T-ступень достаточно боль­шой емкости.



<== предыдущая лекция | следующая лекция ==>
Цифровые КП второго класса | Цифровые КП четвертого класса


Карта сайта Карта сайта укр


Уроки php mysql Программирование

Онлайн система счисления Калькулятор онлайн обычный Инженерный калькулятор онлайн Замена русских букв на английские для вебмастеров Замена русских букв на английские

Аппаратное и программное обеспечение Графика и компьютерная сфера Интегрированная геоинформационная система Интернет Компьютер Комплектующие компьютера Лекции Методы и средства измерений неэлектрических величин Обслуживание компьютерных и периферийных устройств Операционные системы Параллельное программирование Проектирование электронных средств Периферийные устройства Полезные ресурсы для программистов Программы для программистов Статьи для программистов Cтруктура и организация данных


 


Не нашли то, что искали? Google вам в помощь!

 
 

© life-prog.ru При использовании материалов прямая ссылка на сайт обязательна.

Генерация страницы за: 0.613 сек.