русс | укр

Языки программирования

ПаскальСиАссемблерJavaMatlabPhpHtmlJavaScriptCSSC#DelphiТурбо Пролог

Компьютерные сетиСистемное программное обеспечениеИнформационные технологииПрограммирование

Все о программировании


Linux Unix Алгоритмические языки Аналоговые и гибридные вычислительные устройства Архитектура микроконтроллеров Введение в разработку распределенных информационных систем Введение в численные методы Дискретная математика Информационное обслуживание пользователей Информация и моделирование в управлении производством Компьютерная графика Математическое и компьютерное моделирование Моделирование Нейрокомпьютеры Проектирование программ диагностики компьютерных систем и сетей Проектирование системных программ Системы счисления Теория статистики Теория оптимизации Уроки AutoCAD 3D Уроки базы данных Access Уроки Orcad Цифровые автоматы Шпаргалки по компьютеру Шпаргалки по программированию Экспертные системы Элементы теории информации

Цифровые КП второго класса


Дата добавления: 2014-11-27; просмотров: 2162; Нарушение авторских прав


Уменьшение стоимости элементов памяти в начале 70-х годов позволило начать внедрение цифровых КП второго класса. Среди синхронных КП этого типа наибольшее распростране­ние получили подструктуры с применением предварительного мультиплексирования и по­следующего демультиплексирования, поскольку базовые структуры КП второго класса имели малую емкость. Упрощенные структурные схемы базовой структуры T—S-T и под­структуры MUX-r-S-r-DMUX показаны соответственно на рис. 3.5 (а и б).

Отметим некоторые особенности построения таких КП.

1)Применение дополнительных ступеней пространственной коммутации увеличивает емкость и пропускную способность поля, но не влияют на принципы его функционирования.

2)Предварительное мультиплексирование (рис. 3.5, б) фактически обеспечивает вто­ричное уплотнение входящих цифровых трактов, а последующее демультиплексирование восстанавливает их, что приводит к увеличению пропускной способности цифрового КП без применения дополнительных ^-ступеней.

3)Для увеличения скорости обработки данных в КП на входе, как правило, производят преобразование последовательно кода в параллельный. Для этого на каждой входящей ли­нии устанавливается преобразователь последовательно-параллельного типа, а на выходя­щей - параллельно-последовательного.

 

Рис. 3.5. Структуры цифрового КП второго класса

 

Рассмотрим некоторые варианты реализации цифровых КП второго класса.

1. Цифровое поле MUX-r-DMUX(в выражении для подструктуры г = 0).

Цифровые КП такого типа использовались при создании АТС малой емкости и имели наименьшую стоимость. Максимальное уменьшение емкости Г-ступени было предложено японскими специалистами. В такой схеме (рис. 3.6) Г-ступени имеют параметры Т: 8x8,8 и коммутируют одноименные биты кодовых слов всех восьми входящих ИКМ линий. Такое решение позволяет иметь одно управляющее ЗУ для всех восьми речевых ЗУ Г-ступени. Особенностью этой схемы является использование двух мультиплексоров - первичного и вторичного, что связано с использованием в качестве входящих и исходящих линий стан­дартных ИКМ линий.



 

Рис. 3.6. Пример подструктуры MUX-T-DMUX

 

2. Цифровое поле MUX-TS-T-DMUX (в выражении для подструктуры к= г = 1).

Подавляющее количество трехзвенных цифровых КП второго класса имеют коммута­ционную подструктуру MUX-T^-r-DMUX. В такие цифровые КП можно включать свыше 60 тыс. канальных интервалов или, при использовании концетраторов, свыше 100 тыс. або­нентских линий. Емкость такого КП определяется скоростью цифровых потоков групповых трактов (например, числу канальных интервалов цикла ИКМ линии) и параметрами S-ступени. Например, при емкости входящей Т-ступени равной 512 КИ и пространственном коммутаторе 32x32 емкость КП составит 16384 канальных интервалов.

Принцип функционирования цифрового КП этого типа рассмотрим на примере струк­турной схемы, изображенной на рис. 3.7. Входящая Т-ступень имеет речевые ЗУ (РЗУ0 -РЗУт), куда поступают кодовые слова входящих ИКМ линий. Цикл ИКМ линий после мультиплексирования имеет определенное количество канальных интервалов (например 512 или 1024), каждый из которых содержит, как правило, по 8-битному параллельному ко­довому слову. Обычно доступ в ячейки памяти РЗУ первого каскада для записи кодовых слов является последовательным, а для считывания - произвольным. Тогда, для максималь­ной симметрии в алгоритме поиска соединительного пути в КП, в третьем каскаде (исходя­щей Г-ступени), наоборот, используют режим произвольного доступа для записи и последо­вательный для считывания. Перезапись кодовых слов из РЗУ первого каскада в РЗУ третье­го каскада допускается в любом временном отрезке в течение цикла передачи и с использо­ванием любой свободной промежуточной ИКМ линии между Т и S ступенями.

 

 

Рис. 3.7. Коммутационное поле MUX-T-S-T-DMUX

 

 

Управление речевыми ЗУ входящей и исходящей Г-ступеней осуществляют соответст­венно управляющие ЗУ (УЗУ1 и УЗУЗ), емкость которых равна количеству адресов, соот­ветствующих числу канальных интервалов цикла ИКМ линии. Управление Т-ступенью осуществляет УЗУ2. Каждая ячейка УЗУ2 содержит адрес точки коммутации коммутацион­ной матрицы Т-ступени, которая должна быть замкнута в нужный канальный интервал.

Предположим, что необходимо произвести коммутацию КИ2 входящей линии 0 и КИ10 выходящей линии М. (В данном случае в качестве входящей/исходящей ИКМ линии для коммутационного поля рассматривается уплотненная линия после блока мультиплексиро­вания.) Пусть для передачи кодового слова из входящей Т-ступени в S-ступень процессор выбрал КИ7 промежуточной ИКМ линии. Тогда в ячейку памяти УЗУ1, соответствующую РЗУо, будет записан адрес ячейки 2. В УЗУ2 Т-ступени записывается информация о том, что ключ ОМ (горизонталь 0, вертикаль М) должен быть замкнут в течение канального интерва­ла 7 промежуточного ИКМ цикла. В ячейку памяти УЗУЗ, соответствующую РЗУт записы­вается адрес ячейки 10.

После проверки правильности записи данных в указанные ячейки передается разре­шение на коммутацию и соединение считается установленным. Тогда в течение канально­го интервала 2 цикла входящей ИКМ линии кодовое слово записывается в ячейку 2 РЗУ0. Это слово находится там до наступления времени КИ7 промежуточной ИКМ линии, когда из УЗУ2 считывается адрес 2 произвольного считывания из РЗУ0 первого каскада, а из УЗУЗ адрес 10 записи в РЗУт третьего каскада. В течение КИ7 кодовое слово подается на нулевую входящую горизонталь S-ступени, снимается с выходящей вертикали М и запи­сывается в ячейку 10 РЗУт. Затем с помощью последовательного считывания в течение канального интервала 10 цикла исходящей ИКМ линии кодовое слово считывается в вы­ходящую линию М.

Если проследить развитие ЦКС с цифровым КП структуры TS-T (табл. 3.1), то можно сделать интересный вывод: практически все производители цифровых АТС (ЦАТС) осуще­ствляли увеличение емкости трехзвенного КП в основном за счет увеличения размера S-ступени. Однако, при определенных условиях это приводит к ряду технических затруднений и повышению стоимости поля. Поэтому становится экономически выгодно перейти к струк­туре с большим количеством звеньев.

Таблица 3.1.Сравнительные характеристики ЦАТС

Тип ЦАТС Размер T-ступени Размер S-ступенн Емкость КП (КИ)
KB 270 1024x1024 4x4
D70 1024x1024 16x16
D60 1024x1024 32x32
FETEX 150 1024x1024 64x64
AXE 10 512x512 32x32
    64x64
    128x128

3. Цифровое поле MUX-T- SSSS-T-DMVX.

Примером данной подструктуры (в выражении для подструктуры к = 1, г = 4) является цифровое КП международной АТС №4 ESS (компании Bell, США). Практически такое поле имеет наибольшую емкость среди цифровых КП второго класса. Структура цифрового КП АТС №4 ESS приведена на рис. 3.9.

SMUX SDMUX

 

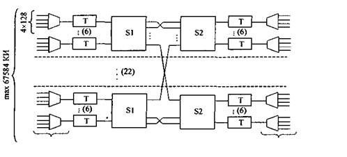
Рис. 3.8. Структура цифрового КП системы NEAX 61

 

Рис. 3.9. Структура КП АТС № 4 ESS

 

Мультиплексор на входе КП №4 ESS осуществляет объединение в линию ИКМ-120 пя­ти линий ИКМ-24 или десяти ИКМ-12. При этом 120 канальных интервалов используются для передачи речевых сигналов, а 8 - для управления и техобслуживания. Буферная память служит в КП №4 ESS для синхронизации входящих ИКМ потоков, которые могут прихо­дить от разных источников с различными запаздываниями. С выхода буферов синхронизи­рованные цифровые потоки подаются на декоррелятор, имеющий 7 входов и 8 выходов. Декоррелятор обеспечивает функции распределения и расширения. Он распределяет нагрузки семи внутренних линий ИКМ-120 на восемь линий ИКМ-120, что уменьшает вероятность внутренних блокировок. При этом используются максимально 107 канальных интервалов в каждой из восьми линий ИКМ-120. Кроме того, декоррелятор позволяет равномернее рас­пределить нагрузку по внутренним ИКМ линиям КП. Структурные параметры Т- и S- сту­пеней цифрового КП №4 ESS следующие - Т: 128x128, S1: 8x8,52: 16x16, S3: 8x8.

Цифровое КП №4 ESS может пропустить нагрузку 47 000 Эрл и емкость - порядка 107 520 канальных интервалов.

Дальнейшее увеличение емкости многозвенных цифровых КП путем увеличения числа S-ступеней приводит к проблемам монтажа. Поэтому дальнейшее развитие таких КП при­мерно с начала 80-х годов шло по пути использования S/T-ступеней.



<== предыдущая лекция | следующая лекция ==>
Цифровые КП первого класса | Цифровые КП третьего класса


Карта сайта Карта сайта укр


Уроки php mysql Программирование

Онлайн система счисления Калькулятор онлайн обычный Инженерный калькулятор онлайн Замена русских букв на английские для вебмастеров Замена русских букв на английские

Аппаратное и программное обеспечение Графика и компьютерная сфера Интегрированная геоинформационная система Интернет Компьютер Комплектующие компьютера Лекции Методы и средства измерений неэлектрических величин Обслуживание компьютерных и периферийных устройств Операционные системы Параллельное программирование Проектирование электронных средств Периферийные устройства Полезные ресурсы для программистов Программы для программистов Статьи для программистов Cтруктура и организация данных


 


Не нашли то, что искали? Google вам в помощь!

 
 

© life-prog.ru При использовании материалов прямая ссылка на сайт обязательна.

Генерация страницы за: 1.254 сек.