русс | укр

Языки программирования

ПаскальСиАссемблерJavaMatlabPhpHtmlJavaScriptCSSC#DelphiТурбо Пролог

Компьютерные сетиСистемное программное обеспечениеИнформационные технологииПрограммирование

Все о программировании


Linux Unix Алгоритмические языки Аналоговые и гибридные вычислительные устройства Архитектура микроконтроллеров Введение в разработку распределенных информационных систем Введение в численные методы Дискретная математика Информационное обслуживание пользователей Информация и моделирование в управлении производством Компьютерная графика Математическое и компьютерное моделирование Моделирование Нейрокомпьютеры Проектирование программ диагностики компьютерных систем и сетей Проектирование системных программ Системы счисления Теория статистики Теория оптимизации Уроки AutoCAD 3D Уроки базы данных Access Уроки Orcad Цифровые автоматы Шпаргалки по компьютеру Шпаргалки по программированию Экспертные системы Элементы теории информации

Силовые кабели и шинопроводы


Дата добавления: 2015-08-31; просмотров: 1093; Нарушение авторских прав


 

Широкое применение в системах электроснабжения находят четырехжильные силовые кабели, которые имеют сечение токопроводящих жил от 4 до 185 мм2 и изготавливаются на напряжения до 1 кВ /15/. Четвертая жила является заземляющей или зануляющей. Она может иметь одинаковые с фазным жилами сечение для кабелей сечением до 120мм2 или уменьшенное сечение.

 

 

- 15 -


 

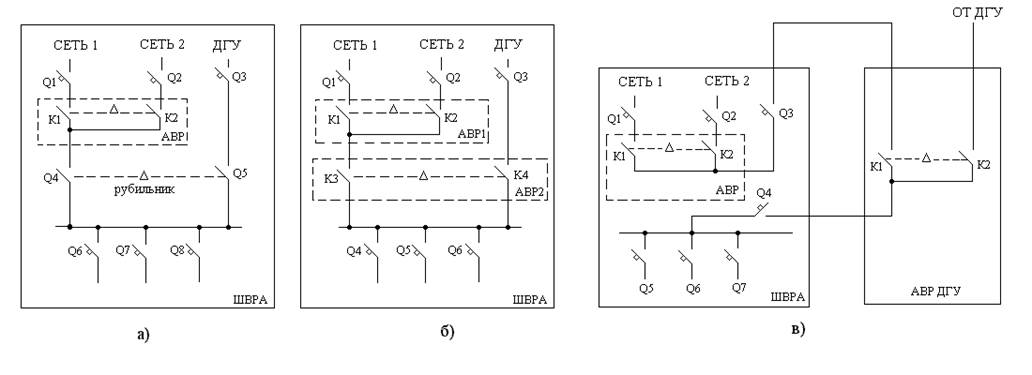
Рисунок 10 – Варианты схемы ШВРА 380/In-21П (С)


 
 

На рис. 11 изображено сечение четырехжильного кабеля с секторными жилами.

 

Рисунок 11 – Сечение четырехжильного кабеля

 

Буквенные обозначения в маркировке кабелей с медными жилами приведены ниже. Они определяются конструкцией брони, изоляцией и защитными покровами.

Б – броня из двух спальных лент с антикоррозионным защитным покровом;

БН – тоже с негорючим защитным покровом;

Г – отсутствие защитных покровов поверх брони или оболочки;

Л(2Л) – в подушке под бронёй имеется слой (два слоя) из пластмассовых лент;

В(П) – в подушке под бронёй имеется шланг из поливинилхлорида (полиэтилена);

ШВп) – защитный покров в виде шланга (оболочки) из поливинилхлорида (полиэтилена);

К – броня из круглых оцинкованных стальных проволок, поверх которых наложен защитный покров;

Н – не горючий покров;

П – броня из оцинкованных плоских проволок, поверх которых наложен защитный покров;

C – свинцовая оболочка;

В – изоляция или оболочка из поливинилхлорида;

П – изоляция или оболочка из полиэтилена;

Бб – броня из профилированной стальной ленты;

Р – резиновая изоляция.

 

Например, марка СРБ – 4x70 – кабель с резиновой изоляцией, свинцовой оболочкой, с бронёй из стальных лент и защитными покровами, четырехжильный, каждая жила имеет сечение 70 мм2.

В зависимости от условий эксплуатации, места прокладки, охлаждения, величины протекающего тока предпочтительны определённые типы кабелей. Некоторые из них с допустимыми токовыми нагрузками приведены в таблице 4.



Магистральные шинопроводы марки ШМА собраны из прямоугольных алюминиевых шин, изолированных друг от друга, расположенных вертикально и зажатых между специальными изоляторами внутри перфорированного корпуса.

 

- 17-

Таблица 4 – Допустимые токовые нагрузки медных четырехжильных кабелей на напряжение до 1 кВ

 

Сечение основной жилы, мм2 Сопротивление одной жилы постоянному току, Ом/км Допустимый ток, А
Кабели в свинцовой или аллюминиевой оболочке, прокладываемые в земле ВБбШВ ; ВБбШП СБВ Кабели в свинцовой оболочке, прокладываемые на воздухе СБШВ ; СБГ СБ2Л;СРБГ
4,7
3,11
1,84
1,16
0,734
0,529
0,391
0,27
0,195
0,154
0,126
0,100

 

Число шин – 3,4 или 6. Шинопроводы марки ШМА предназначены для четырехпроводных сетей с глухозаземленной нейтралью. Распределительные шинопроводы марок ШРА и ШРМ используются для передачи и распределения электроэнергии с возможностью непосредсвенного присоединения к ним электроприемников в системах с глухозаземленной нейтралью при напряжении 220/380 В. Шинопровод типа ШРМ выполнен медными шинами /15/. Некоторые типовые шинопроводы приведены в таблице 5.

Таблица 5 – Типовые шинопроводы

Тип шинопровода Номинальный ток, А Сопротивление на фазу, Ом/км Тип шинопровода Номинальный ток, А Сопротивление на фазу, Ом/км
ШМА 73 0,031 ШРА У 0,085
ШМА 68Н 0,027 ШРА 73 0,2
0,013 ШРМ 75 100/250 0,75
ШРА 74 0,15 ШЗМ 16 0,018
0,14      

 

- 18-



<== предыдущая лекция | следующая лекция ==>
Условное обозначение ШВР | Современные типы аккумуляторов


Карта сайта Карта сайта укр


Уроки php mysql Программирование

Онлайн система счисления Калькулятор онлайн обычный Инженерный калькулятор онлайн Замена русских букв на английские для вебмастеров Замена русских букв на английские

Аппаратное и программное обеспечение Графика и компьютерная сфера Интегрированная геоинформационная система Интернет Компьютер Комплектующие компьютера Лекции Методы и средства измерений неэлектрических величин Обслуживание компьютерных и периферийных устройств Операционные системы Параллельное программирование Проектирование электронных средств Периферийные устройства Полезные ресурсы для программистов Программы для программистов Статьи для программистов Cтруктура и организация данных


 


Не нашли то, что искали? Google вам в помощь!

 
 

© life-prog.ru При использовании материалов прямая ссылка на сайт обязательна.

Генерация страницы за: 0.128 сек.