русс | укр

Языки программирования

ПаскальСиАссемблерJavaMatlabPhpHtmlJavaScriptCSSC#DelphiТурбо Пролог

Компьютерные сетиСистемное программное обеспечениеИнформационные технологииПрограммирование

Все о программировании


Linux Unix Алгоритмические языки Аналоговые и гибридные вычислительные устройства Архитектура микроконтроллеров Введение в разработку распределенных информационных систем Введение в численные методы Дискретная математика Информационное обслуживание пользователей Информация и моделирование в управлении производством Компьютерная графика Математическое и компьютерное моделирование Моделирование Нейрокомпьютеры Проектирование программ диагностики компьютерных систем и сетей Проектирование системных программ Системы счисления Теория статистики Теория оптимизации Уроки AutoCAD 3D Уроки базы данных Access Уроки Orcad Цифровые автоматы Шпаргалки по компьютеру Шпаргалки по программированию Экспертные системы Элементы теории информации

Синхронный триггер -D-триггер


Дата добавления: 2015-07-23; просмотров: 2848; Нарушение авторских прав


Еще один часто применяемый на практике синхронный триггер -D-триггер (триггер задержки, delay - задержка) имеет синхровход С и один информационный вход D (рис. 5), информация которого повторяется на выходе Q при наличии разрешающего сигнала на синхровходе. При отсутствии разрешающего сигнала триггер не реагирует на состояние входа D и сохраняет прежнее значение.

D-триггер (рис.5) также можно получить из основной схе­мы асинхронного -триггера , дополнив ее схемой запрета (разрешения) на двух элементах 2И-НЕ, которая так же, как в RSC-триггере, запрещает работу триггера при С = 0 и разрешает при С = 1. Однако, D-триггер, в отличие от RSC-триггера, должен иметь один информационный вход, значение которого должно по­вторяться выходом Q (при C = 1). Эта задача решается, если не­сколько видоизменить входную схему, как показано на рис.5: на вход второго элемента 2И-НЕ подключается выход первого элемента 2И-НЕ. Действительно, при C = 1 конъюнкторы 1 и 2 инвертируют сигналы, поступающие на второй вход. На выходе 1-го элемента, следовательно, имеем сигнал , который является входным сигналом для 2-го инвертора. На выходе 2-го элемента 2И-НЕ имеем сигнал D. Таким образом, и . Если те­перь D = 1, то ( ) и выход Q устанавливается в со­стояние 1. Если D = 0, то ( ) и , т.е. при С = 1 выход Q повторяет значение входа D.

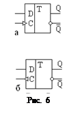
Рассмотренные синхронные триггеры являются триггерами с по­тенциальным управлением. При потенциальном управлении информация записывается в течение всего времени, пока синхровход имеет разрешающий потенциал С = 1. В триггерах с динамическим управле­нием информация записывается только в короткое время перепада по­тенциала на синхровходе из 0 в 1 - управление по фронту или из 1 в 0 - управление по срезу. На схемах динамические входы обозначают­ся треугольником: если его вершина направлена вправо, то триггер переключается по фронту (рис. 6а), если влево, то триггер пере­ключается по срезу (рис. 6б).



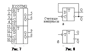
В работе изучается ИМС KI55TM2 (рис.7). Она состоит из двух D-триггеров с управлением по фронту, имеющих кроме того раз­дельные установочные входы в1 и 0: и .

Широко распространенный счетный или тактовый Т-триггер с переключением по фронту легко получить из соответствующего D-триггера введением обратной связи между Q и D, как показано на рис. 8а. Тактовый триггер имеет всего один вход Т (рис. 8б). Пе­реключение Т-триггера происходит с каждым импульсом, приходящим на вход.

Рассмотрим работу такого триггера по временным диаграммам: пусть первоначально триггер установился: Q =1 и (рис. 9). Сигнал поступает на информационный вход D , но он запи­шется на выходе Q только в момент прихода фронта первого счетного импульса. Выход соответственно перейдет в 1 состояние. Те­перь на вход D с поступает 1, но запишется она на выходе Q только по приходу фронта 2-го счетного импульса и будет сохранять­ся до прихода фронта 3-го счетного импульса и т.д. Из диаграммы видно, что Т-триггер уменьшает частоту поступающих на счетный вход сигналов в два раза. Т-триггер - делитель частоты. Т-триггер используется для построения различных видов счетчиков.

При подготовке к работе выполнить следующие задания:

1. Изучить рекомендованную литературу и руководство.

2. Построить таблицу истинности для RSC-триггера, синхронного D-триггера?

3. Ответить на контрольные вопросы.

Контрольные вопросы:

 

1. Дайте определение триггера.

2. Каково отличие последовательных схем от комбинационных?

3. Что значит выражение "триггер запоминает записанную в него информацию"?

4. Где используются триггеры?

5. Какие типы триггеров вы можете назвать?

6. Какие существуют режимы работы -триггера?

7. Как построить основную схему -триггера из логических элементов?

8. Чем отличается синхронный триггер от асинхронного?

9. Как построить из логических элементов схему RSC-триггера, синхронного D-триггера?

10. Чем отличается динамическое управление триггером от потенциального?

11. Как преобразовать D-триггер в Т-триггер?

 

Л И Т Е Р А Т У Р А

 

1. Мальцева Л.A. и др. Основы цифровой техники. - М.: Радио и связь, 1986. - С. 24 - 28.

2. Терехов В.М. Элементы автоматизированного электропривода. - М.: Энергоатомиздат, 1987. - С. 106 - 111.

3. Грицевский П.М., Мамченко А.Е., Степенский Б.М. Основы автоматики, импульсной и вычислительной техники. - М.: Радио и связь, 1987. - С. 123 - 132.

 



<== предыдущая лекция | следующая лекция ==>
ИЗУЧЕНИЕ ТРИГГЕРОВ | ПРАКТИЧЕСКАЯ ЧАСТЬ


Карта сайта Карта сайта укр


Уроки php mysql Программирование

Онлайн система счисления Калькулятор онлайн обычный Инженерный калькулятор онлайн Замена русских букв на английские для вебмастеров Замена русских букв на английские

Аппаратное и программное обеспечение Графика и компьютерная сфера Интегрированная геоинформационная система Интернет Компьютер Комплектующие компьютера Лекции Методы и средства измерений неэлектрических величин Обслуживание компьютерных и периферийных устройств Операционные системы Параллельное программирование Проектирование электронных средств Периферийные устройства Полезные ресурсы для программистов Программы для программистов Статьи для программистов Cтруктура и организация данных


 


Не нашли то, что искали? Google вам в помощь!

 
 

© life-prog.ru При использовании материалов прямая ссылка на сайт обязательна.

Генерация страницы за: 0.32 сек.