русс | укр

Языки программирования

ПаскальСиАссемблерJavaMatlabPhpHtmlJavaScriptCSSC#DelphiТурбо Пролог

Компьютерные сетиСистемное программное обеспечениеИнформационные технологииПрограммирование

Все о программировании


Linux Unix Алгоритмические языки Аналоговые и гибридные вычислительные устройства Архитектура микроконтроллеров Введение в разработку распределенных информационных систем Введение в численные методы Дискретная математика Информационное обслуживание пользователей Информация и моделирование в управлении производством Компьютерная графика Математическое и компьютерное моделирование Моделирование Нейрокомпьютеры Проектирование программ диагностики компьютерных систем и сетей Проектирование системных программ Системы счисления Теория статистики Теория оптимизации Уроки AutoCAD 3D Уроки базы данных Access Уроки Orcad Цифровые автоматы Шпаргалки по компьютеру Шпаргалки по программированию Экспертные системы Элементы теории информации

Организация прерывания с интерфейсным адресом вектора прерывания И41.


Дата добавления: 2014-11-27; просмотров: 920; Нарушение авторских прав


АВП передаётся от исполнителя к задатчику по системной магистрали (/DAT7 – /DAT0) по сигналу /INTA.При реализации данной схемы организации прерываний во всех устройствах должны быть предусмотрены контроллеры прерываний устройств. Запросы прерываний устройств поступают от триггеров Тзпр1 – Тзпр8 в контроллеры. Контроллеры прерываний формируют сигналы /INT7 – /INT0, которые по соответствующим линиям поступают в контроллер прерываний процессора. При появлении запроса на одной из линий /INT7 – /INT0 контроллер прерывания процессора в задатчике прерывает программу своего процессора и производит захват управления магистралью. Процессор задатчика формирует импульс /INTA, который приводит к фиксации состояния запросов прерывания в контроллере для того, чтобы осуществить приоритетный арбитраж. Задатчик также сохраняет за собой управление магистралью между циклами, чтобы обеспечить себе неразрывно следующие друг за другом циклы магистрали. После выдачи первого импульса /INTA контроллер прерываний процессора выставляет на адресные линии магистрали /ADRA – /ADR8 код прерывания. Код соответствует номеру активной линии запроса прерывания, имеющей наивысший приоритет, и является адресом исполнителя, который должен выдать адрес вектора прерывания. С этого момента в процедуре прерывания с интерфейсным адресом вектора могут осуществляться две различные последовательности, так как на магистрали могут работать либо задатчики, формирующие два импульса /INTA, либо задатчики, формирующие три импульса /INTA. На рис. 4.25 приведена временная диаграмма прерывания с интерфейсным адресом вектора с двумя импульсами /INTA.



<== предыдущая лекция | следующая лекция ==>
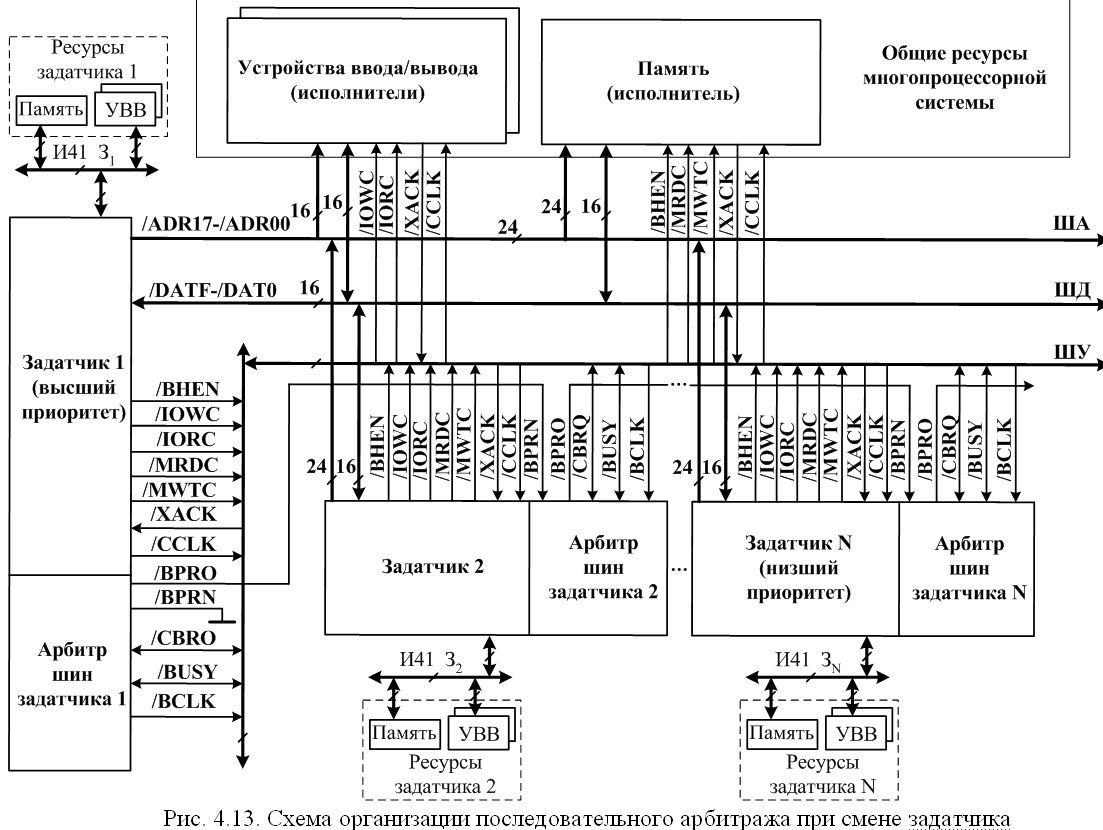
Организация прерывания с НЕинтерфейсным адреса вектора прерывания в И41. | Организация последовательного арбитража.


Карта сайта Карта сайта укр


Уроки php mysql Программирование

Онлайн система счисления Калькулятор онлайн обычный Инженерный калькулятор онлайн Замена русских букв на английские для вебмастеров Замена русских букв на английские

Аппаратное и программное обеспечение Графика и компьютерная сфера Интегрированная геоинформационная система Интернет Компьютер Комплектующие компьютера Лекции Методы и средства измерений неэлектрических величин Обслуживание компьютерных и периферийных устройств Операционные системы Параллельное программирование Проектирование электронных средств Периферийные устройства Полезные ресурсы для программистов Программы для программистов Статьи для программистов Cтруктура и организация данных


 


Не нашли то, что искали? Google вам в помощь!

 
 

© life-prog.ru При использовании материалов прямая ссылка на сайт обязательна.

Генерация страницы за: 0.447 сек.