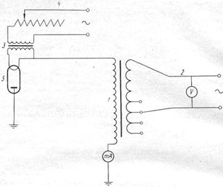
Принципиальная схема рентгеновской установки типа ДРОН.
Принципиаьная схема установки семейства ДРОН (Дифрактометр Рентгеновский Общего Назначения) приведена на рис. .

1- трансформатор высокого напряжения
2- автотрансформатор (регулятор на первичной обмотке)
3- обмотка трансформатора, отвечающего за накал катода трубки
4- регулятор напряжения
5- рентгеновская трубка
Качество трубки характеризуется ее мощностью, формой фокального пятна и равномерностью распределения электронов в этом пятне.
Фокальное пятно–часть поверхности анода, на которую попадает пучок электронов.