русс | укр

Языки программирования

ПаскальСиАссемблерJavaMatlabPhpHtmlJavaScriptCSSC#DelphiТурбо Пролог

Компьютерные сетиСистемное программное обеспечениеИнформационные технологииПрограммирование

Все о программировании


Linux Unix Алгоритмические языки Аналоговые и гибридные вычислительные устройства Архитектура микроконтроллеров Введение в разработку распределенных информационных систем Введение в численные методы Дискретная математика Информационное обслуживание пользователей Информация и моделирование в управлении производством Компьютерная графика Математическое и компьютерное моделирование Моделирование Нейрокомпьютеры Проектирование программ диагностики компьютерных систем и сетей Проектирование системных программ Системы счисления Теория статистики Теория оптимизации Уроки AutoCAD 3D Уроки базы данных Access Уроки Orcad Цифровые автоматы Шпаргалки по компьютеру Шпаргалки по программированию Экспертные системы Элементы теории информации

Микроконтроллер КР1816ВЕ51 или Intel 8051АН


Дата добавления: 2013-12-23; просмотров: 3655; Нарушение авторских прав


Восьмиразрядные МК

Микроконтроллеры

Особенности МП К1810ВМ88 или Intel 8088

Адресное пространство МП

 

Память представляется массивами с 20-разрядным адресом. Диапазон равен 00000 – FFFFF.

Полная информация для определения физического адреса находится в двухбайтном пространстве, т.е. адрес объекта – сегмент смещения. Максимальный объем сегмента 64 кбайт.

 

Данный МП имеет 8-разрядную шину данных и позволяет перевести аппаратные средства серии 580 на программную среду серии 1810 для повышения производительности.

Микропроцессоры ВМ86 и ВМ88 имеют одинаковую архитектуру и систему команд, одинаковую нумерацию выводов, но линия А8-А15 используется только для выдачи адреса у МП ВМ88. Линия ВНЕ заменена на SSО (линия состояния).

Длина очереди команд – 4 байта для ВМ88 и 6 байт для ВМ86.

Наиболее простая система строится на базе ВМ88, когда применяется программируемый параллельный интерфейс (86), ПЗУ и ОЗУ (80).

 

Микроконтроллер (однокристальная микроЭВМ) – это функционально законченное, программно управляемое устройство, предназначенное для обработки информации и управления.

Внутренними компонентами МК, помимо стандартных, имеющихся в МП (АЛУ, устройство управления, регистры, счетчик команд, стековый указатель), имеется внутренняя (резидентная) память программ, внутренняя память данных, последовательный и параллельный интерфейсы, таймеры-счетчики, сторожевой таймер, генератор.

Фирмы-изготовители: Intel, Motorola, Microchips technology, Siemens.

Достоинства микроконтроллеров:

- дешевизна;

- простота;

- компактность;

- RISC-архитектура.

Табл.8

Тип, обозначение Зарубежный аналог Память программ, Кбайт Память данных ОЗУ, байт Тактовая частота, МГц Потребляемый ток, мА
Семейство МК 48
КР1816ВЕ35 -
КР1816ВИ48
КР1816ВЕ49
КР1830ВЕ35 80С35 -
КР1830ВИ48 80С48
Семейство МК 51
КР1816ВЕ31 8031АН -
КР1816ВЕ51 8051АН
КМ1816ВЕ751 8751Н
КР1830ВЕ31 80С31ВН -
КР1830ВЕ51 80С51ВН

 



Данный МК выпускается в трех модификациях:

1) Масочно программируемое ПЗУ (4кб);

2) Электрически перепрограммируемое с ультрафиолетовым стиранием ПЗУ;

3) Внешнее ПЗУ.

Технические характеристики

1) число выводов - 40;

2) питание - +5В;

3) тактовая частота 1-12 МГц;

4) быстродействие – 1Млн. операций в секунду;

5) потребляемая мощность – 1,5 Вт;

6) диапазон рабочих температур - –10 - +70—С;

7) число портов ввода-вывода 4;

8) разрядность шины данных - 8;

9) разрядность шины адреса - 16;

10) число базовых команд – 111.

11) n-МОП – технология;

12) два 8-разрядных порта (нулевой и второй) образуют 16-разрядную шину адреса; третий порт выполняет альтернативную функцию: по линиям могут передаваться данные или сигналы управления.

Условное графическое обозначение МК51 представлено на рисунке 38.

Рис. 38

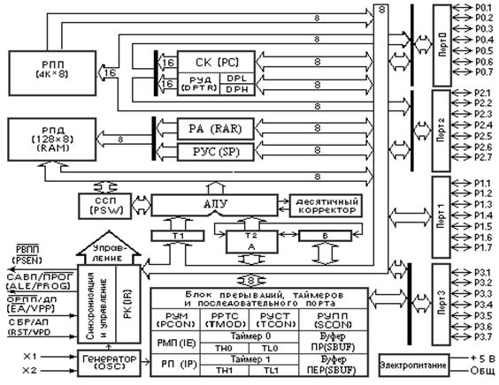
Внутренняя архитектура (программно-логическая модель) МК51 представлена на рисунке 39.

Рис. 39



<== предыдущая лекция | следующая лекция ==>
Принцип построения МП на базе К1810ВМ86, включенного в максимальном режиме | Арифметическо-логическое устройство


Карта сайта Карта сайта укр


Уроки php mysql Программирование

Онлайн система счисления Калькулятор онлайн обычный Инженерный калькулятор онлайн Замена русских букв на английские для вебмастеров Замена русских букв на английские

Аппаратное и программное обеспечение Графика и компьютерная сфера Интегрированная геоинформационная система Интернет Компьютер Комплектующие компьютера Лекции Методы и средства измерений неэлектрических величин Обслуживание компьютерных и периферийных устройств Операционные системы Параллельное программирование Проектирование электронных средств Периферийные устройства Полезные ресурсы для программистов Программы для программистов Статьи для программистов Cтруктура и организация данных


 


Не нашли то, что искали? Google вам в помощь!

 
 

© life-prog.ru При использовании материалов прямая ссылка на сайт обязательна.

Генерация страницы за: 1.257 сек.