русс | укр

Языки программирования

ПаскальСиАссемблерJavaMatlabPhpHtmlJavaScriptCSSC#DelphiТурбо Пролог

Компьютерные сетиСистемное программное обеспечениеИнформационные технологииПрограммирование

Все о программировании


Linux Unix Алгоритмические языки Аналоговые и гибридные вычислительные устройства Архитектура микроконтроллеров Введение в разработку распределенных информационных систем Введение в численные методы Дискретная математика Информационное обслуживание пользователей Информация и моделирование в управлении производством Компьютерная графика Математическое и компьютерное моделирование Моделирование Нейрокомпьютеры Проектирование программ диагностики компьютерных систем и сетей Проектирование системных программ Системы счисления Теория статистики Теория оптимизации Уроки AutoCAD 3D Уроки базы данных Access Уроки Orcad Цифровые автоматы Шпаргалки по компьютеру Шпаргалки по программированию Экспертные системы Элементы теории информации

Методика измерений


Дата добавления: 2015-08-31; просмотров: 721; Нарушение авторских прав


В данной работе измеряется коэффициент взаимной индукции между длинной катушкой 1 (L1) и короткой катушкой 2 (L2), которая надевается на катушку 1 и может перемещаться вдоль ее оси. Питание одной из катушек, например 1, осуществляется от генератора звуковой частоты PQ, напряжение с которого

(21.6)

подается через сопротивление R. Вольтметр, подключенный к панели PQ, измеряет действующие значения напряжения . Величина R выбирается таким образом, чтобы выполнялось неравенство

, (21.7)

где L1 – индуктивность катушки 1, R1 – ее активное сопротивление (R=10 кОм). В этом случае ток, протекающий через катушку 1, можно определить по формуле:

(21.8)

Переменный ток в катушке 1 создает переменную ЭДС взаимной индукции в катушке 2:

. (21.9)

Для измерения используется осциллограф. Амплитуда ЭДС взаимной индукции

, (21.10)

где ν – частота звукового генератора. Из формулы (21.10) имеем:

. (21.11)

Если поменять местами катушки 1 и 2, то можно аналогично измерить

. (21.12)

 

Экспериментальная установка.

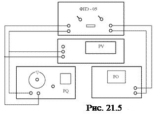
Для изучения явления взаимной индукции предназначена кассета ФПЭ – 05 «Взаимоиндукция», в которой расположены две катушки индуктивности 1 (L1) и 2 (L2) на одной оси (рис.21.4) и шток со шкалой (Ш), показывающий взаимное расположение катушек 1 и 2. Принципиальная схема установки показана на рис. 21.2. Для перестановки катушек необходимо переключатели П1 и П2 перебросить в противоположное положение. Электрическая схема подключения показана на рис. 21.5. Модуль ФПЭ-05 подключается к звуковому генератору РQ. Вольтметр PV, подключенный к панели РQ, измеряет действующие (эффективные) значения напряжения

(21.13)

Для измерения амплитуды ЭДС взаимной индукции используется электронный осциллограф (РО).

 
 



<== предыдущая лекция | следующая лекция ==>
Экспериментальная часть | Порядок выполнения работы


Карта сайта Карта сайта укр


Уроки php mysql Программирование

Онлайн система счисления Калькулятор онлайн обычный Инженерный калькулятор онлайн Замена русских букв на английские для вебмастеров Замена русских букв на английские

Аппаратное и программное обеспечение Графика и компьютерная сфера Интегрированная геоинформационная система Интернет Компьютер Комплектующие компьютера Лекции Методы и средства измерений неэлектрических величин Обслуживание компьютерных и периферийных устройств Операционные системы Параллельное программирование Проектирование электронных средств Периферийные устройства Полезные ресурсы для программистов Программы для программистов Статьи для программистов Cтруктура и организация данных


 


Не нашли то, что искали? Google вам в помощь!

 
 

© life-prog.ru При использовании материалов прямая ссылка на сайт обязательна.

Генерация страницы за: 0.038 сек.