русс | укр

Языки программирования

ПаскальСиАссемблерJavaMatlabPhpHtmlJavaScriptCSSC#DelphiТурбо Пролог

Компьютерные сетиСистемное программное обеспечениеИнформационные технологииПрограммирование

Все о программировании


Linux Unix Алгоритмические языки Аналоговые и гибридные вычислительные устройства Архитектура микроконтроллеров Введение в разработку распределенных информационных систем Введение в численные методы Дискретная математика Информационное обслуживание пользователей Информация и моделирование в управлении производством Компьютерная графика Математическое и компьютерное моделирование Моделирование Нейрокомпьютеры Проектирование программ диагностики компьютерных систем и сетей Проектирование системных программ Системы счисления Теория статистики Теория оптимизации Уроки AutoCAD 3D Уроки базы данных Access Уроки Orcad Цифровые автоматы Шпаргалки по компьютеру Шпаргалки по программированию Экспертные системы Элементы теории информации

Моделирование электрического поля и описание установки


Дата добавления: 2015-08-31; просмотров: 780; Нарушение авторских прав


 

Исследовать ЭСП, созданное зарядами в вакууме или в воздухе, сложно (нужны специальные приборы). Поэтому чаще всего для изучения поля зарядов используют его модель - поле токов в слабо проводящей среде (в нашем случае - в электропроводной бумаге), которое, как и поле зарядов, является потенциальным. При этом силовым линиям ЭСП соответствуют так называемые линии тока (линии, касательные к которым в каждой точке совпадают с направлением вектора плотности тока в этой точке), а поверхности равного потенциала этих полей просто совпадают. Сами потенциалы могут быть измерены вольтметром, снабженным проводником с зондом - изолированным металлическим стержнем с заостренным концом.


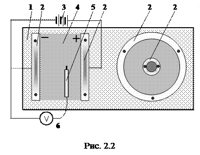
На рис. 2.2 представлены внешний вид и электрическая схема установки. Здесь 1 - планшет, на который укладывается электропроводная бумага 4, к которой, в свою очередь, прижимаются электроды 2. На эти электроды от источника постоянного тока 3 подается разность потенциалов, создающая электростатическое поле (и электрический ток на поверхности бумаги). С помощью зонда 5 и вольтметра 6 легко измерить потенциал в любой точке поля: для этого достаточно коснуться зондом той или иной точки бумаги.

В данной работе перед студентом стоят следующие задачи:

1) опытным путем найти эквипотенциальные поверхности для полей плоского и цилиндрического конденсаторов;

2) на бумаге для указанных выше полей провести эквипотен-циальные линии и линии напряженности;

3) вычислить величину напряженности поля плоского конденсатора; построить график зависимости потенциала от расстояния.



<== предыдущая лекция | следующая лекция ==>
Сведения из теории | Порядок выполнения работы


Карта сайта Карта сайта укр


Уроки php mysql Программирование

Онлайн система счисления Калькулятор онлайн обычный Инженерный калькулятор онлайн Замена русских букв на английские для вебмастеров Замена русских букв на английские

Аппаратное и программное обеспечение Графика и компьютерная сфера Интегрированная геоинформационная система Интернет Компьютер Комплектующие компьютера Лекции Методы и средства измерений неэлектрических величин Обслуживание компьютерных и периферийных устройств Операционные системы Параллельное программирование Проектирование электронных средств Периферийные устройства Полезные ресурсы для программистов Программы для программистов Статьи для программистов Cтруктура и организация данных


 


Не нашли то, что искали? Google вам в помощь!

 
 

© life-prog.ru При использовании материалов прямая ссылка на сайт обязательна.

Генерация страницы за: 0.164 сек.