русс | укр

Языки программирования

ПаскальСиАссемблерJavaMatlabPhpHtmlJavaScriptCSSC#DelphiТурбо Пролог

Компьютерные сетиСистемное программное обеспечениеИнформационные технологииПрограммирование

Все о программировании


Linux Unix Алгоритмические языки Аналоговые и гибридные вычислительные устройства Архитектура микроконтроллеров Введение в разработку распределенных информационных систем Введение в численные методы Дискретная математика Информационное обслуживание пользователей Информация и моделирование в управлении производством Компьютерная графика Математическое и компьютерное моделирование Моделирование Нейрокомпьютеры Проектирование программ диагностики компьютерных систем и сетей Проектирование системных программ Системы счисления Теория статистики Теория оптимизации Уроки AutoCAD 3D Уроки базы данных Access Уроки Orcad Цифровые автоматы Шпаргалки по компьютеру Шпаргалки по программированию Экспертные системы Элементы теории информации

Направления совершенствования САПР ТП


Дата добавления: 2015-08-06; просмотров: 2548; Нарушение авторских прав


6.2.1. Совершенствование процесса формирования технологических решений.Проектное технологическое решение — это описание технологических объектов и их взаимодействий, обеспечивающих достижение заданного множества результатов и их значений, соответствующих фиксированному множеству условий функционирования технологического объекта. Объектами проектных техноло­гических решений, формируемых в САПР ТП, являются ТП и их элементы. Термин «формирование» указывает на многоэтапный характер рассматриваемого процесса. Особо подчеркнем, что авто­матизированная система оказывает поддержку лишь процессу фор­мирования. Принятие решения остается прерогативой человека.

Технологическое проектное решение (TR) может быть формаль­но представлено через характеристики его объекта:

 

TR = <H, F, S, Z>, (6.1)

 

где Н — множество характеристик объекта проектирования, определяющих его взаимодействие с внешней средой; F — множество функций объекта проектирования; S — структура объекта проектирования; Z— множество параметров объекта проектирования.

Указанные множества назовем компонентами формального пред­ставления объекта проектного технологического решения. Каждое из множеств состоит из отдельных элементов (табл. 6.1), содержа­ние каждого из которых может быть представлено значением не­которой переменной соответствующего типа.

Проектное технологическое решение может быть получено в результате алгоритмического выполнения поставленной задачи проектирования. При этом, как правило, формируется его един­ственный вариант.

Методология принятия решений базируется на другом подходе. Вначале генерируют множество возможных вариантов решений, ведущих к достижению цели. Затем выполняют отбор (селекцию) возможных вариантов, часто совмещаемые с оптимизацией, в ре­зультате чего определяют единственный (оптимальный) вариант решения. Указанные процедуры выполняют на каждом этапе про­цесса проектирования.



 

Таблица 6.1

Компоненты представления объектов решений

Объект Компонент Содержание компонента
Оборудование Н Группа, тип, наименование, модель; параметры рабочего пространства; вид и параметры соединительных по­верхностей; список типов и геометри­ческих параметров обрабатываемых поверхностей; список приспособле­ний и диапазоны измерения показа­телей качества
    F Список реализуемых технологиче­ских методов
    S Компоновочная схема; система ко­ординат; характеристики движений рабочих органов
    Z Класс; мощность приводов; диапазо­ны изменений режимов обработки; коэффициент машино-часа; стои­мость
Приспособле­ние станочное специальной конструкции Н Наименование операции, приспо­собления; модель станка; код схемы установки; габаритные размеры при­способления; вид и параметры поса­дочных элементов; список базовых поверхностей заготовки, их характе­ристики и размеры; параметры точ­ности установки заготовки
    F Установка и закрепление заготовки; обеспечение выполнения содержа­ния операции
    S Схема установки заготовки; конст­рукция (сборочный чертеж, специ­фикация, рабочие чертежи деталей)
    Z Сила и время закрепления; стоимость и масса приспособления
Инструмент (режущий) Н Группа, тип, наименование, марка; материал и параметры посадочных поверхностей
    F Реализуемый технологический метод
    S Конструктивная схема
    Z Физико-механические свойства мате­риалов режущей и посадочной по­верхностей
Заготовка Н Характеристики геометрической фор­мы, качества, положение поверхно­стей
    F
    S Геометрическо-технологическая модель заготовки
    Z Характеристики объемных свойств материала; масса; габаритные разме­ры; вид (метод) изготовления

 

Продолжение табл. 6.1

Маршрутный технологиче­ский процесс Н Данные об основном материале, ис­ходной заготовке, вспомогательных и комплектующих материалах; коды материалов; коды единиц величин; нормы расхода; номера цеха, участ­ка, рабочего места; код и наимено­вание оборудования; информация об оснастке
    F Содержание операции
    S Номер, код, наименование операции в технологической последовательно­сти
    Z Трудозатраты
Технологиче­ская операция Н Обозначение, наименование детали; марка и твердость материала; наиме­нование операции; модель оборудо­вания; данные об устройстве и обо­значение управляющей программы ЧПУ; вспомогательный и режущий инструмент, наладочные размеры; количество деталей в партии
  F Содержание переходов
  S Номер и содержание переходов; число рабочих ходов
  Z Норма подготовительно-заключи­тельного времени; размеры обрабаты­ваемой поверхности; режим обработ­ки; основное, вспомогательное и штучное время

ТП может быть условно представлен последовательностью (це­почкой) векторов перевода качества, начало которой находится в зоне допустимых значений входных показателей качества (/), а конец — в зоне допустимых значений выходных (О) показателей качества предмета производства (рис. 7.2). Различие вариантов 4 и 5 заключается в том, что вариант 4 по завершении процесса форми­рования решения не привел к достижению его цели. В варианте 5 на завершающем этапе процесса формирования был найден мо­дифицирующий (изменяющий) решение вектор, позволивший достичь поставленной цели (на рисунке показан пунктиром). Ва­риант 5 также является возможным вариантом, который можно рассматривать наряду, например, с вариантами 2, 3 при выборе единственного из них.

Формированию и принятию решения предшествует возникнове­ние соответствующей ситуации. В производственной практике эта ситуация может быть связана, например, с необходимостью разра­ботки ТП изготовления данной детали. Характеристики желаемого объекта решения (объекта проектирования, TR ) фиксируют (иног­да в неявной форме) в техническом задании на проектирование:

 

(6.2)

 

где НI, FI, SI, ZI — компоненты формального представления же­лаемого объекта проектирования.

 

Рис. 6.2. Векторная интерпретация многоэтапного формирования проект­ного технологического решения:

I, О — зоны входных и выходных допустимых значений показателей качества предмета производства; 1 — идеальное решение; 2, 3 — альтернативные варианты решений; 4 — вариант, не приведший к достижению цели (решение не принято); 5 — модифицируемое на последнем этапе решение

Часто при описании желаемого объекта проектирования, ограничиваются лишь двумя компонентами:

(6.3)

Компоненты совокупно определяют цель решения. Множество Н1 включает входные и выходные характеристики взаимо­действия с внешней средой желаемого объекта проектирования.

При технологическом проектировании геометрическо-технологическую модель предмета производства (например, детали) считают априори известной.

Формирование проектного технологического решения можно представить в виде схемы

(6.4)

 

где индексом «О» помечены характеристики принятого решения.

Полностью принятое решение представляют в виде

 

(6.5)

 

Желаемое и принятое решения, как правило, не совпадают (не являются тождественными) ни полностью, ни в отдельных ком­понентах:

 

(6.6)

 

Вместе с тем принятое решение должно соответствовать техни­ческому заданию, как по составу, так и по значениям переменных, характеризующих объект проектирования

Структура объекта принятого решения может быть тождествен­на структуре желаемого объекта или включать последнюю, т. е. быть избыточной. Достижение цели решения обычно контролируют, сопоставляя характеристики Н, F, Z желаемого объекта и объекта принятого решения. С позиций оценивания результатов проекти­рования структуру объекта проектирования обычно не используют в качестве критерия при сравнении решений.

Если компоненты объекта принятого решения тождественны компонентам желаемого объекта решения, то решение является идеальным. Проектные технологические решения обычно носят многовариантный характер. Достижению цели решения может соответствовать множество альтернативных вариантов структуры его объекта (например, ТП). Принятие проектного решения — дей­ствие над множеством альтернатив, в результате которого вначале формируют подмножество выбранных альтернатив, а в заверше­нии — единственный (принятый) вариант решения.

При принадлежности объектов проектных решений одному и тому же функциональному классу (например, ТП, операций) меж­ду решениями (объектами решений) могут быть определены от­ношения тождества, эквивалентности, подобия.

Сравниваемые решения и тождественны ( ) если:

они относятся к одному и тому же объекту решения;

справедливы условия

(6.7)

 

Подчеркнем, что символ тождества относится здесь к составам множеств характеристик и структуре сравниваемых объектов.

Значения элементов множеств могут различаться, но решения все равно будут считаться тождественными. На идее использова­ния тождественности объектов проектирования основана автома­тизация проектирования ТП с использованием аналогов или тех­нологической параметризации.

Решения и эквивалентны если ( = ),

 

(6.8)

 

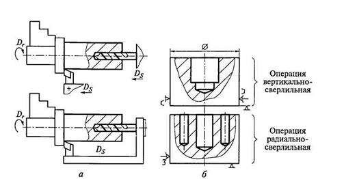
Пример эквивалентности решений для объекта проектирова­ния — технологической операции показан на рис. 6.3, а.

Решения TR и TR подобны, если подобны характеристики взаимодействия с внешней средой и функции их объектов:

 

 

Иллюстрация подобия технологических решений для объекта проектирования — технологической операции показана на рис. 6.3, б.

Оценки подобия объектов проектирования могут быть опреде­лены формально. Каждому объекту проектирования может быть поставлен во взаимно однозначное соответствие информацион­ный объект, описывающий его.


Рис. 6.3. Иллюстрация отношений проектных технологических решений:

а — эквивалентности; б — подобия

6.2.2. Автоматизация выбора технологических баз. Выбор технологических баз – важнейший этап проектирования ТП. В современных САПР ТП он практически не автоматизирован – принятие необходимого решения полностью возлагается на пользователя.

Сложность заключается в следующем:

· система должна «опознавать» заготовку как единый (целостный) объект в любом из ее промежуточных состояний.

· база данных о текущем состоянии заготовки должна быть динамической;

· должен быть организован автоматизированный отбор вариантов СУ заготовки с целью обеспечения заданного качества обработки.

Общее решение задачи разделения подмножеств обрабатываемых и необрабатываемых поверхностей заготовки затруднительно, поэтому при разработке САПР ТП возможно использование комплектов частных решений для отдельных групп и типов оборудования на основе ряда упрощающих допущений.

Выбор технологических баз может быть автоматизирован путем создания одноименного модуля в составе САПР ТП.

6.2.3. Прогнозирование качества изделия. Основной целью проектирования ТП является гарантированное при его реализации достижение заданного качества изделия. Ни одна из существующих САПР ТП не обладает возможностью прогнозирования ожидаемого качества изделия при реализации проектных решений, сформированных с ее помощью. Более того, прогнозирование ожидаемого качества не выполняют и при неавтоматизированном (традиционном) проектировании ТП. Однако, если в последнем случае отсутствие прогнозирования ожидаемого качества объяснимо физической невозможностью выполнения необходимых расчетов, то в САПР ТП такая возможность существует.

Для любой (N-й) операции или группы операций могут быть получены соотношения вида

 

где КN — значение сформированного после N-й операции показа­теля качества; HN — коэффициент трансформации свойств изде­лия по отношению к исходным (Км).

При известных структуре процесса и параметрах трансформа­ции свойств для каждой операции можно определить закономер­ности трансформации свойств для всего формируемого ТП. Введя необходимые критерии, можно решать задачи оптимизации зна­чений показателей качества для каждого этапа (операции) ТП.

6.2.4. Направленное формирование свойств изделий.Автоматизация синтеза структур маршрутных ТП, например, изготовления дета­лей машин позволит полноценно реализовать концепцию направ­ленного формирования свойств изделий [4]. Данная концепция базируется на представлении формирования показателей качества изделий при их изготовлении совокупностью процессов измене­ния и сохранения свойств предмета производства.

Изменение свойств связано с воздействием на предмет произ­водства технологических сред уровней отдельных операций, а со­хранение свойств обусловлено взаимодействием предмета произ­водства со средами технологических процессов.

Отличительной особенностью предложенной концепции, прин­ципиально отличающей ее от существующих, является то, что при принятии необходимых для изготовления изделий технологических решений учитываются возможные изменения значений всей сово­купности показателей качества, а не некоторых из них. Последнее возможно только при использовании современной вычислитель­ной техники, информационных и CALS-технологий [5], что является одним из основных условий реализации концепции.

6.2.5. Интеграция САПР ТП в системы поддержки и управления ЖЦИ.Проблема объединения автоматизированных систем, обеспечива­ющих поддержку отдельных этапов ЖЦИ, в интегрированную си­стему поддержки и управления ЖЦИ исключительно актуальна. Основным инструментом ее реализации являются CALS-технологии [5].

В основе концепции CALS-технологий лежит использование единого информационного пространства (интегрированной инфор­мационной среды), обеспечивающего единообразные способы информационного взаимодействия всех участников ЖЦИ: заказ­чиков, поставщиков (производителей) продукции, эксплуатаци­онного и ремонтного персонала.

Многие фирмы — разработчики средств автоматизации уже се­годня выпускают программные комплексы, ориентированные на использование в интегрированных системах поддержки ЖЦИ. Это, например, CAD/CAM/CAPP/PDM-системы.

Через PDM-систему осуществляется связь с системами управ­ления предприятием. Развитие концепции поддержки ЖЦИ привело к идее построения комплексов программных продуктов, призван­ных обеспечить «прозрачность» и управляемость всех процессов, которые сопровождают любое изделие: маркетинга, проектирова­ния, производства, эксплуатации и утилизации. Такие автомати­зированные системы называют PLM-системами, или системами управления ЖЦИ.

На машиностроительных предприятиях объединяющие информационные системы внедряют поэтапно. Создание PLM-систем практически невозможно без отлаженной методологии и опыта эксплуатации CAD/CAM/CAE/CAPP/PDM-систем в технических подразделениях и ERP-систем в хозяйственно-экономических службах.

6.2.6. Внедрение новых методологий проектирования.Необходимость обеспечения высокого качества конструкторско-технологического проектирования сложных изделий при сокращении времени проектирования привела к разработке новых методологий проектирования.

Одной из таких методологий, получивших в последнее время широкое распространение в промышленно развитых странах, яв­ляется методология Concurrent Engineering (СЕ-проектирование). В ее основе лежат принципы:

• единовременность — выполнение взаимосвязанных задач в одно и то же время при максимальном использовании преимуществ управления взаимосвязанной деятельностью;

• интеграция — связывание процессов через общее управление или отчетную информацию, либо управление независимыми за­даниями;

• предвидение последствий проектных решений начального этапа проектирования для ЖЦИ.

СЕ-проектирование позволяет в значительной мере совместить процессы формирования конструкторских и технологических ре­шений и существенно сократить длительность технической подго­товки производства рис. 6.4.

 

Рис.6.4. Развитие методологии проектирования

 

 

Эффективному внедрению СЕ-проектирования в производство способствует выполнение трех основных условий:

• создание междисциплинарных рабочих групп, включающих специалистов разного профиля (конструкторов, технологов, маркетологов и т.д.), объединенных общей целью — созданием кон­курентоспособного изделия;

• организация работы всех участников групп в локальной сети с обменом информацией через общую базу данных в соответствии с уровнями доступа;

• разработка автоматизированных, CALS-совместимых средств, обеспечивающих поддержку формируемых проектных решений в соответствии с фирменным стилем предприятия.

При создании междисциплинарных групп должны быть разра­ботаны и утверждены соответствующими нормативными докумен­тами процедуры принятия решения.

На сегодняшний день СЕ-проектирование не обладает проце­дурной частью, достаточной для ее эффективного внедрения в отечественном машиностроении. Вместе с тем в мировой практике известен ряд успешных и полноценных реализаций СЕ-проекти­рования, позволяющих, в частности, сократить длительность про­изводственно-технологического цикла изготовления наукоемких изделий на 35... 50 %.

Одним из направлений реализации СЕ-проектирования явля­ется методология DFMA (Design for Manufacture and Assembly), базирующаяся на методиках:

• проектирования с учетом требований сборки DFA (Design for Assembly);

• проектирования с учетом требований изготовления деталей DFM (Design for Manufacture);

• проектирования с учетом требований конкурентоспособно­сти DFC (Design for Competitiveness).

Каждая из указанных методик реализована в соответствующих экспертных компонентах. Целью их применения является упрощение конструкции изделия исходя из структуры ТП его сбор­ки и изготовления деталей.

По своей сути модули DFA, DFM, DFC обеспечивают отработку конструкции на технологич­ность, выполняемую не только с позиций изготовления машины, но и с учетом характеристик ее жизненного цикла. Практическая реализация данной методологии и создание со­ответствующих средств автоматизации являются делом будущего.



<== предыдущая лекция | следующая лекция ==>
Отечественные САПР ТП | Разработка САПР ТП


Карта сайта Карта сайта укр


Уроки php mysql Программирование

Онлайн система счисления Калькулятор онлайн обычный Инженерный калькулятор онлайн Замена русских букв на английские для вебмастеров Замена русских букв на английские

Аппаратное и программное обеспечение Графика и компьютерная сфера Интегрированная геоинформационная система Интернет Компьютер Комплектующие компьютера Лекции Методы и средства измерений неэлектрических величин Обслуживание компьютерных и периферийных устройств Операционные системы Параллельное программирование Проектирование электронных средств Периферийные устройства Полезные ресурсы для программистов Программы для программистов Статьи для программистов Cтруктура и организация данных


 


Не нашли то, что искали? Google вам в помощь!

 
 

© life-prog.ru При использовании материалов прямая ссылка на сайт обязательна.

Генерация страницы за: 0.065 сек.