русс | укр

Языки программирования

ПаскальСиАссемблерJavaMatlabPhpHtmlJavaScriptCSSC#DelphiТурбо Пролог

Компьютерные сетиСистемное программное обеспечениеИнформационные технологииПрограммирование

Все о программировании


Linux Unix Алгоритмические языки Аналоговые и гибридные вычислительные устройства Архитектура микроконтроллеров Введение в разработку распределенных информационных систем Введение в численные методы Дискретная математика Информационное обслуживание пользователей Информация и моделирование в управлении производством Компьютерная графика Математическое и компьютерное моделирование Моделирование Нейрокомпьютеры Проектирование программ диагностики компьютерных систем и сетей Проектирование системных программ Системы счисления Теория статистики Теория оптимизации Уроки AutoCAD 3D Уроки базы данных Access Уроки Orcad Цифровые автоматы Шпаргалки по компьютеру Шпаргалки по программированию Экспертные системы Элементы теории информации

По категориям размещения и климатическому исполнению


Дата добавления: 2015-07-23; просмотров: 1107; Нарушение авторских прав


пять категорий размещения (вне и внутри помещений с различными условиями обогрева и вентиляции);

шесть климатических исполнений (У, ХЛ, ТВ, ТС, Т и О) в зависимости от географического места установки.

Общее устройство и принцип действия воздушных выключателей

 

В воздушных выключателях (ВВ) энергия сжатого воздуха используется и как движущая сила, перемещающая контакты, и как дугогасящая среда. Принцип действия дугогасительного устройства (ВВ) заключается в том, что дуга, образующаяся между контактами, подвергается интенсивному охлаждению потоком сжатого воздуха, вытекающего в атмосферу. При прохождении тока через ноль температура дуги падает и сопротивление промежутка увеличивается. Одновременно происходит механическое разрушение дугового столба и вынос заряженных частиц из промежутка.

 

ВВ конструктивно подразделяются на:

Выключатель с открытым отделителем

Выключатель с газонаполненным отделителем

Выключатель с камерами в баке со сжатым воздухом


 

Устройство разъединителей РВ и РВО показано на рисунке 1. Для создания необходимого давления между подвижными и неподвижными контактами с обеих сторон параллельных подвижных контактов установлены пружины, а для исключения самопроизвольного отключения разъединителя, при прохождении через него токов короткого замыкания, на подвижных контактах установлены стальные пластины, которые образуют электромагнитные замки.

 

 

Рисунок 1 – Высоковольтные разъединители внутренней установки:

а — однополюсный на 6 кВ; б — трехполюсный на 10 кВ; 1 — цоколь;

2 — опорный изолятор; 3 — неподвижный контакт; 4 — ось;

5 — скоба упора; 6 — подвижный контактный нож; 7 — ушко

для управления разъединителем; 8 — рама; 9 — вал; 10 — упор;

11 — нож разъединителя с контактными пружинами;

12 — фарфоровая тяга



 

 

Рисунок 2 – Рычажный привод ПР-2:

1 — передний подшипник; 2 — фиксатор; 3 — рукоятка; 4 — направляющие; — поводок; 6 — шпильки; 7 — задний подшипник; 8 — регулировочный сектор; 9 — рычаг

 

 

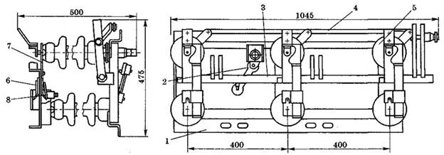
Рисунок 3 – Двухколонковые разъединители типа РЛНДЗ (один полюс):

а — на 35 кВ, 1000 А; б — на 110 кВ, 2000 А; 1, 2 — полуножки с ламелями; 3 — поворотные изоляторы; 4 — привод; 5 — заземляющие ножи; 6 — рама основания; 7 — контакты заземлителей

 

Включение и отключение разъединителей производится с помощью рычажных приводов марки ПР, ПРН, ДРНЗ, червячных ПЧ, ПЧН и др. Разъединители РЛНЗ снабжаются заземляющими ножами, причем вал с этими ножами блокируется с валом разъединителя для исключения ошибочных действий при переключениях. Рычажный привод ПР-2 (рисунок 2) применяется с разъединителями на ток до 600 А. Он имеет передний 1 и задний 7 подшипники, скрепленные между собой шпильками 6. Длина шпилек регулируется. Управление осуществляется с помощью рукоятки 3, соединенной поводком 5 с регулировочным сектором 8, сектор поворачивает закрепленный на нем рычаг 9, а соединенная с ним тяга поворачивает вал разъединителя. Во включенном или отключенном положении разъединителя привод можно застопорить фиксатором 2.

 

 

Рисунок 4 – Разъединитель

РЛНД 1-10Б/400У1 на напряжение 10кВ, ток 400 А:

1 — рама; 2 — рычаг; 3 — вал; 4 — тяга, с помощью которой поворачивается изолятор с подвижными контактами; 5 — изолятор, вращающийся вместе с подвижными контактами; 6 — стальные пластины магнитного замка; 7 — контакт; 8 — пружины для создания плотности контакта

 

Разъединитель РЛНДЗ (рисунок 3) имеет заземляющие ножи. При отключении ножи заземления замыкают на землю провода, которые присоединены к разъединителю. Между заземляющими и рабочими ножами обязательно устанавливается механическая блокировка для того, чтобы не допустить включения заземляющих ножей при включенном разъединителе.

 

Заземление отключенных участков производится при помощи стационарных заземляющих ножей, составляющих единое целое с разъединителем.

Комплектно с разъединителем поставляется ручной привод с одним или двумя блок-замками.

 



<== предыдущая лекция | следующая лекция ==>
По назначению | Классификация и устройство разъединителей


Карта сайта Карта сайта укр


Уроки php mysql Программирование

Онлайн система счисления Калькулятор онлайн обычный Инженерный калькулятор онлайн Замена русских букв на английские для вебмастеров Замена русских букв на английские

Аппаратное и программное обеспечение Графика и компьютерная сфера Интегрированная геоинформационная система Интернет Компьютер Комплектующие компьютера Лекции Методы и средства измерений неэлектрических величин Обслуживание компьютерных и периферийных устройств Операционные системы Параллельное программирование Проектирование электронных средств Периферийные устройства Полезные ресурсы для программистов Программы для программистов Статьи для программистов Cтруктура и организация данных


 


Не нашли то, что искали? Google вам в помощь!

 
 

© life-prog.ru При использовании материалов прямая ссылка на сайт обязательна.

Генерация страницы за: 1.093 сек.