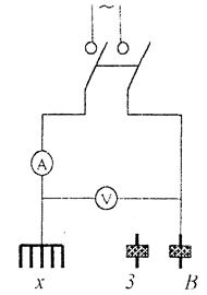
Сутність даного методу полягає у вимірюванні сили струму і спаду напруги на кожній парі заземлень за схемами поданими на малюнку. Потім визначаємо опір розсіювання струму в землі:

Опір захисного заземлення підраховуємо за формулою:


Схема вимірювання опору захисного заземлення методом трьох вимірювань