русс | укр

Языки программирования

ПаскальСиАссемблерJavaMatlabPhpHtmlJavaScriptCSSC#DelphiТурбо Пролог

Компьютерные сетиСистемное программное обеспечениеИнформационные технологииПрограммирование

Все о программировании


Linux Unix Алгоритмические языки Аналоговые и гибридные вычислительные устройства Архитектура микроконтроллеров Введение в разработку распределенных информационных систем Введение в численные методы Дискретная математика Информационное обслуживание пользователей Информация и моделирование в управлении производством Компьютерная графика Математическое и компьютерное моделирование Моделирование Нейрокомпьютеры Проектирование программ диагностики компьютерных систем и сетей Проектирование системных программ Системы счисления Теория статистики Теория оптимизации Уроки AutoCAD 3D Уроки базы данных Access Уроки Orcad Цифровые автоматы Шпаргалки по компьютеру Шпаргалки по программированию Экспертные системы Элементы теории информации

Ступень временной коммутации


Дата добавления: 2014-11-27; просмотров: 4070; Нарушение авторских прав


Блок или модуль, осуществляющий функцию временной коммутации цифрового сигнала (преобразование его временной координаты), называется временной ступенью коммутации или Т-ступенью (от time - время).

Пусть на вход коммутационно­го модуля с ИКМ линии поступают, а с выхода модуля уходят в ИКМ линию времяуплотненные ИКМ сигналы (рис. 2.2). За каждым ка­нальным интервалом закреплен строго определенный ИКМ сигнал (речевой сигнал абонента). Напри­мер, абонент А закреплен за каналь­ным интервалом 1 входящей ИКМ линии, а абонент В за канальным интервалом 15 исходящей. Инфор­мация об этом передается в сиг­нальном временном канальном ин­тервале. Изменение порядка следо­вания одного канального интервала. Иллюстрация принципа временной коммутации исходящей ИКМ линии по сравнению с входящей означает передачу речевой информации от одного абонента к другому. В этом и заключается принцип временной коммутации (иногда говорят о перестановке канальных интервалов или перемещении информации из канала в ка­нал). Принцип временной коммутации иллюстрирует рис. 2.2, где показан один двухпроводный тракт (например, на передачу). Для осуществления разговора абонентов необходимо ор­ганизовать такой же тракт на прием, т.е. разговорный тракт должен быть четырехпроводным.

 

Рис 2.2 Линия времяуплотненных ИКМ сигналов

 

Использование векторного представления цифро­вой коммутации (рис. 2.3) в координатах пространст­во-время позволяет несколько по-иному описать принцип временной коммутации.

 

 

 

Рис. 2.3. Векторное представление временной коммутации

Структурно ТГ-ступень характеризуется емкостью Т=N*M/К, где N - число входящих временных ка­нальных интервалов в ИКМ линии; М — число канальных интервалов исходящей ИКМ линии; К - число бит в одном кодовом слове (иногда, это если значение известно заранее, записывают Т: N х М).



Т-ступени могут быть реализованы двумя способами: с помощью управляемых пере­менных линий задержки или с использованием цифровых запоминающих устройств (ЗУ). Схемы с использованием линий задержки отличаются простотой исполнения, но имеют су­щественный недостаток - последовательную передачу кодовых слов. Для организации па­раллельной передачи количество схем увеличивается в число раз, соответствующее числу разрядов в кодовом слове. Поэтому в настоящее время Г-ступени цифровых коммута­ционных полей строятся только на ЗУ вследствие простоты и низкой стоимости реализации.

В самом общем виде Т-ступень содержит два ЗУ - речевое и управляющее (рис. 2.4). Ре­чевое ЗУ предназначено для записи/считывания кодовых слов коммутируемых канальных ин­тервалов, а управляющее содержит адреса записи/считывания для ячеек речевого ЗУ. Эти ад­реса записываются в управляющие ЗУ из управляющих устройств системы коммутации.

 

 

Рис. 2.4. Общая схема реализации Т-ступени

 

ЗУ Т-ступени могут работать в двух эквивалентных по результату коммутации режимах: «последовательная запись/произвольное считывание» и «произвольная запись/ последовательное считывание».

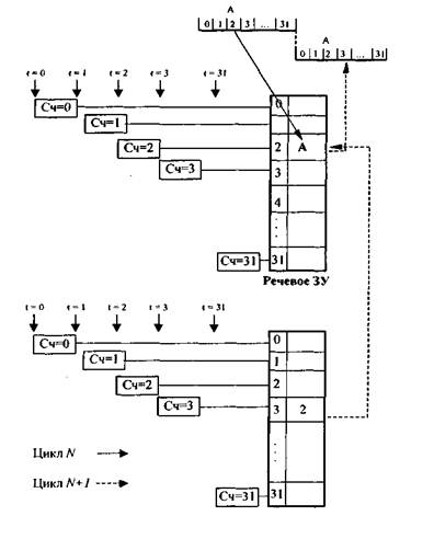
1) В режиме последовательной записи/произвольного считывания (рис. 2.5) происхо­дит последовательная запись кодовых слов в речевое ЗУ по сигналам специально органи­зованного счетчика номеров ячеек ЗУ и произвольное считывание из речевого ЗУ по ад­ресам, получаемым либо из управляющего ЗУ, либо из управляющего устройства. В этом случае определенные ячейки памяти закрепляются за соответствующими каналами вхо­дящей ИКМ линии. Информация каждого входящего временного интервала запоминается в последовательных ячейках памяти, что обеспечивается увеличением на единицу содер­жимого счетчика на каждом временном интервале. Пусть информация из канального ин­тервала 2 должна бить передана в канальный интервал 3. По синхронизирующему сигна­лу станции, совпадающему с началом канального интервала 0, счетчик речевого ЗУ обну­ляется. (Здесь предполагается, что структура цикла времяуплотненного группового сиг­нала внутри Г-ступени остается такой же, как и в ЦСП. В реальных системах коммутации такого ограничения может не быть. Кроме того, канальные интервалы 0 и 16 внутри ком­мутационного поля могут использоваться для целей передачи внутристанционных сигна­лов и являться обычными коммутируемыми каналами). С помощью последовательного увеличения значения счетчика, формирующего адреса речевого ЗУ, кодированные отсче­ты всех каналов цикла записываются в это ЗУ. Тем самым реализуется режим последова­тельной записи в речевом ЗУ.

В следующем цикле осуществляется режим произвольного считывания. Для этой цели вновь организуется счетчик адресов управляющего ЗУ. Данные адреса записываются в управ­ляющее ЗУ центральным управляющим устройством АТС и определяют адрес считывания для речевого ЗУ. Для рассматриваемого примера при Сч = 3 будет считан адрес 2, сигнал счи­тывания подан по адресу 2 в речевое ЗУ, и информация канала 2 попадет в канальный интер­вал 3. Тем самым будет реализован режим произвольного считывания речевого ЗУ.

 

Рис.2.5. Иллюстрация работы Г-ступени.

Режим «последовательная запись/произвольное считывание»

2) В режиме «произвольной записи/последовательного считывания» (рис. 2.6) происходит произвольная запись в речевое ЗУ кодовых слов по адресам, вырабатываемым управляющим ЗУ или управляющим устройством системы, и последовательное считывание по сигналам счетчика. В этом случае поступающая на вход информация записывается в ячейки речевого

ЗУ в соответствии с адресом, хранящимся в управляющей памяти, а считывание информации производится последовательно - ячейка за ячейкой под управлением счетчика исходящих временных интервалов. В нашем примере информация, принятая в течение временного ин­тервала 2, записывается непосредственно в речевое ЗУ по адресу 3, откуда автоматически считывается в исходящий канал с номером 3 исходящей ИКМ линии.

Рис. 2.6. Иллюстрация работы Т-ступени. Режим «произвольная запись/последовательное считывание»

 

 

Выбор режима работы Т-ступени зависит от конкретной реализации коммутационного поля.

Пусть Т-ступень имеет параметры Т: NxN/К. Здесь К - длина кодового слова. Тогда ко­личество канальных интервалов, которое может быть скоммутировано Т-ступенью, рассчи­тывается по формуле:

где Тч - время цикла ИКМ линии (мкс); Р -- в ЗУ бит; t4 - время цикла ЗУ (мкс); А - к речевому ЗУ.

Анализ этой формулы показывает, что емкость Т-ступени можно увеличить тремя спо­собами:

1) параллельной обработкой кодового слова канального интервала = 8 для стандарт­ного ИКМ преобразования, хотя в ряде цифровых коммутационных полей длина ко­дового слова может быть увеличена);

2) сокращением времени цикла ЗУ;

3) уменьшением значения параметра А.

Применение параллельной коммутации кодовых слов позволяет в общем случае в К раз увеличить емкость Т-ступени при всех прочих равных условиях.

Оценим возможность увеличения емкости Т-ступени путем уменьшения времени Tч. Пусть ЗУ имеет t4 = I не (отметим, что такое ЗУ является сверхскоростным). При парал­лельной обработке кодовых слов максимальная емкость Т-ступени с таким ЗУ составляет свыше 62 000 канальных интервалов, что соответствует станциям большой и средней емко­сти. Однако стоимость таких сверхбыстродействующих ЗУ чрезвычайно велика, поэтому реально используемая емкость Т-ступени равна обычно 128x128, 512x512 или 1024x1024 канальных интервалов. Для реализации цифровых коммутационных полей большой емко­сти используют многозвенный метод соединения Г-ступеней.

 

 

Рис. 2.7. Режим раздельной записи/считывания

 

И, наконец, рассмотрим третий фактор возможного увеличения емкости Г-ступени: раз­личные способы организации доступа к ЗУ. Параметр А учитывает увеличение быстро­действия ЗУ за счет изменения организации доступа к нему по сравнению с основной схе­мой (рис. 2.4).

Основная схема Т-ступени характеризуется тем, что в ней поле ячеек речевого ЗУ яв­ляется общим для всех канальных интервалов входящей ИКМ линии и, кроме того, это ре­чевое ЗУ последовательно работает на запись и на считывание. Для такой схемы А - 4.

В Т-ступенях цифровых телефонных систем наибольшее применение нашла другая схе­ма, работающая в режиме разделения записи и считывания (рис. 2.7).

Для реализации этого режима требуются два речевых ЗУ, в одно из которых запи­сываются кодовые слова, а из другого считываются, после чего в этих ЗУ изменяются ре­жимы. На рисунке условно показаны ключи, которые попеременно подсоединяют к входя­щей ИКМ линии, исходящей ИКМ линии, к управляющей памяти, счетчику и контроллеру разрешения записи оба речевых ЗУ.

На рис. 2.8 показаны временные диаграммы работы рассматриваемой Г-ступени. Во время первого (Т0) цикла, входные речевые кодовые слова в параллельной форме за­писываются в речевое ЗУ1, а исходящие речевые слова считываются из речевого ЗУ2. Входные речевые кодовые слова (A0B0C0D0...) последовательно записываются в ячейки ре­чевого ЗУ1 согласно последовательным, адресам (1, 2, 3, 4, ...), задаваемым счетчиком. За­пись производится по сигналам, формируемым контроллером разрешения записи. Ис­ходящие речевые кодовые слова (C.|B.,D.,A.i...) считываются из речевого ЗУ2 с использо­ванием адресов коммутации, получаемых из управляющего ЗУ (на рис. 2.7 эти адреса поме­чены цифрами 3, 2, 4, 1,...). В следующий (Тi) цикл, входные кодовые слова будут записы­ваться в речевое ЗУ2, а считываться из речевого ЗУ 1.

Рис. 2.8. Временные диаграммы работы Т - ступени, реализующей принцип разделения записи/считывания

 

Для Т-ступеней, реализующих режим разделения записи и считывания, число А равно 2, т.е. благодаря этому режиму удается в два раза увеличить емкость Т-ступени по сравнению с основной схемой фактически за счет удвоения емкости речевого ЗУ.

Быстродействие Т-ступени с раздельными записью/считыванием ограничивается скоро­стью записи в ЗУ, так как для записи требуются три сигнала (входные речевые кодовые сигналы, последовательный адрес записи и сигнал разрешения записи), а для считывания -два сигнала (исходящие речевые кодовые сигналы, адрес коммутации). В связи с тем, что режим «раздельная запись/раздельное считывание» реализуется так, что общее время запи­си равно времени считывания, быстродействие Т-ступени определяется временем процеду­ры записи. Однако возможен иной режим работы Т-ступени, который получил название «медленная запись/быстрое чтение», и позволяющий значительно увеличить ее быстродей­ствие. При этом, как правило, требуется уже три речевых ЗУ, работа которых может быть построена по принципу, например, парной записи, т.е. в первом цикле Т0 происходит разделение входных кодовых слов и запись их одновременно в ЗУ1 и ЗУ2 (например, слов Ао, С0 в ЗУ1, а В0 и D0 - в ЗУ2). Аналогично в цикле Т1 осуществляется запись в ЗУ2 и ЗУЗ, в цикле Т2 - в ЗУ 1 и ЗУЗ.

В То цикле из речевого ЗУЗ производится считывание кодовых слов согласно адресам управляющего ЗУ. Эти кодовые слова были записаны в двух предыдущих циклах Т1 и Т2(это могут быть слова A.t, Вt, Сt, Dt). В T1 цикле считывание осуществляется из речевого ЗУ1, а в Т2 цикле - из ЗУ2. Быстродействие такой Т-ступени определяется временем считы­вания из речевого ЗУ, которое значительно меньше времени записи в ЗУ.

Из всех рассмотренных схем Т-ступени минимальный объем речевого ЗУ имеет основ­ная схема. Увеличение быстродействия Т-ступени путем изменения режима доступа приво­дит к увеличению объема речевого ЗУ. Так, для реализации режима «медленная за­пись/быстрое чтение» требуются уже три речевых ЗУ. Однако, быстрое снижение стоимо­сти ЗУ в последние годы делают экономически обоснованным применение таких Т-ступеней.

Недостатком модуля временной коммутации является то, что он способен коммутиро­вать каналы только одной цифровой линии. Поэтому для коммутации N ИКМ линий необ­ходимо N модулей. А для организации соединения между собой разных ИКМ линий после­довательно с ним необходимо включение дополнительного оборудования - блоков про­странственной или пространственно-временной коммутации.



<== предыдущая лекция | следующая лекция ==>
Координаты коммутации | Ступень пространственной коммутации


Карта сайта Карта сайта укр


Уроки php mysql Программирование

Онлайн система счисления Калькулятор онлайн обычный Инженерный калькулятор онлайн Замена русских букв на английские для вебмастеров Замена русских букв на английские

Аппаратное и программное обеспечение Графика и компьютерная сфера Интегрированная геоинформационная система Интернет Компьютер Комплектующие компьютера Лекции Методы и средства измерений неэлектрических величин Обслуживание компьютерных и периферийных устройств Операционные системы Параллельное программирование Проектирование электронных средств Периферийные устройства Полезные ресурсы для программистов Программы для программистов Статьи для программистов Cтруктура и организация данных


 


Не нашли то, что искали? Google вам в помощь!

 
 

© life-prog.ru При использовании материалов прямая ссылка на сайт обязательна.

Генерация страницы за: 1.264 сек.