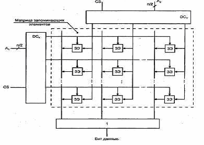
Структура 3D позволяет резко упростить дешифраторы адреса с помощью двухкоординатной выборки запоминающих элементов. Принцип двухкоординатнойвыборки поясняется на рисунке 17 на примере ЗУ типа ROM, реализующего только операции чтения данных. Здесь код адреса разрядностью n делится на две половины, каждая из которых декодируется отдельно. Выбивается запоминающий элемент, находящийся на пересечении активных линий выходов обоих дешифраторов. Таких пересечений будет как раз
с одноразрядной организацией.

Рис. 17. Структура ЗУ типа 3D
Суммарное число выходов обоих дешифраторов составляет
,
что гораздо меньше, чем 2n при реальных значениях n. Уже для ЗУ небольшой емкости видна эта существенная разница: для структуры 2D при хранении 1К слов потребовался бы дешифратор с 1024 выходами, тогда как для структуры типа 3D нужны два дешифратора с 32 выходами каждый. Недостатком структуры 3D в первую очередь является усложнение элементов памяти, имеющих двухкоординатную выборку. Структуры типа 3D имеют также довольно ограниченное применение, поскольку в структурах типа 2DM (2D модифицированная) сочетаются достоинства обеих рассмотренных структур - упрощается дешифрация адреса, и не требуются запоминающие элементы с двухкоординатной выборкой.