1. Контурный ток - условный ток, протекающий по независимому контуру.
Токи в ветвях всегда можно выразить через контурные токи

3. Контурные уравнения - особая форма записи второго закона Кирхгофа: алгебраическая сумма падений напряжений на сопротивлениях контура, вызванная каждым из контурных токов в отдельности, равна сумме ЭДС, действующих в контуре.

Ток Ikk` вызывает одинаково с ним направленные падения напряжений
4. Метод контурных токов - метод расчета сложной ЭЦ, основанный на контурных уравнениях. Этапы метода контурных токов:
а) выбор контурных токов;
б) запись контурных уравнений в стандартной форме для всех выбранных (независимых) контуров;
в) решение системы уравнений;
г) нахождение токов в ветвях.
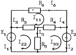
5. Пример расчета: а) по ячейкам схемы

б) 
в)
,
- определитель системы,
- алгебраические дополнения
г) 