русс | укр

Языки программирования

ПаскальСиАссемблерJavaMatlabPhpHtmlJavaScriptCSSC#DelphiТурбо Пролог

Компьютерные сетиСистемное программное обеспечениеИнформационные технологииПрограммирование

Все о программировании


Linux Unix Алгоритмические языки Аналоговые и гибридные вычислительные устройства Архитектура микроконтроллеров Введение в разработку распределенных информационных систем Введение в численные методы Дискретная математика Информационное обслуживание пользователей Информация и моделирование в управлении производством Компьютерная графика Математическое и компьютерное моделирование Моделирование Нейрокомпьютеры Проектирование программ диагностики компьютерных систем и сетей Проектирование системных программ Системы счисления Теория статистики Теория оптимизации Уроки AutoCAD 3D Уроки базы данных Access Уроки Orcad Цифровые автоматы Шпаргалки по компьютеру Шпаргалки по программированию Экспертные системы Элементы теории информации

Тренажеры


Дата добавления: 2013-12-23; просмотров: 1148; Нарушение авторских прав


Задача синтеза (обратная задача)

Задача анализа (прямая задача)

Изучается влияние некоторого входного параметра U на конечный результат или показатель Y. 1, 2, …, N — эксперименты, проводимые с моделью. Если подавать неоднократно различные значения U на модель M (алгоритм показан на рис. 20.10), то, измеряя Y, в результате моделирования на выходе модели можно построить зависимость Y = M(U), см. рис. 20.8. Обычно реально ограничиваются некоторым набором входных воздействий UminUUmax, проходя значения U точку за точкой с определенным шагом ΔU. При этом, во время такого эксперимента часть входных параметров X замораживают, оставляя их значения неизменными. При необходимости можно повторить эксперимент по перебору U из интервала UminUUmax при другом значении X. В этом случае получается семейство кривых Y = M(U, X), см. рис. 20.9.

 

Рис. 20.8. Примерный вид зависимости цели Y от управления U, полученный экспериментально на модели системы

 

 

Рис. 20.9. Примерный вид зависимости цели Y от управления U при различных значениях действующих помех Q

 

 

Рис. 20.10. Алгоритм, применяемый при решении прямой задачи исследования модели (анализ)

То есть, испытывая неоднократно модель при различных входных сигналах, мы можем получить зависимость выхода от входа. Такая задача называется прямой (см. лекцию 01). Результатом задачи является кривая, семейство кривых, таблица, а когда это возможно, то формула, закон и т. д. Основной вопрос анализа — познание свойств объекта. «Воздействуем на объект и смотрим, что получится, как он реагирует, делаем вывод о его свойствах, возможностях».



Важно! Важными понятиями в системотехники являются «управляемость» и «наблюдаемость». По виду кривых Y = M(U) (рис. 20.9) можно определить, для всех ли значений Y возможно некоторое значение входного сигнала (U, X)? Любое ли значение Y можно достигнуть, используя переменные (U, X) из выбранного диапазона. То есть характер кривых указывает, в какой области Y объект является управляемым. Понятие «управляемость» касается выходной переменной.

Наблюдаемость — возможность измерения, анализа той или иной характеристики объекта. Иногда из-за того, что некоторая величина не может быть непосредственно измерена в результате эксперимента, приходится, чтобы получить о ней хоть какое-то представление, довольствоваться косвенными показателями. Понятие «наблюдаемость» касается выходной переменной. Проектировать системы надо так, чтобы качество наблюдаемости и управляемости были обеспечены.

Отношение изменения Y к изменению U (при фиксированном X) называется чувствительностью Y по U. Обычно, так как кривая Y = M(U) для сложных систем нелинейна, то изменение U принимают небольшой величиной, в идеале ΔU –> 0. В математическом смысле, чувствительность — это производная dY/dU. Понятие чувствительности касается отношения выхода ко входу (рис. 20.8).

Чтобы сократить количество испытаний, входные воздействия выбирают по определенному правилу. Естественно желание получить необходимый объем информации о системе при минимальном количестве испытаний. Такую систему испытаний планируют факторным экспериментом.

Цель задачи синтеза — нахождение экстремума функции результата. Когда анализ закончен и построены функции, графики, таблицы, когда объект (его свойства и поведение) исследован во всех вариантах возможных входных воздействий, имеет смысл найти среди всего этого многообразия откликов наилучший. Обычно выход — цель функционирования системы, и логично принять, что цель должна принимать лучшие из всех возможных значений, потому имеет смысл найти такие значения входных параметров U, при которых выходной показатель Y примет свое наилучшее значение (экстремум). При этом под экстремумом может подразумеваться как минимум, так и максимум зависимости Y(U). Чтобы найти экстремум, модель включают в контур (см. рис. 20.11) с некоторым алгоритмом A, осуществляющим автоматическое управление входом U и построенным так, что в результате его работы производится поиск такого входного воздействия U на модель M, при котором она выдает наилучший выходной результат.

 

Рис. 20.11. Схема решения обратных задач (синтез)

Существуют различные алгоритмы поиска оптимума функции Y = M(U). Упомянем три из них (подробно эти и другие методы вы будете изучать в дисциплине «Системный анализ и исследование операций»).

  1. Метод перебора. Алгоритм метода перебора представлен на рис. 20.12. Этот метод обеспечивает поиск глобального экстремума, но расточителен к вычислительным ресурсам, так как просматривает все возможные входные значения U с определенным шагом H и выбирает наилучший среди всех выходных результатов Y (см. рис. 20.13). Наилучшее из встреченных Y сохраняется и уточняется в ячейке R, значение U при этом значении Y сохраняется по ходу алгоритма в ячейке Z. Кроме этого имеется риск пропустить нужную точку, «перешагнув» через нее из-за слишком большого размера шага H.

 

Рис. 20.12. Алгоритм перебора, примененный к решению задачи синтеза — поиск наилучшего U для максимизации Y

 

Рис. 20.13. Характерный рисунок поиска экстремума функции Y = M(U) методом перебора
  1. Метод деления шага пополам. Этот метод более экономичен по отношению к методу перебора, так как анализирует по ходу движения, в каком направлении происходит улучшение (увеличение или уменьшение) функции Y = M(U) и старается двигаться именно в этом направлении. Если при этом попутно обнаруживается, что тенденция во время движения изменилась (уменьшение Y сменилось на его увеличение или наоборот), то алгоритм (рис. 20.14) разворачивается обратно (то есть меняет знак приращения входного сигнала на обратный) и снова идет в нужную сторону, но шаг при этом уменьшается вдвое. Это позволяет подойти к точке экстремума с малым значением шага поиска, что лучше локализует результат (см. рис. 20.15).

 

Рис. 20.14. Алгоритм деления шага пополам, примененный к решению задачи синтеза — поиск наилучшего U для максимизации Y

 

Рис. 20.15. Характерный рисунок поиска экстремума функции Y = M(U) методом деления шага пополам
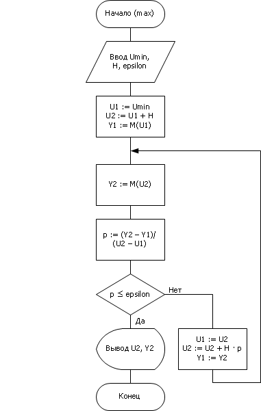
  1. Метод градиента. Метод, алгоритмическая реализация которого представлена на рис. 20.16, использует свойства гипотетической кривой Y = M(U), а именно тот факт, что по направлению производной p, вычисленной на основе двух рядом стоящих точек, можно определить, в какую сторону уменьшается (увеличивается) значение цели Y и двигаться сразу в нужную сторону (см. рис. 20.17). Такая стратегия существенно сокращает время поиска. Недостатком алгоритма является то, что производная может перестать меняться в области локального экстремума, и глобальный экстремум такой алгоритм не найдет.

 

Рис. 20.16. Алгоритм поиска экстремума методом градиента, примененный к решению задачи синтеза

 

Рис. 20.17. Характерный рисунок поиска экстремума функции Y = M(U) методом градиента

Задачу настройки модели мы уже подробно обсуждали в лекциях 02—08 (см. лекцию 02), и останавливаться на ней мы уже не будем. Это способы построения собственно самой модели.

Этот класс задач, использующих модели, применяют для выработки навыков обучения у управляющего персонала. К тренажерам близки компьютерные игры. Управление моделью в данном случае осуществляет человек-оператор, который наблюдает за выходом модели (см. рис. 20.18). Воздействуя на вход модели, оператор старается добиться нужного выходного результата, и в процессе этих действий получает необходимые навыки по управлению, которые затем может перенести на реальный объект. На рис. 20.19 показан примерный вид алгоритма реализации тренажера на базе модели.

 

Рис. 20.18. Схема использования модели в тренажерах

 

 

Рис. 20.19. Типичный вид алгоритма реализации тренажера

Разумеется, тренажер должен обладать качествами наблюдаемости и управляемость. То есть оператор в принципе может и должен судить о качестве своих действий, только наблюдая какие-то важные для себя результаты на выходе. И модель должна быть построена таким образом, чтобы можно было достичь хотя бы в принципе искомых результатов какими-то входными воздействиями на нее (управляемость).

Параллельно с моделью может функционировать система оценки деятельности оператора, а также блок автоматического определения наилучших решений, которые могут в определенных режимах (например, режим обучения или подсказки) помогать оператору (см. рис. 20.20). Для этого к модели следует подключить экспертную систему, дающую рекомендации оператору в затруднительных для него случаях.

 

Рис. 20.20. Схема построения тренажера с функциями экспертной системы

Для выработки устойчивых навыков у персонала в процессе тренажа в информацию вносят дополнительные помехи, имитирующие реальные сложности, возникающие на объекте. Можно вносить помехи на входе (нарушается управляемость), на выходе (нарушается наблюдаемость) или в переменные состояния модели (см. рис. 20.21). Следует различать равнодушно действующие помехи и целенаправленное противодействие. В первом случае речь идет о случайном процессе, мешающем оператору достичь цель. Случайная помеха может, как увеличить свое значение, так и равновероятно уменьшить его, то есть чаще всего среднее значение помехи на большом интервале времени равно нулю. Во втором случае речь идет о целенаправленной дезинформации оператора (среднее ее действия не равно нулю).

Для тренажа играет большую роль среднее значение и дисперсия величины помех, которые постепенно наращивают с ростом опыта оператора.

 

Рис. 20.21. Схема тренажера, дополненного генератором помех

Теперь обсудим вопросы снятия и использования системных характеристик, то есть таких характеристик, которые представляют свойства системы в целом. Напомним, важнейшими понятиями для системы являются управление, помехи, цель. Системная характеристика должна связать эти понятия вместе. Методика снятия характеристик такова.

Выделяем переменные U (вход, управление) и Y (выход, цель) для исследования.

Закрепляем остальные X в виде некоторого фиксированного значения. Для каждого U из диапазона допустимых значений UminUUmax наблюдаем и фиксируем в табл. 20.2 результат Y.

Таблица 20.2. Зависимость результата от управления при отсутствии действия помехи. Точки зависимости сняты как результат работы имитационной модели
Q (помехи) U (управление) Y (результат)

 

На графике (см. рис. 20.22) строим точку с координатами (U, Y). В результате ряда экспериментов получается кривая Y(U), которая показывает зависимость выхода от входа, цели от управления.

Обычно, если мы имеем дело моделью, отражающей сложную систему достаточно реально, с большой степенью адекватности, зависимость Y(U) должна иметь примерно такую зависимость, как показано на рис. 20.22.

 

Рис. 20.22. Примерный вид зависимости показателя цели от управления (ресурса), характерный для сложных систем

ВНИМАНИЕ! Здесь приведены наиболее общие рассуждения, вид кривой может быть весьма различным!!!! На рис. 20.22 четко видны следующие закономерности.

  1. Кривая исходит из нуля. Если не управлять, не вкладывать ресурс, не стараться, сама по себе система вряд ли выдаст тот результат, который нужен вам, который вам полезен.
  2. Кривая нелинейна. Сначала (при малых значениях U) приложение даже небольших усилий ведет к хорошему приросту показателя цели. Далее (при больших значениях U) каждый очередной успех ΔY дается все большим усилием ΔU. Говоря математическим языком, сначала при малых U, производная ΔYU имеет большое значение, с ростом U ее значение уменьшается.
  3. Кривая имеет затухающий характер, стремится к насыщению. Действительно, представьте, если вы вложите огромные значения ресурса (например, затратите на рекламу своей автозаправки в Перми миллиард рублей), то вряд ли получите соответствующую прибыль. Прибыль Y на этом участке U будет лимитирована уже другими факторами (наличие желающих заправиться будет не больше, чем число автовладельцев в городе, например). Реальная система рано или поздно, но выходит на определенный «предел», на «упор», насыщение.

Выделите на объекте переменную помеха Q. По смыслу эта переменная должна мешать достигать цель и не зависеть от воли владельца, управлять ею он не может.

Далее следует сменить значение Q (ранее мы считали, что оно равно 0) и провести все описанные выше действия снова (см. табл. 20.3).

Таблица 20.3. Зависимость результата от управления при повышенном уровне действия помехи. Точки зависимости сняты как результат работы имитационной модели
Q (помехи) U (управление) Y (результат)

 

И снова построить по таблице экспериментов график (см. рис. 20.23). Очевидно, что при действии возмущений Q график 2 пройдет ниже, чем график 1, поскольку наличие помехи означает, что для достижения того же эффекта Y следует приложить больше управляющих усилий U. Заметим, что менять Q во время изменения U не следует, чтобы четко видеть связь Y именно от U.

 

Рис. 20.23. Примерный вид зависимости показателя цели от управления (ресурса) и возмущения, характерный для сложных систем

Важно!!! Если помеха все-таки во время снятия кривой Y(U) меняется самопроизвольно, а это бывает в том случае, когда помеха носит случайный характер, то следует для нанесения одной точки на график сначала провести несколько экспериментов при одном и том же U, а потом усреднить результат Y. Средняя величина более достоверна, чем одна из случайных реализаций. Сколько надо провести экспериментов для усреднения, чтобы обеспечить заданную точность ответа, мы обсудим с вами позднее в лекции 21 и лекции 34.

Снова увеличьте Q и снова проведите эксперименты, и снова получите новую таблицу (см. табл. 20.4) и новый график (см. рис. 20.23) — Y(U). В результате вы получите семейство кривых 1-2-3, отражающих зависимость цели, как от управления, так и от помехи.

Таблица 20.4. Зависимость результата от управления при высоком уровне действия помехи. Точки зависимости сняты как результат работы имитационной модели
Q (помехи) U (управление) Y (результат)

 

Снятие экспериментальных данных закончено. Теперь в любой момент при заданных Q и Y, используя графики 1, 2, 3, вы можете предсказать результат — необходимый для достижения цели Y уровень управления U. Такая задача, напомним, называется обратной.

Теперь, используя снятые зависимости, полезно найти наилучшие решения среди множества возможных. Для этого на каждом графике 1, 2, 3 дополнительно построим линию затрат S (spending), так как управление всегда чего-то стоит, и чем больше вы используете этот ресурс, тем больше приходится за это платить. Наклон этой линии указывает на цену ресурса (см. рис. 20.24).

 

Рис. 20.24. Совмещенные графики выручки от реализации цели (выручка) и затрат на ее достижение

Примем для примера, что цена на ресурс неизменна и не зависит от того, сколько вы его используете (хотя, заметим, что бывают оптовые скидки).

Допустим, мы должны максимизировать цель Y. Тогда кривая R (receipts), выраженная в стоимостных единицах, символизирует выручку, а линия S (spending), выраженная в тех же стоимостных единицах символизирует затраты. Если вычесть из выручки затраты, то есть вычесть по точкам один график из другого (RS), то получим в итоге прибыль P (profit): P = RS. А именно, то, как прибыль зависит от управления (см. рис. 20.25).

 

Рис. 20.25. Суммарный график прибыли, полученной (выручка минус затраты) в зависимости от величины управления (ресурса) U. Наилучшее решение — максимум прибыли — точка Е1, наилучшее управление — U1

Очевидно, что зона B (bankrupt) — зона банкротства, точка N (null) — точка «ничего не делай и нечего не имей» и точка E1 (extremum) — зона наибольшей прибыли. Получить прибыли больше, чем Y1 при этом уровне, помех Q не удастся. Эта точка символизирует тот простой факт, что результат, достигнутый любой ценой, не окупает чрезмерных усилий по его достижению, «все хорошо в меру». Любые управляющие воздействия, даже большие, чем U1, дают худший результат.

Аналогично найдем точку E на остальных графиках 2, 3 — E2, E3.

 

Рис. 20.26. Графики прибыли, в зависимости от величины управления (ресурса) U и возмущения Q. Точки наилучших решений Еi — максимум прибыли. Соответствующие им наилучшие управления — Ui

Сведем все точки E со всех трех графиков на один новый график (см. рис. 20.27).

 

Рис. 20.27. Итоговый график наилучших решений E по критерию прибыли Y в зависимости от величины управления (ресурса) U и возмущений Q

Мы получили замечательную зависимость «кривая оптимальных значений цели Y в зависимости от наилучших решений U при заданном уровне помех Q», по которой можно узнать оптимальные прилагаемые управляющие усилия, необходимые для того, чтобы достичь наилучшего в этих условиях результата. Назовем эту кривую «взаимозависимость цели, управления и помех».

На графике видно, что наибольшая достижимая возможная прибыль уменьшается от точки к точке с увеличением величины помехи — точка E смещается. Например, возможен случай, если помехи очень сильны, а ресурс имеет фиксированную цену, то, возможно, что лучше ничего не делать.

Учтя вышесказанное и возвращаясь к лекции 01 (рис. 1.9—1.10), еще раз обратим внимание, что построение и использование моделей в составе программных продуктов — перспективное новое направление в проектировании программного обеспечения. Изучение оптимальных вариантов действий по управлению предприятием должно быть обеспечено инструментами моделирования

 

21. Лекция 21.
Статистическое моделирование

Статистическое моделирование — базовый метод моделирования, заключающийся в том, что модель испытывается множеством случайных сигналов с заданной плотностью вероятности. Целью является статистическое определение выходных результатов. В основе статистического моделирования лежит метод Монте-Карло. Напомним, что имитацию используют тогда, когда другие методы применить невозможно.



<== предыдущая лекция | следующая лекция ==>
Уравнение тепломассопереноса | Метод Монте-Карло


Карта сайта Карта сайта укр


Уроки php mysql Программирование

Онлайн система счисления Калькулятор онлайн обычный Инженерный калькулятор онлайн Замена русских букв на английские для вебмастеров Замена русских букв на английские

Аппаратное и программное обеспечение Графика и компьютерная сфера Интегрированная геоинформационная система Интернет Компьютер Комплектующие компьютера Лекции Методы и средства измерений неэлектрических величин Обслуживание компьютерных и периферийных устройств Операционные системы Параллельное программирование Проектирование электронных средств Периферийные устройства Полезные ресурсы для программистов Программы для программистов Статьи для программистов Cтруктура и организация данных


 


Не нашли то, что искали? Google вам в помощь!

 
 

© life-prog.ru При использовании материалов прямая ссылка на сайт обязательна.

Генерация страницы за: 0.192 сек.