русс | укр

Языки программирования

ПаскальСиАссемблерJavaMatlabPhpHtmlJavaScriptCSSC#DelphiТурбо Пролог

Компьютерные сетиСистемное программное обеспечениеИнформационные технологииПрограммирование

Все о программировании


Linux Unix Алгоритмические языки Аналоговые и гибридные вычислительные устройства Архитектура микроконтроллеров Введение в разработку распределенных информационных систем Введение в численные методы Дискретная математика Информационное обслуживание пользователей Информация и моделирование в управлении производством Компьютерная графика Математическое и компьютерное моделирование Моделирование Нейрокомпьютеры Проектирование программ диагностики компьютерных систем и сетей Проектирование системных программ Системы счисления Теория статистики Теория оптимизации Уроки AutoCAD 3D Уроки базы данных Access Уроки Orcad Цифровые автоматы Шпаргалки по компьютеру Шпаргалки по программированию Экспертные системы Элементы теории информации

Функции электропривода и задачи курса


Дата добавления: 2013-12-23; просмотров: 1201; Нарушение авторских прав


Глава первая

Трехобмоточные трансформаторы

Часто на подстанциях необходимо иметь 3 номинальных напряжения:

1) высшее Uв,ном

2) среднее Uс,ном

3) низшее Uн,ном

В этом случае применяют трехобмоточные трансформаторы, условное обозначение которых показано на рис. 3а

       
   
 
 

 

 


а) б)

рис. 3

при этом все обмотки имеют магнитную связь (рис. 3б).

В настоящее время выпускают трансформаторы, все 3 обмотки которых имеют одинаковую мощность Sном. Схема замещения трансформатора показана на рис. 4а, при расчетах электрических сетей напряжением не более 220 кВ используют упрощенную схему замещения (рис. 4б).

 

 

 
 

 


рис. 4а

 

 

рис. 4б

 

 

Как и в двухобмоточном трансформаторе, в таких схемах замещения отсутствует трансформация, а сопротивление обмоток СН и НН приводят к обмотке ВН.

Магнитные потери DPмагн принимают равными потерям в режиме холостого хода, т.е.:

Реактивная мощность намагничивания определяется по формуле:

где i0 – паспортное значение тока холостого хода.

Для трехобмоточных трансформаторов задают 3 значения потерь мощности короткого замыкания и 3 напряжения короткого замыкания по параметрам обмоток:

PK(в-н), PK(с-н), PK(в-с),

UK(в-н), UK(с-н), UK(в-с)

 

Каждое из этих значений относится к одному из трех опытов короткого замыкания.

Например, PK(в-н) и UK(в-н) определяют при замыкании накоротко обмотки низшего напряжения, при разомкнутой обмотке среднего напряжения и подведении к обмотке такого пониженного напряжения UK(в-н), чтобы токи в обмотках высшего и низшего напряжения были равны соответствующим номинальным токам (рис. 5).



 

Введение, общие сведения

1.1. Определение понятия “электропривод”

Электропривод - это управляемая электромеханическая система. Её назначение - преобразовывать электрическую энергию в механическую и обратно и управлять этим процессом.

Электропривод имеет два канала - силовой и информационный (рис.1.1). По первому транспортируется преобразуемая энергия (широкие стрелки на рис. 1.1), по второму осуществляется управление потоком энергии, а также сбор и обработка сведений о состоянии и функционировании системы, диагностика ее неисправностей (тонкие стрелки на рис. 1.1).

Рис. 1.1. Общая структура электропривода

Силовой канал в свою очередь состоит из двух частей - электрической и механической и обязательно содержит связующее звено- электромеханический преобразователь.

В электрическую часть силового канала входят устройства ЭП, передающие электрическую энергию от источника питания (шин промышленной электрической сети, автономного электрического генератора, аккумуляторной батареи и т.п.) к электромеханическому преобразователю ЭМП и обратно и осуществляющие, если это нужно, преобразование электрической энергии.

Механическая часть состоит из подвижного органа электромеханического преобразователя, механических передач и исполнительного органа установки, в котором полезно реализуется механическая энергия.

Электропривод взаимодействует с системой электроснабжения или источником электрической энергии, с одной стороны, с технологической установкой или машиной, с другой стороны, и наконец, через информационный преобразователь ИП с информационной системой более высокого уровня, часто с человеком - оператором, с третьей стороны (рис. 1.1).

Можно считать, что электропривод как подсистема входит в указанные системы, являясь их частью. Действительно, специалиста по электроснабжению электропривод обычно интересует как потребитель электроэнергии, технолога или конструктора машин - как источник механической энергии, инженера, разрабатывающего или эксплуатирующего АСУ, - как развитый интерфейс, связывающий его систему с технологическим процессом или системой электроснабжения.

Практически все процессы, связанные с механической энергией, движением, осуществляются электроприводом. Исключение составляют лишь автономные транспортные средства (автомобили, самолеты, некоторые виды подвижного состава, судов), использующие неэлектрические двигатели. В относительно небольшом числе промышленных установок используется гидропривод, еще реже - пневмопривод.

Столь широкое, практически повсеместное распространение электропривода обусловлено особенностями электрической энергии - возможностью передвигать ее на любые расстояния, постоянной готовностью к использованию, легкостью превращения в любые другие виды энергии.

Сегодня в приборных системах используются электроприводы, мощность которых составляет единицы микроватт; мощность электропривода компрессора на перекачивающей газ станции - десятки мегаватт, т.е. диапазон современных электроприводов по мощности превышает 1012. Такого же порядка и диапазон по частоте вращения: в установке, где вытягиваются кристаллы полупроводников, вал двигателя должен делать 1 оборот в несколько десятков часов при очень жестких требованиях к равномерности движения; частота вращения шлифовального круга в современном хорошем станке может достигать 150000 об/мин.

Но особенно широк - безгранично широк - диапазон применений современного электропривода: от искусственного сердца до шагающего экскаватора, от вентилятора до антенны радиотелескопа, от стиральной машины до гибкой производственной системы. Именно эта особенность - теснейшее взаимодействие с технологической сферой - оказывала и оказывает на электропривод мощное стимулирующее влияние. Непрерывно растущие требования со стороны технологических установок определяют развитие электропривода, совершенствование его элементарной базы, его методологии. В свою очередь, развивающийся электропривод положительно влияет на технологическую сферу, обеспечивает новые, недоступные ранее возможности.

С энергетической точки зрения электропривод - главный потребитель электрической энергии: сегодня в развитых странах он потребляет более 60% всей производимой электроэнергии. В условиях дефицита энергетических ресурсов это делает особенно острой проблему энергосбережения в электроприводе и средствами электропривода.

Специалисты считают, что сегодня сэкономить единицу энергетических ресурсов, например 1т условного топлива, вдвое дешевле, чем ее добыть. Нетрудно видеть. что в перспективе это соотношение будет изменяться: добывать топливо становится всё труднее, а запасы его всё убывают.

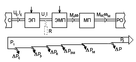
Рассмотрим подробнее силовой (энергетический) канал электропривода (рис. 1.2). Будем полагать, что мощность Р передается от сети (Р1) к рабочему органу (Р2), что этот процесс управляем и что передача и преобразование мощности сопровождается некоторыми ее потерями Р в каждом элементе силового канала.

Рис. 1.2. Энергетический канал

Функция электрического преобразователя ЭП (если он используется) состоит в преобразовании электрической энергии, поставляемой источником (сетью) и характеризуемой напряжением Uс и током Iс сети, в электрическую же энергию, требуемую двигателем и характеризуемую величинами U, I. Преобразователи бывают неуправляемыми (трансформатор, выпрямитель, параметрический источник тока) и чаще - управляемыми (мотор-генератор, управляемый выпрямитель, преобразователь частоты), они могут иметь одностороннюю (выпрямитель) или двухстороннюю (мотор-генератор, управляемый выпрямитель с двумя комплектами вентилей) проводимость. В случае односторонней проводимости преобразователя и обратном (от нагрузки) потоке энергии используется дополнительный резистор R для “слива” тормозной энергии.

Электромеханический преобразователь ЭМП (двигатель), всегда присутствующий в электроприводе, преобразует электрическую энергию (U, I) в механическую (М, ) и обратно.

Механический преобразователь (передача) - редуктор, пара винт-гайка, система блоков, кривошипно-шатунный механизм и т.п. осуществляет согласование момента М и скорости двигателя с моментом Мм (усилием Fм) и скоростью wм рабочего органа технологической машины.

Величины, характеризующие преобразуемую энергию, - напряжения, токи, моменты (силы), скорости называют координатами электропривода.

Основная функция электропривода состоит в управлении координатами, т.е. в их принудительном направленном изменении в соответствии с требованиями обслуживаемого технологического процесса.

Управление координатами должно осуществляться в пределах, разрешенных конструкцией элементов электропривода, чем обеспечивается надежность работы системы. Эти допустимые пределы обычно связаны с номинальными значениями координат, назначенными производителями оборудования и обеспечивающими его оптимальное использование.

В правильно организованной системе при управлении координатами (потоком энергии) должны минимизироваться потери Р во всех элементах и к рабочему органу должна подводиться требуемая в данный момент мощность.

Эти вопросы - свойства и характеристики различных электроприводов, как правильно управлять их координатами в установившихся - статических - и переходных - динамических - режимах, как оценивать энергетические свойства и, наконец, как правильно проектировать силовую часть электропривода - будут основным предметом курса.

В курсе практически не будут затрагиваться интересные и непростые задачи, относящиеся к информационным каналам электропривода: мы будем полагать, что современные технические средства смогут обеспечить любые нужные воздействия, и будем акцентировать внимание на том, что должна делать система управления электропривода, а не на том как это может быть практически осуществлено.

Даже беглого взгляда на структуру силовой части электропривода (рис. 1.2) достаточно, чтобы понять, что объект изучения весьма сложен: разнородные элементы - электрические и электронные, электромеханические, механические, совсем непростые процессы, которыми нужно управлять, и т.п. Очевидно, что эффект при изучении предмета - глубокое понимание основных явлений и умение решать простые, но важные для практики задачи - может быть достигнут лишь при выполнении ряда условий.

Во-первых, надо научиться работать с моделями реальных, как правило, очень сложных объектов, т.е. с искусственными простыми объектами, отражающими тем не менее именно те свойства реального объекта, которые изучаются.

Во-вторых, надо стараться использовать лишь хорошие модели, отражающие то, что нужно, и так, как нужно, не избыточные, но и не примитивные. Это совсем не просто, и этому будет уделено значительное внимание.

В-третьих, нужно строго оговаривать условия, при которых получена та или иная модель. Если этого не сделать, результаты могут просто не иметь смысла.

И, наконец, надо уметь выделять главное и отбрасывать второстепенное, частное. Именно глубокое понимание основных принципов, соразмерностей, главных соотношений, закономерностей и умение применять их на практике - основная цель курса.



<== предыдущая лекция | следующая лекция ==>
Параметры силовых трансформаторов. | 


Карта сайта Карта сайта укр


Уроки php mysql Программирование

Онлайн система счисления Калькулятор онлайн обычный Инженерный калькулятор онлайн Замена русских букв на английские для вебмастеров Замена русских букв на английские

Аппаратное и программное обеспечение Графика и компьютерная сфера Интегрированная геоинформационная система Интернет Компьютер Комплектующие компьютера Лекции Методы и средства измерений неэлектрических величин Обслуживание компьютерных и периферийных устройств Операционные системы Параллельное программирование Проектирование электронных средств Периферийные устройства Полезные ресурсы для программистов Программы для программистов Статьи для программистов Cтруктура и организация данных


 


Не нашли то, что искали? Google вам в помощь!

 
 

© life-prog.ru При использовании материалов прямая ссылка на сайт обязательна.

Генерация страницы за: 1.726 сек.